GM Service Manual Online
For 1990-2009 cars only

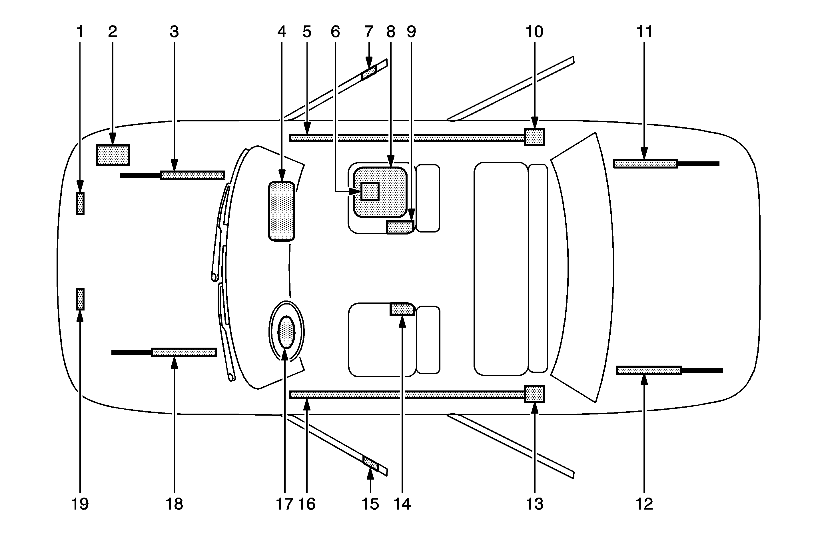
The SIR Identification Views shown below illustrate the approximate location of all SIR components available for the vehicle. This will assist in determining the appropriate SIR Disabling and Enabling for a given service procedure, refer to SIR Disabling and Enabling .

LaCrosse


Object Number: 1461599  Size: MF
(1)Right Front End Sensor-Located on the front of the vehicle in the engine compartment
(2)Vehicle Battery-Located under the hood on the right side
(3)Front Hood Assist Rod-A gas shock located under the front hood on the passenger side
(4)I/P Air Bag-Located at the top right under the instrument panel
(5)Right Roof Rail Air Bag-Located under the headliner, extending from the passenger front windshield pillar to the passenger rear windshield pillar
(6)Sensing and Diagnostic Module (SDM)-Located underneath the passenger front seat
(7)Side Impact Sensor (SIS)-Located on passenger door under door trim panel
(8)Passenger Presence System (PPS)-Located on the passenger front seat underneath the seat bottom trim
(9)Seat Belt Pretensioner-Located on the inboard side of the passenger front seat
(10)Inflator Module for Right Roof Rail Air Bag-Located above door opening near rear pillar on passenger side
(11)Rear Compartment Lid Assist Rod-A gas shock is located under the rear trunk lid on the passenger side
(12)Rear Compartment Lid Assist Rod-A gas shock is located under the rear trunk lid on the driver side
(13)Inflator Module for Left Roof Rail Air Bag-Located above door opening near rear pillar on driver side
(14)Seat Belt Pretensioner-Located on the inboard side of the driver seat
(15)Side Impact Sensor (SIS)-Located on driver door under door trim panel
(16)Left Roof Rail Air Bag-Located under the headliner, extending from the driver front windshield pillar to the driver rear windshield pillar
(17)Steering Wheel Air Bag-Located on the steering wheel
(18)Front Hood Assist Rod-A gas shock located under the front hood on the driver side
(19)Left Front End Sensor-Located on the front of the vehicle in the engine compartment