GM Service Manual Online
For 1990-2009 cars only
Makes
🢒
Buick
🢒
2007
🢒
Allure
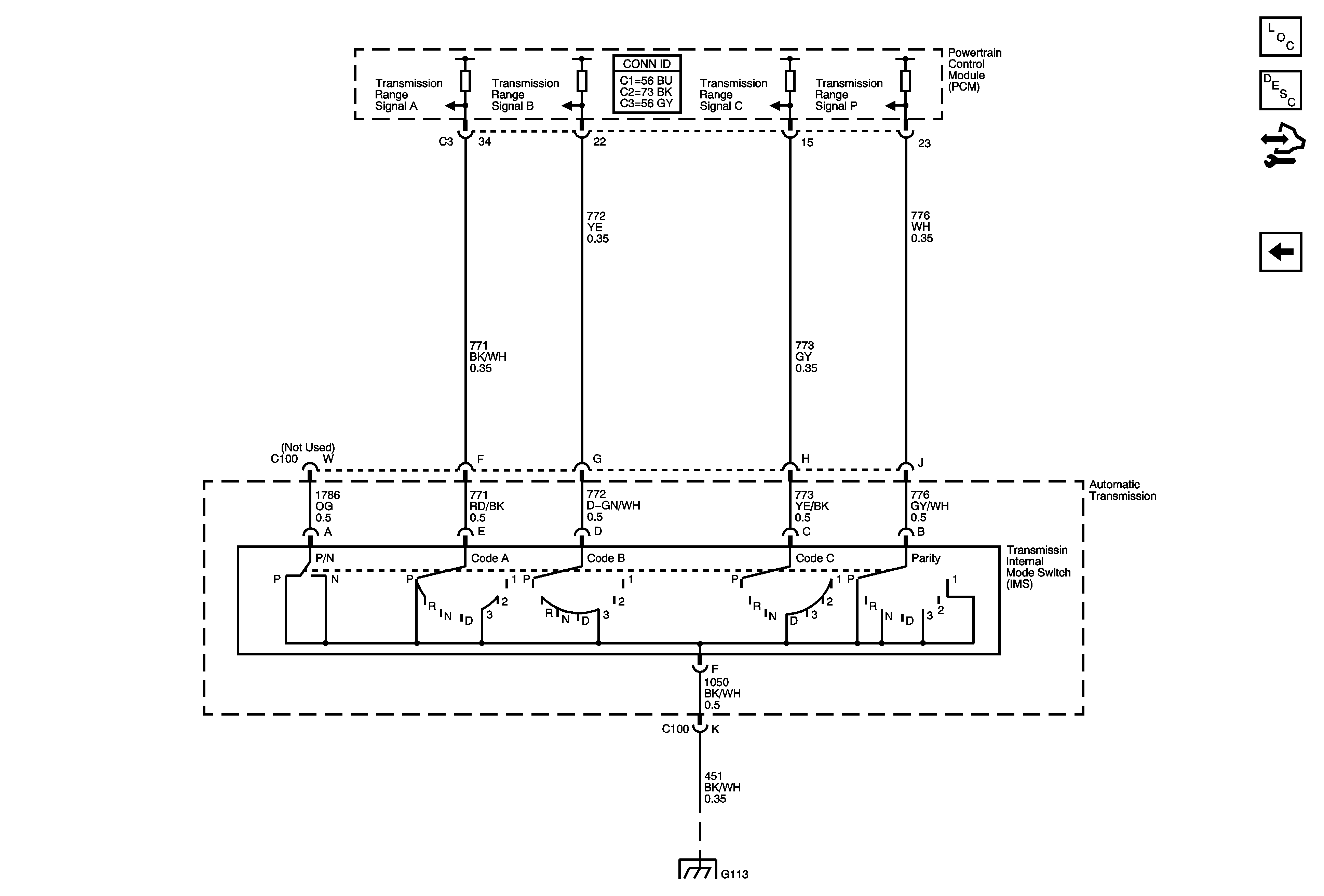
🢒 Internal Mode Switch (L26)
Internal Mode Switch (L26)
Internal Mode Switch (L26)
Master Electrical Component List
Transmission Component and System Description
Control Module References
PC Solenoid Valve, Fluid Pressure Manual Valve Position Switch, ISS and VSS Sensors (L26)
G101, G102, G103, G111, G112, and G113