The purpose of this bulletin is to offer suggested repair procedures for conditions affecting the performance of the horn pad. The following is a listing of conditions and repair procedures:
1. Hard to blow. See Service Bulletin 82-T-61.
2. Broken plastic fastener (See Figure 1). If one or more of these fasteners are not retaining the metal plate, the following procedure will correct the condition. In the following operations, care must be taken to avoid drilling completely through pad.
a. Drill a pilot hole not more than 1/4" (6mm) using drill block to prevent drilling too deep. (See Figure 1).
b. Install and Loc-tite a #6 screws, 1/4" (6mm) long for retention.
3. Broken or stripped plastic studs for the two (2) mounting screws. (Should be for standard, custom and deluxe pads).
a. Remove broken pleces of plastic retainer, if any, and discard.
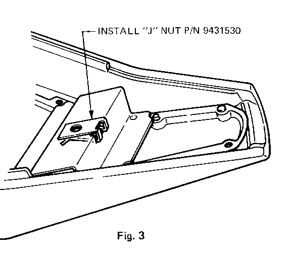
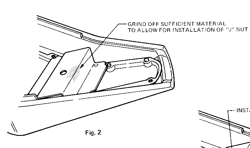
b. Using a suitable eye protection, grind off sufficient material at edge of metal plate adjacent to screw access hole to allow for installation of a "J" nut, part number 9431530 (See Figures 2 and 3).
WARRANTY INFORMATION
LABOR OPERATION NUMBER T5058
LABOR TIME - STEP 2 0.3 HRS. STEP 3 0.2 HRS.
TROUBLE CODE 92
General Motors bulletins are intended for use by professional technicians, not a "do-it-yourselfer". They are written to inform those technicians of conditions that may occur on some vehicles, or to provide information that could assist in the proper service of a vehicle. Properly trained technicians have the equipment, tools, safety instructions and know-how to do a job properly and safely. If a condition is described, do not assume that the bulletin applies to your vehicle, or that your vehicle will have that condition. See a General Motors dealer servicing your brand of General Motors vehicle for information on whether your vehicle may benefit from the information.