GM Service Manual Online
For 1990-2009 cars only
Makes
🢒
Buick
🢒
1996
🢒
Century
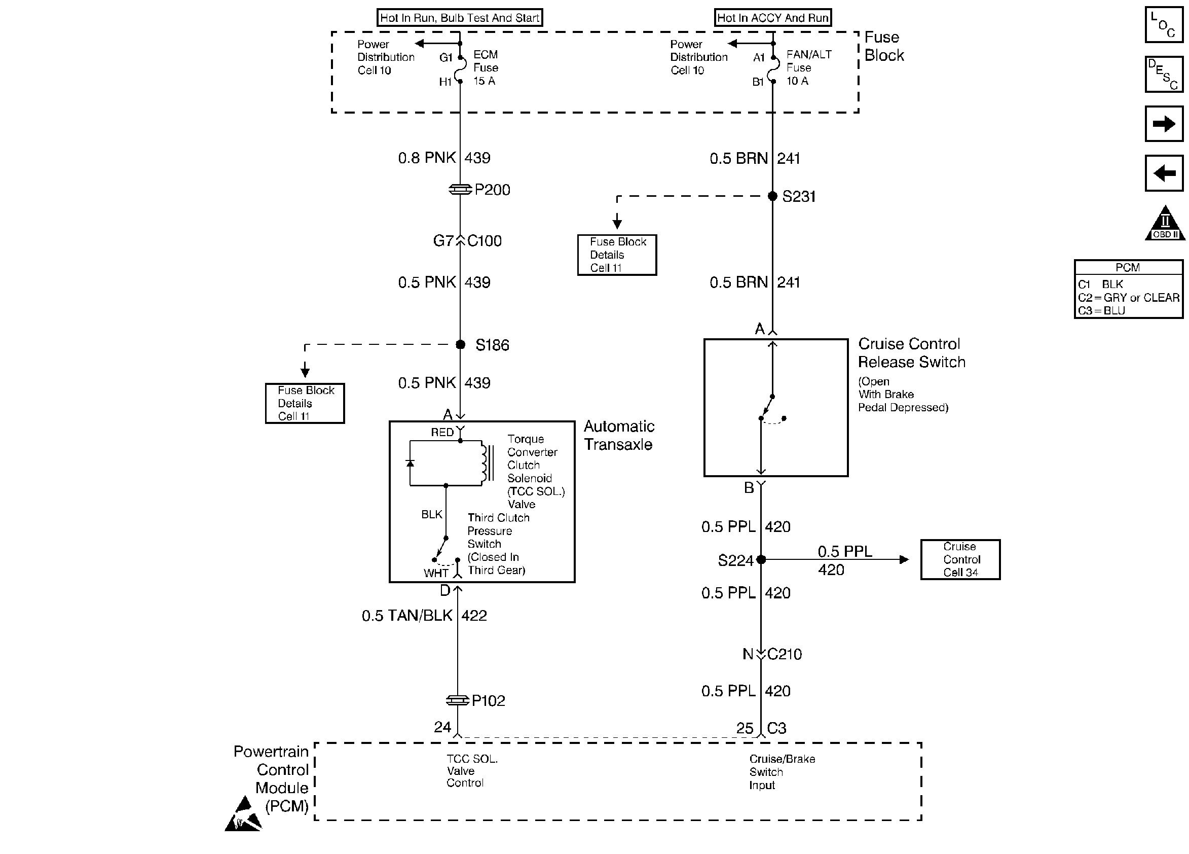
🢒 Transaxle and Cruise Control Switches
Transaxle and Cruise Control Switches
Transaxle and Cruise Control Switches
Engine Controls Components
Powertrain Control Module (PCM) General Description
A/C Controls
VSS and Cruise Control
OBD II Symbol Description Notice
Handling ESD Sensitive Parts Notice