GM Service Manual Online
For 1990-2009 cars only

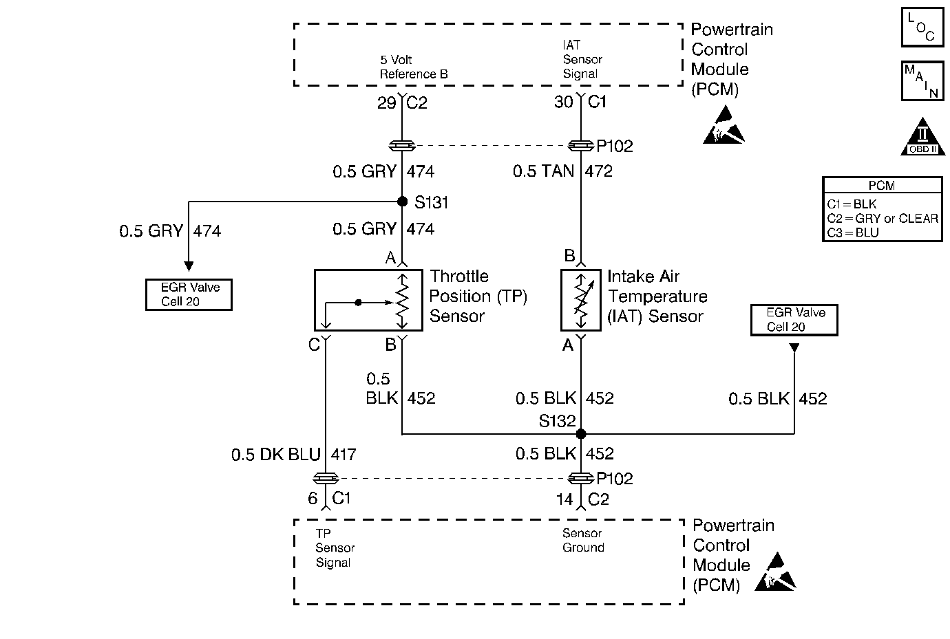
Object Number: 34214  Size: MF
Engine Controls Components
Engine Data Sensors
OBD II Symbol Description Notice
Handling ESD Sensitive Parts Notice
Handling ESD Sensitive Parts Notice

Circuit Description

The intake air temperature (IAT) sensor uses a thermistor to control the signal voltage to the Powertrain Control Module (PCM). The PCM supplies a 5 volt reference and a ground to the sensor. When the air is cold the resistance is high, therefore the IAT signal voltage will be high. If the intake air is warm, resistance is low, therefore the IAT signal voltage will be low.

Conditions for Setting the DTC

    • Engine run time is greater than 320 seconds.
    • Vehicle speed is less than 15 mph (24 km/h).
    • IAT is less than -40°C (-40°F).

Action Taken When the DTC Sets

    • The Malfunction Indicator Lamp (MIL) will illuminate.
    • The PCM will record operating conditions at the time the diagnostic fails. This information will be stored in the Freeze Frame and Failure Records buffers.
    • A history DTC is stored.
    • Coolant fan turns ON.
    • The PCM will default to 60°C (140°F) for intake air temperature. The scan tool will not the show the defaulted value.

Conditions for Clearing the MIL/DTC

    • The MIL will turn OFF after three consecutive ignition cycles in which the diagnostic runs without a fault.
    • A history DTC will clear after 40 consecutive warm-up cycles without a fault.
    • The MIL/DTCs can be cleared by using the scan tool.

Diagnostic Aids

    • If the vehicle is at ambient temperature compare the IAT sensor to the ECT sensor. The IAT sensor and the ECT sensor should be relatively close to each other.
    • Use the Temperature vs. Resistance Values table, refer to Temperature vs Resistance to evaluate the possibility of a skewed sensor.
    • DTCs P0113 and P0121 set together indicate an open CKT 452.

Test Description

Number(s) below refer to the step number(s) on the Diagnostic Table.

  1. The Powertrain OBD System Check prompts the technician to complete some basic checks and store the freeze frame and failure records data on the scan tool if applicable. This creates an electronic copy of the data taken when the fault occurred. The information is then stored in the scan tool for later reference.

  2. This step simulates a DTC P0112. If the PCM senses the change, the PCM and wiring are OK.

  3. This step will determine if the reason the PCM did not sense the change was due to a open ground or signal circuit or faulty PCM.

  4. Replacement PCM's must be reprogrammed. Refer to the latest Techline information for programming procedures.

DTC P0113-Intake Air Temperature (IAT) Circuit-High Voltage

Step

Action

Value(s)

Yes

No

1

Was the Powertrain On-Board Diagnostic (OBD) System Check performed?

--

Go to Step 2

Go to Powertrain On Board Diagnostic (OBD) System Check

2

  1. Turn the ignition switch ON, with the engine OFF.
  2. Install a scan tool.

Is the IAT sensor value less than the specified value?

-30°C (-22°F)

Go to Step 4

Go to Step 3

3

  1. Turn the ignition switch ON, with the engine OFF, review the Freeze Frame data and note the parameters.
  2. Operate the vehicle within the conditions and Conditions For Setting The DTC as noted.

Is the IAT sensor value less than the specified value?

-30°C (-22°F)

Go to Step 4

Go to Diagnostic Aids

4

  1. Disconnect the IAT sensor electrical connector.
  2. Jumper the IAT sensor signal circuit and the IAT sensor ground circuit together at the IAT sensor electrical connector.

Is the IAT sensor value greater than the specified value?

130°C (266°F)

Go to Step 6

Go to Step 5

5

Jumper the IAT sensor signal circuit to ground.

Is the IAT sensor value greater than the specified value?

130°C (266°F)

Go to Step 7

Go to Step 8

6

Check for a poor connections at the IAT sensor electrical connector and replace any faulty terminals if necessary.

Was a repair necessary?

--

Go to Step 12

Go to Step 10

7

Check the IAT sensor ground circuit for an open and repair as necessary.

Was a repair necessary?

--

Go to Step 12

Go to Step 9

8

Check the IAT sensor signal circuit for an open and repair as necessary.

Was a repair necessary?

--

Go to Step 12

Go to Step 9

9

Check for a poor IAT sensor ground or a poor IAT sensor signal circuit terminal connection at the PCM and repair if necessary.

Was a repair necessary?

--

Go to Step 12

Go to Step 11

10

Replace the IAT sensor.

Is the action complete?

--

Go to Step 12

--

11

Replace the PCM.

Is the action complete?

--

Go to Step 12

--

12

  1. Using the scan tool, clear the DTC's.
  2. Start the engine and idle at normal operating temperature.
  3. Operate the vehicle within the conditions for setting this DTC as specified in the supporting text.

Does the scan tool indicate that this diagnostic has ran and passed?

--

Go to Step 13

Go to Step 2

13

Check if any additional DTC's are set.

Are any DTC's displayed that have not been diagnosed?

--

Go to applicable DTC table

System OK