GM Service Manual Online
For 1990-2009 cars only

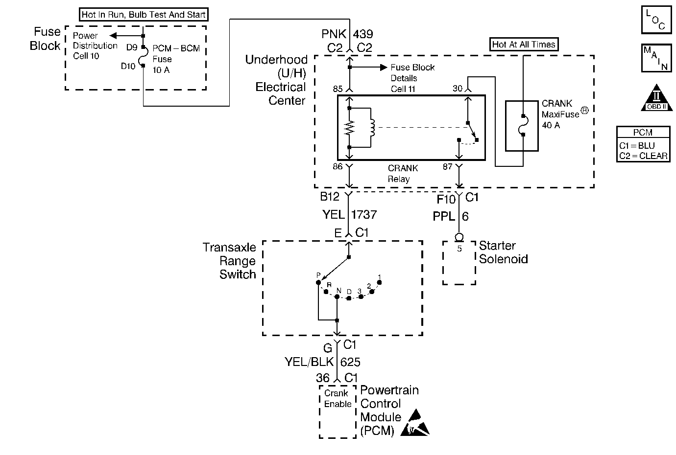
Object Number: 144056  Size: LF
Engine Controls Components
Transaxle Range Switch
OBD II Symbol Description Notice
Handling ESD Sensitive Parts Notice

Circuit Description

The PCM has the ability to disable starter operation if conditions inappropriate for starter operation exist. The PCM disables the starter if the engine is running, if a correct theft deterrent password is not received from the Body Control Module or if the vehicle operator attempts to engage the starter for an extended period of time. If the Body Control Module has been replaced the PCM must perform the Theft Deterrent Re-learn procedure. Refer to BCM Replacement/Programming procedure.

The PCM controlled starter system consists of the following components:

    •  Starter enable relay.
    •  The Transaxle Range / Park Neutral Position switch.
    •  The ignition switch.
    •  The starter solenoid.
    •  The PCM.

Diagnostic Aids

The PCM Controlled Starter Diagnosis table is intended to identify electrical malfunctions that can occur with the system. For additional system diagnosis, refer to Starter and Charging in Electrical Diagnosis. For starter motor diagnosis and on-vehicle service, refer to Cranking System.

Check for the following conditions:

    •  Poor connection at the PCM, the starter enable relay, the Transaxle Range/PNP switch, the ignition switch or the starter solenoid.
         Inspect harness connectors for the following conditions:
       -  Backed out terminals.
       -  Improper mating.
       -  Broken locks.
       -  Improperly formed or damaged terminals.
       -  Poor terminal to wire connection.
    •  Damaged harness.
         Inspect the wiring harness for damage.
    •  Either of the following conditions can cause the PCM to disable starter operation:
       -  Open or shorted circuits to the Ignition Main Relay may cause the vehicle to not start.
       -  The engine has been running for longer than 10 seconds.
       -  The starter has been continuously engaged for longer than 15 seconds.
       -  A correct VTD password has not been received from the Body Control Module.

Test Description

Number(s) below refer to step number(s) in the diagnostic table.

  1. Checks for a short to ground in the relay control circuit (CKT 1737 or CKT 625).

  2. If BCM has been replaced the PCM must perform the Theft Deterrent relearn procedure.

  3. Determines if the circuit is shorted before or after the Transaxle Range switch or the PCM is defective.

  4. Ensures battery voltage is available at cavity 30 of the relay connector.

  5. Ensures battery voltage is available to the relay coil with the ignition switch in the RUN position.

  6. Ensures battery voltage is available to the relay coil with the ignition switch in the CRANK position.

  7. A blown fuse indicates a short to ground in the B+ feed to cavity 30, CKT 6, or the starter solenoid.

  8. A blown fuse indicates a short to ground in the CKT 439, or a shorted starter enable relay coil.

  9. Checks for an open or short to voltage in CKT 1737. A short to voltage in the starter enable relay control circuit will cause a thermal shutdown of the relay driver.

  10. This vehicle is equipped with a PCM which utilizes an Electrically Erasable Read Only Memory (EEPROM) When the PCM is being replaced, the new PCM must be programmed. Refer to Powertrain Control Module Replacement/Programming .

PCM Controlled Starter Diagnosis

Step

Action

Value(s)

Yes

No

1

Was the Powertrain On Board Diagnostic (OBD) System Check performed?

--

Go to Step 2

Go to Powertrain On Board Diagnostic (OBD) System Check

2

Does the vehicle crank/start with the ignition switch in the RUN position?

--

Go to Step 4

Go to Step 3

3

Important: :  If any of the following DTCs are set, diagnose the DTC(s) first:

    •  DTC P1626 Theft Deterrent System Fuel Enable CKT
    •  DTC P1631 Theft Deterrent Password Incorrect

Attempt to start the vehicle

Does the Engine crank?

--

Refer to Diagnostic Aids

Go to Step 6

4

  1. Turn off the ignition switch.
  2. Disconnect the Transaxle Range Switch connector C1.
  3. Turn the ignition switch to the RUN position.

Does the vehicle crank/start with the ignition switch in the RUN position?

--

Go to Step 24

Go to Step 5

5

  1. Leave the Transaxle Range switch connector C1 disconnected.
  2. Disconnect the PCM connector.
  3. Connect a test light to battery positive voltage.
  4. Probe cavity G in the Transaxle Range switch connector.

Is the test light on?

--

Go to Step 25

Go to Step 36

6

  1. Turn off the ignition switch.
  2. Remove the starter enable relay.
  3. Connect the test light to ground.
  4. Turn the ignition switch to the RUN position.
  5. Probe cavity 30 in the starter enable relay connector.

Is the test light on?

--

Go to Step 7

Go to Step 11

7

  1. Leave the ignition switch in the RUN position.
  2. Connect the test light to ground.
  3. Probe cavity 85 in the starter enable relay connector.

Is the test light on?

--

Go to Step 8

Go to Step 15

8

  1. Leave the test light connected between cavity 85 and ground.
  2. Turn the ignition switch to the CRANK position.

Is the test light on?

--

Go to Step 9

Go to Step 32

9

  1. Turn the ignition switch to the RUN position.
  2. Connect the test light to battery positive voltage.
  3. Probe cavity 86.

Is the test light on?

--

Go to Step 10

Go to Step 19

10

  1. Check for poor terminal connection(s) in the starter enable relay connector.
  2. If a problem is found, repair as necessary. Refer to Repair Procedures in Electrical Diagnosis.

Was a problem found?

--

Go toStep 37

Go to Step 33

11

Check the 40 amp maxifuse which feeds cavity 30 in the starter enable relay connector.

Is the fuse blown?

--

Go to Step 12

Go to Step 14

12

  1. Remove the blown fuse.
  2. Connect the test light to battery positive voltage.
  3. Probe cavity 30 in the starter enable relay connector.

Is the test light on?

--

Go to Step 26

Go to Step 13

13

  1. Check for a short to ground in CKT 6.
  2. If a problem is found, repair as necessary. Refer to Repair Procedures in Electrical Diagnosis.

Was a problem found?

--

Go to Step 37

Go to Step 34

14

  1. Check for the following circuit condition(s):
  2. •  Open in the battery positive voltage feed to the 40 amp maxifuse.
    •  Poor terminal connections at the 40 amp maxifuse cavity.
  3. If a problem is found, repair as necessary. Refer to Repair Procedures in Electrical Diagnosis.

Was a problem found?

--

Go to Step 37

Go to Step 27

15

Check the 10 amp fuse which feeds the starter enable relay control circuit.

Is the fuse blown?

--

Go to Step 16

Go to Step 17

16

  1. Remove the blown fuse.
  2. Connect the test light to battery positive voltage.
  3. Probe cavity 85 in the starter enable relay connector.

Is the test light on?

--

Go to Step 28

Go to Step 33

17

Check the 30 amp (Ignition 1) maxifuse which feeds the 10 amp starter enable fuse.

Is the fuse blown?

--

Go to Step 29

Go to Step 18

18

  1. Check for the following circuit condition(s):
  2. •  Poor terminal connections at the 30 amp maxifuse.
    •  Open in the feed circuit to the Ignition switch.
    •  Open in the Ignition switch feed to the 10 amp fuse.
  3. If a problem is found, repair as necessary. Refer to Repair Procedures in Electrical Diagnosis.

Was a problem found?

--

Go to Step 37

Go to Step 32

19

  1. Leave the starter enable relay disconnected.
  2. Disconnect the Transaxle Range switch connector C1.
  3. Connect the test light to ground.
  4. Probe cavity E in the Transaxle Range switch connector C1.

Is the test light on?

--

Go to Step 30

Go to Step 20

20

  1. Leave the Transaxle Range Connector C1 disconnected.
  2. Connect a 10 amp fused jumper between cavities 85 and 86 in the starter enable relay connector.
  3. Turn the Ignition switch to the RUN position.
  4. Connect the test light to ground.
  5. Probe cavity E in the Transaxle Range connector C1.

Is the test light on?

--

Go to Step 21

Go to Step 31

21

  1. Leave the Transaxle Range connector C1 disconnected.
  2. Turn the Ignition switch to the RUN position.
  3. Connect the test light to battery positive voltage.
  4. Probe cavity G in the Transaxle Range connector C1.

Is the test light on?

--

Go to Step 22

Go to Step 23

22

  1. Check for poor terminal connections in the Transaxle Range connector C1.
  2. If a problem is found, repair as necessary. Refer to Repair Procedures in Electrical Diagnosis.

Was a problem found?

--

Go to Step 37

Go to Step 35

23

  1. Check for the following circuit condition(s):
  2. •  Open or short to voltage in CKT 625.
    •  Poor terminal connections at the PCM.
  3. If a problem is found, repair as necessary. Refer to Repair Procedures in Electrical Diagnosis.

Was a problem found?

--

Go to Step 37

Go to Step 36

24

Locate and repair short to ground in CKT 1737. Refer to Repair Procedures in Electrical Diagnosis.

Is the action complete?

--

Go to Step 37

--

25

Locate and repair the short to ground in CKT 625. Refer to Repair Procedures in Electrical Diagnosis.

Is the action complete?

--

Go to Step 37

--

26

Locate and repair the short to ground in the battery positive voltage feed to cavity 30 in the starter enable relay connector. Refer to Repair Procedures in Electrical Diagnosis.

Is the action complete?

--

Go to Step 37

--

27

Locate and repair the open in the battery positive voltage feed to cavity 30 in the starter enable relay connector. Refer to Repair Procedures in Electrical Diagnosis.

Is the action complete?

--

Go to Step 37

--

28

Locate and repair the following circuit condition(s):

  1. Short to ground in CKT 439.
  2. Shorted ignition main relay coil. Refer to Repair Procedures in Electrical Diagnosis.

Is the action complete?

--

Go to Step 37

--

29

Locate and repair the short to ground in the feed circuit to the 10 amp fuse. Refer to Repair Procedures in Electrical Diagnosis.

Is the action complete?

--

Go to Step 37

--

30

Locate and repair the short to B+ in CKT 1737. Refer to Repair Procedures in Electrical Diagnosis.

Is the action complete?

--

Go to Step 37

--

31

Locate and repair the open in CKT 1737. Refer to Repair Procedures in Electrical Diagnosis.

Is the action complete?

--

Go to Step 37

--

32

Replace the Ignition switch. Refer to Steering Wheel and Column On-Vehicle Service.

Is the action complete?

--

Go to Step 37

--

33

Replace the starter enable relay.

Is the action complete?

--

Go to Step 37

--

34

Service the starter. Refer to Starting Systems.

Is the action complete?

--

Go to Step 37

--

35

Replace the Transaxle Range Switch. Refer to Automatic Transaxle On-Vehicle Serivce.

Is the action complete?

--

Go to Step 37

--

36

Replace the PCM.

Important: :  The replacement PCM must be programmed. Refer to Powertrain Control Module Replacement/Programming .

Is the action complete?

--

Go to Step 37

--

37

Attempt to start the vehicle.

Does the engine crank?

--

System OK

Go to Step 6