GM Service Manual Online
For 1990-2009 cars only

GLOVE BOX LIGHT SWITCH LOOSE/BROKEN/MOUNTING

SUBJECT: GLOVE BOX LIGHT SWITCH LOOSE/BROKEN MOUNTING AREA ON I/P (INSTALL I/P COMPARTMENT BRACKET)

MODELS: 1997 BUICK CENTURY, REGAL

CONDITION:

SOME OWNERS MAY COMMENT ON A LOOSE GLOVE BOX LIGHT SWITCH WITH A BROKEN MOUNTING AREA ON THE INSTRUMENT PANEL.

CORRECTION:

REPAIR THE BROKEN INSTRUMENT PANEL AREA USING A NEW INSTRUMENT PANEL COMPARTMENT BRACKET, P/N 10409456. USE THE FOLLOWING REPAIR PROCEDURE.

PROCEDURE -

1. REMOVE THE INSTRUMENT CLUSTER TRIM PLATE AS DESCRIBED IN SECTION 8C OF THE SERVICE MANUAL.

O ON REGAL MODELS, IT WILL BE NECESSARY TO LOOSEN THE CENTER CONSOLE AND REPOSITION REARWARD TO REMOVE THE TRIM PLATE.

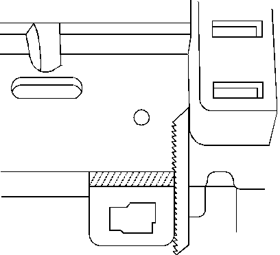
2. USING A PORTION OF A HACKSAW BLADE (OR OTHER SUITABLE TOOL), CUT OFF THE BROKEN PORTION OF THE INSTRUMENT PANEL AS SHOWN IN FIGURES 1 AND 2.

O AFTER CUTTING, SMOOTH THE SURFACE WITH A FILE IF NECESSARY.

3. REMOVE THE ATTACHING SCREW FROM THE INSTRUMENT PANEL.

4. POSITION THE NEW INSTRUMENT PANEL COMPARTMENT BRACKET, P/N 10409456, AND FASTEN TO THE PANEL USING THE PREVIOUSLY REMOVED SCREW. SEE FIGURES 3 AND 4.

5. TORQUE THE SCREW TO 5.0 N.M (44 LB IN).

6. REINSTALL THE GLOVE BOX LIGHT TO THE NEW BRACKET.

7. REINSTALL THE CLUSTER TRIM PLATE (AND CONSOLE, IF SO EQUIPPED).

PARTS INFORMATION:

PARTS ARE EXPECTED TO BE AVAILABLE SEPTEMBER 1, 1997.

WARRANTY INFORMATION:

FOR VEHICLES REPAIRED UNDER WARRANTY, USE:

LABOR OPERATION NUMBER: C2540 LABOR OPERATION TIME: 0.3 HR (CENTURY) 0.5 HR (REGAL)

FIGURES: 04 ATTACHMENTS: 00

FIGURE 1 - HORIZONTAL CUT FIGURE 2 - VERTICAL CUT FIGURE 3 - NEW BRACKET FIGURE 4 - BRACKET INSTALLED


Object Number: 169955  Size: SH


Object Number: 169956  Size: SH


Object Number: 169957  Size: SH


Object Number: 169958  Size: MF

GENERAL MOTORS BULLETINS ARE INTENDED FOR USE BY PROFESSIONAL TECHNICIANS, NOT A "DO-IT-YOURSELFER". THEY ARE WRITTEN TO INFORM THOSE TECHNICIANS OF CONDITIONS THAT MAY OCCUR ON SOME VEHICLES, OR TO PROVIDE INFORMATION THAT COULD ASSIST IN THE PROPER SERVICE OF A VEHICLE. PROPERLY TRAINED TECHNICIANS HAVE THE EQUIPMENT, TOOLS, SAFETY INSTRUCTIONS AND KNOW-HOW TO DO A JOB PROPERLY AND SAFELY. IF A CONDITION IS DESCRIBED, DO NOT ASSUME THAT THE BULLETIN APPLIES TO YOUR VEHICLE, OR THAT YOUR VEHICLE WILL HAVE THAT CONDITION. SEE A GENERAL MOTORS DEALER SERVICING YOUR BRAND OF GENERAL MOTORS VEHICLE FOR INFORMATION ON WHETHER YOUR VEHICLE MAY BENEFIT FROM THE INFORMATION.

COPYRIGHT 1997 GENERAL MOTORS CORPORATION. ALL RIGHTS RESERVED.