GM Service Manual Online
For 1990-2009 cars only

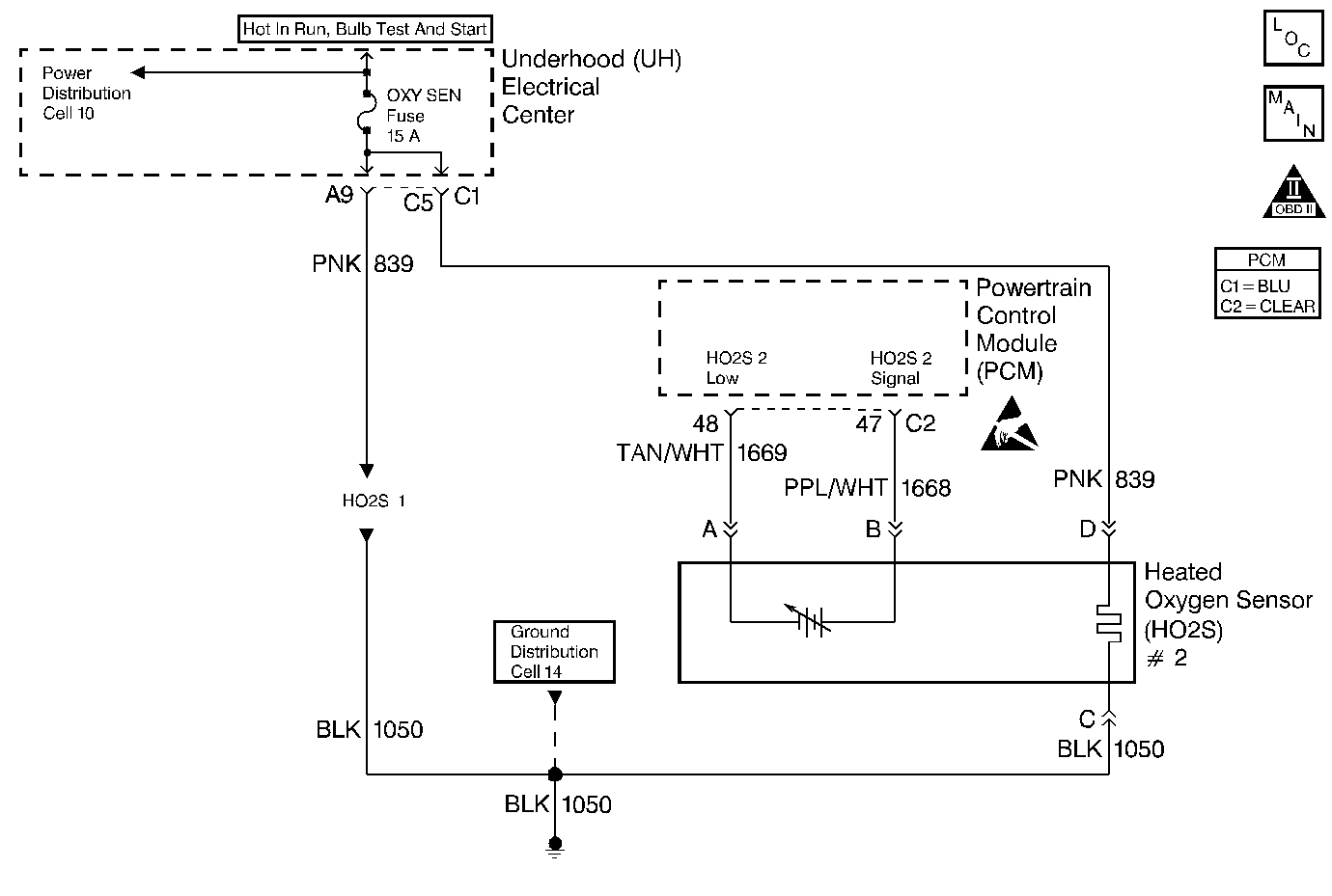
Object Number: 106280  Size: MF
Engine Controls Components Component Locations
Engine Data Sensors-HO2S #1, HO2S #2
OBD II Symbol Description Notice

Circuit Description

To control emissions of Hydrocarbons (HC), Carbon Monoxide (CO), and Oxides of Nitrogen (NOx), a three-way catalytic converter is used. The catalyst within the converter promotes a chemical reaction which oxidizes the HC and CO present in the exhaust gas, converting them into harmless water vapor and carbon dioxide. The catalyst also reduces NOx, converting it to nitrogen. The PCM has the ability to monitor this process using the HO2S 1 and the HO2S 2 heated oxygen sensors. The HO2S 1 sensor produces an output signal which indicates the amount of oxygen present in the exhaust gas entering the three-way catalytic converter. The HO2S 2 sensor produces an output signal which indicates the oxygen storage capacity of the catalyst; this in turn indicates the catalyst's ability to convert exhaust gases efficiently. If the catalyst is operating efficiently, the HO2S 1 signal will be far more active than that produced by the HO2S 2 sensor. If the HO2S 2 signal voltage remains excessively low for an extended period of time, DTC P0137 will be set.

Conditions for Setting the DTC

    • No TP sensor, EVAP system, misfire, IAT sensor, MAP sensor, fuel trim, fuel injector circuit, EGR Pintle Position, ECT sensor, CKP sensor, or MAF sensor DTC(s) present.
    • Closed loop commanded air/fuel ratio is between 14.5 and 14.8
    • Throttle angle is between 3% and 40%.
    • HO2S 2 signal voltage remains below 10 mV during normal closed loop operation.

OR

    • HO2S 2 signal voltage remains below 600 mV during power enrichment mode fuel control operation
    • Either condition for up to 8 minutes.

Action Taken When the DTC Sets

    • The PCM will illuminate the MIL during the second consecutive trip in which the diagnostic test has been run and failed.
    • The PCM will store conditions which were present when the DTC set as Freeze Frame and Fail Records data.

Conditions for Clearing the MIL/DTC

    • The PCM will turn the MIL OFF during the third consecutive trip in which the diagnostic has been run and passed.
    • The history DTC will clear after 40 consecutive warm-up cycles have occurred without a malfunction.
    • The DTC can be cleared by using the scan tool Clear Info function or by disconnecting the PCM battery feed.

Diagnostic Aids

Check for the following conditions

    • Heated oxygen sensor wiring: The sensor pigtail may be mispositioned and contacting the exhaust system.
    • Poor PCM to engine grounds: Refer to Ground Distribution in Electrical Diagnosis.
    • Fuel pressure. A condition which causes a lean exhaust can cause DTC P0137 to set. The system will go lean if pressure is too low. The PCM can compensate for some decrease. However, if fuel pressure is too low, a DTC P0137 may be set.
    • Fuel injector(s): Refer to Fuel Injector Solenoid Coil Test or Fuel Injector Solenoid Coil Test .
    • Vacuum leaks: Check for the following conditions:
       - Disconnected or damaged vacuum hoses.
       -  Refer to Emission Hose Routing Diagram .
       - Incorrectly installed or malfunctioning crankcase ventilation valve.
   • Refer to Positive Crankcase Ventilation Valve . (VIN 1)
   • Refer to Positive Crankcase Ventilation Valve . (VIN K)
       - Vacuum leaks at the throttle body, EGR valve, and intake manifold mounting surfaces.
    • Exhaust leaks: An exhaust leak may cause outside air to be pulled into the exhaust gas stream past the HO2S, causing the DTC P0137 to set. Check for exhaust leaks near the HO2S 2 sensor.
    • MAF sensor. Disconnect the MAF sensor and see if the condition is corrected. If so, replace MAF sensor. Refer to Mass Airflow Sensor Replacement .
    • Fuel contamination: Water, even in small amounts, can be delivered to the fuel injectors. The water can cause a lean exhaust to be indicated. Excessive alcohol in the fuel can also cause this condition. Refer to Alcohol/Contaminants-in-Fuel Test .

Test Description

Number(s) below refer to the step number(s) on the Diagnostic Table.

  1. DTC P0137 failing during power enrichment operation (TP angle above 60%) may indicate a condition described in Diagnostic Aids. If the DTC P0137 test passes while the Fail Records conditions are being duplicated, an intermittent condition is indicated. Reviewing the Fail Records vehicle mileage since the diagnostic test last failed may help determine how often the condition that caused the DTC to be set occurs. This may assist in diagnosing the condition.

  2. This vehicle is equipped with a PCM which utilizes an Electrically Erasable Programmable Read Only Memory (EEPROM). When the PCM is being replaced, the new PCM must be programmed.

DTC P0137 - HO2S Circuit Low Voltage Sensor 2

Step

Action

Value(s)

Yes

No

1

Was the Powertrain On-Board Diagnostic (OBD) System Check performed?

--

Go to Step 2

Go to Powertrain On Board Diagnostic (OBD) System Check

2

  1. Engine at operating temperature, operate vehicle within parameters specified under DTC P0137 Conditions For Setting DTC.
  2. Monitor HO2S 2 voltage display on the scan tool HO2S data list.

Does the HO2S 2 voltage remain at less than the specified value?

10 mV

Go to Step 4

Go to Step 3

3

  1. Turn ON the ignition switch.
  2. Review and record scan tool Fail Records data.
  3. Operate vehicle within Fail Records conditions as noted.
  4. Using a scan tool, monitor Specific DTC info for DTC P0137 until the DTC P0137 test runs.

Does scan tool indicate DTC P0137 failed this ignition?

--

Go to Step 4

Go to Diagnostic Aids.

4

Disconnect HO2S 2 and jumper the HO2S 2 low circuit (PCM side) to ground.

Does scan tool indicate HO2S 2 voltage near the specified value?

450 mV

Go to Diagnostic Aids

Go to Step 5

5

Turn off the ignition, disconnect the PCM, and check the HO2S 2 signal circuit for a short to ground or a short to the sensor ground circuit.

Is the HO2S 2 signal circuit shorted?

--

Go to Step 6

Go to Step 7

6

Repair the HO2S 2 signal circuit. Refer to Heated Oxygen Sensor (O2S) Repair in Electrical Diagnosis.

Is action complete?

--

Go to Step 8

--

7

Replace the PCM.

Important:: The replacement PCM must be programmed. Refer to Powertrain Control Module Replacement/Programming .

Is action complete?

--

Go to Step 8

--

8

  1. Turn ON the ignition switch.
  2. Review and record scan tool Fail Records data.
  3. Clear DTCs
  4. Operate the vehicle within Fail Records conditions as noted.
  5. Using a scan tool, monitor Specfic DTC info for DTC P0137 until the DTC P0137 test runs

Does the scan tool indicate DTC P0137 failed this ignition?

--

Go to Step 2

System OK