GM Service Manual Online
For 1990-2009 cars only

Object Number: 194971  Size: SF

Caution: Avoid breathing the A/C Refrigerant 134a (R-134a) and the lubricant vapor or the mist. Exposure may irritate the eyes, nose, and throat. Work in a well ventilated area. In order to remove R-134a from the A/C system, use service equipment that is certified to meet the requirements of SAE J 2210 (R-134a recycling equipment). If an accidental system discharge occurs, ventilate the work area before continuing service. Additional health and safety information may be obtained from the refrigerant and lubricant manufacturers.

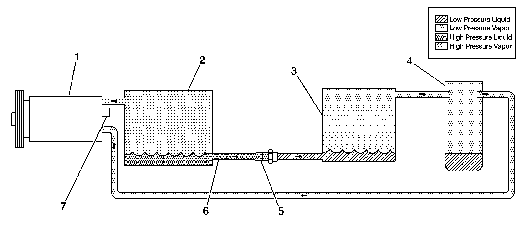
Similar in function to the engine coolant, the refrigerant is the medium within the A/C system that absorbs, carries, and releases heat. This vehicle uses Refrigerant-134a (R-134a), a non-toxic, non-flammable, clear, colorless, and liquefied gas.

While the R-134a A/C system is very similar to an R-12 A/C system, the differences in the lubricants and in the service equipment are important. R-134a carries a charge of a special lubricating oil, Poly-Alkylene Glycol (PAG) refrigerant oil. The GM PAG refrigerant oil has a slight blue tint. The oil is hydroscopic (water-absorbing) and required storage in a closed container.

Use only PAG synthetic refrigerant oil for internal circulation through the R-134a A/C system; use only mineral-based 525 viscosity refrigerant oil on the fitted threads and the O-rings. Use of any other lubricant may cause compressor or fitting failure.

Notice:  R-134a refrigerant is not compatible with R-12 refrigerant in an air conditioning system. R-12 in an R-134a system will cause compressor failure, refrigerant oil sludge, or poor air conditioning system performance. Refrigerant-134a carries a charge of special lubricating oil, polyalkylene glycol (PAG) synthetic refrigerant oil. GM PAG refrigerant oil will have a slight blue tint. The oil is hydroscopic (absorbs water from the atmosphere) and should be stored in closed containers. Use only polyalkylene glycol (PAG) synthetic refrigerant oil for internal circulation through the R-134a A/C system and only mineral base 525 viscosity refrigerant oil on fittings threads and O-rings. If lubricants other than those specified are used, compressor failure and/or fitting seizure is likely to occur.