DTC C1278 identifies a brake solenoid valve that cannot be energized. The malfunction may be caused by one of the following conditions:
| • | An open in the solenoid valve circuitry |
| • | The solenoid valve is always energized due to a short to ground in the solenoid valve circuitry between the driver and the brake solenoid valve. |
An open will not allow proper ABS operation, but the short to ground simply turns on the brake solenoid valve. A path for base brakes is still allowed once the motor rehomes and the check ball is lifted off its seat during key to RUN initialization.
DTC C1278 can set only when the solenoid is commanded off while the Electronic Brake Control Relay is enabled.
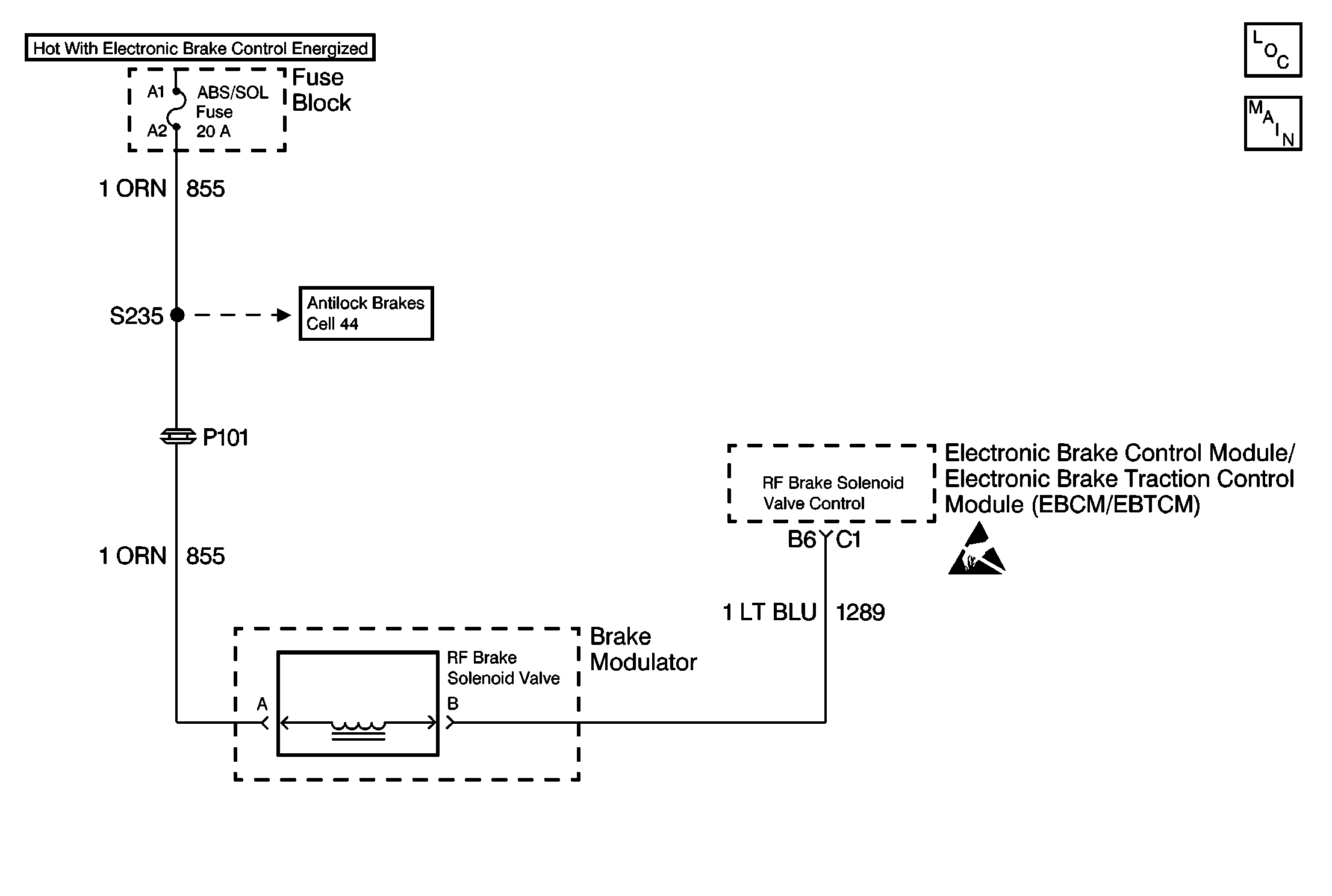
A malfunction exists if the EBCM/EBTCM detects the right front brake solenoid valve control circuit voltage is not within specifications.
| • | A malfunction DTC stores. |
| • | The ABS/ETS/TCS disables. |
| • | The amber ABS/ETS/TCS warning indicator(s) turn on. |
| • | The condition responsible for setting the DTC no longer exists and the Scan Tool Clear DTCs function is used. |
| • | 100 drive cycles pass with no DTC(s) detected. |
The following conditions may cause an intermittent malfunction:
| • | A poor connection |
| • | Rubbed-through wire insulation |
| • | A broken wire inside the insulation |
Use the enhanced diagnostic function of the Scan Tool in order to measure the frequency of the malfunction. Refer to the Scan Tool manual for the procedure.
Thoroughly inspect any circuitry that may cause the intermittent complaint for the following conditions:
| • | Backed out terminals |
| • | Improper mating |
| • | Broken locks |
| • | Improperly formed or damaged terminals |
| • | Poor terminal-to-wiring connections |
| • | Physical damage to the wiring harness |
Important: Zero the J 39200 test leads before making any resistance measurements. Refer to the J 39200 user's manual.
Step | Action | Value(s) | Yes | No | ||||||||||||
|---|---|---|---|---|---|---|---|---|---|---|---|---|---|---|---|---|
1 | Was the Diagnostic System Check performed? | -- | Go to Diagnostic System Check | |||||||||||||
2 |
Is the resistance within the specified range? | OL (Infinite) | ||||||||||||||
3 |
Is the resistance within the specified range? | 0.0-2.0 ohms | ||||||||||||||
4 | Use the J 39200 in order to measure the resistance between the right front ABS brake solenoid valve connector terminal A and the right front brake solenoid valve connector terminal B. Is the resistance within the specified range? | 2.0-5.0 ohms | ||||||||||||||
5 | Use a J 39200 in order to measure the resistance between the Electronic Brake Control Relay harness connector terminal A2 and the right front brake solenoid valve connector terminal A. Is the resistance within the specified range? | 0.0-2.0 ohms | ||||||||||||||
6 |
Are terminal corrosion, damaged terminals, or poor terminal contact evident? | -- | ||||||||||||||
7 | Inspect CKT 1289 for damage. Damage may cause a short to ground with all the connectors connected. Is there damage which may cause a short to ground with the connectors connected? | -- | ||||||||||||||
8 |
Do not start the engine. Does DTC C1278 set as a current DTC? | -- | ||||||||||||||
9 |
Is the resistance within the specified range? | 0.0-2.0 ohms | ||||||||||||||
10 | Use the J 39200 in order to measure the resistance between the Electronic Brake Control Relay harness connector terminal A2 and the terminal A1. Is the resistance within the specified range? | 0.0-2.0 ohms | ||||||||||||||
11 | Use the J 39200 in order to measure the resistance between the terminal A2 and the left front brake solenoid valve harness connector terminal A. Is the resistance within the specified range? | 0.0-2.0 ohms | ||||||||||||||
12 |
Is the resistance within the specified range? | OL (Infinite) | ||||||||||||||
13 | Replace the ABS Fuse (20A) with a known good Fuse (20A). Is the replacement complete? | -- | -- | |||||||||||||
14 | Repair the short to ground in CKT 1289. Is the repair complete? | -- | Go to Diagnostic System Check | -- | ||||||||||||
15 | Repair the open or high resistance in CKT 1289. Is the repair complete? | -- | Go to Diagnostic System Check | -- | ||||||||||||
16 | Replace the right front brake solenoid valve. Is the repair complete? | -- | Go to Diagnostic System Check | -- | ||||||||||||
17 | Replace all the terminals and connectors that exhibit the following conditions:
Is the repair complete? | -- | Go to Diagnostic System Check | -- | ||||||||||||
18 | Repair the damage to CKT 1289. Is the repair complete? | -- | Go to Diagnostic System Check | -- | ||||||||||||
19 | Replace the fuse block ABS Fuse (20A). Is the repair complete? | -- | Go to Diagnostic System Check | -- | ||||||||||||
20 | Repair the open or high resistance in CKT 1633. Is the repair complete? | -- | Go to Diagnostic System Check | -- | ||||||||||||
21 | Repair the open or high resistance in CKT 855. Is the repair complete? | -- | Go to Diagnostic System Check | -- | ||||||||||||
22 | Replace the EBCM/EBTCM. Is the repair complete? | -- | Go to Diagnostic System Check | -- | ||||||||||||
23 | The malfunction is intermittent or is not present at this time. Is the repair complete? | -- | Go to Diagnostic Aids | -- |