GM Service Manual Online
For 1990-2009 cars only

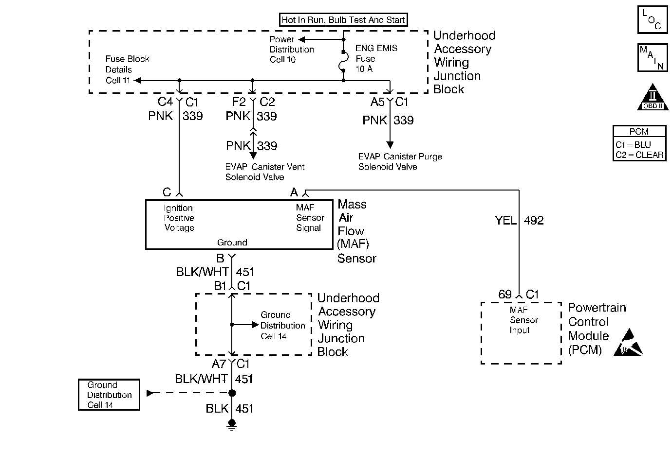
Object Number: 248245  Size: MF
Engine Controls Components
Engine Data Sensors - MAF, EVAP Vent, EVAP Purge, EGR
OBD II Symbol Description Notice
Handling ESD Sensitive Parts Notice

Circuit Description

The Mass Air Flow (MAF) sensor measures the amount of air which passes through it into the engine during a given time. The PCM uses the mass air flow information to monitor engine operating conditions for fuel delivery calculations. A large quantity of air entering the engine indicates an acceleration or high load situation, while a small quantity of air indicates deceleration or idle.

The MAF sensor produces a frequency signal which can be monitored using a scan tool. The frequency will vary within a range of around 2000 Hertz at idle to near 10,000 Hertz at maximum engine load. DTC P0102 will be set if the signal from the MAF sensor is below the possible range of a normally operating MAF sensor.

Conditions for Running the DTC

    •  The engine is running.
    •  Throttle angle below 50%.

Conditions for Setting the DTC

    •  MAF signal frequency is below 1200 Hertz
    •  The condition is present for 12 seconds.

Action Taken When the DTC Sets

    • The PCM will illuminate the MIL during the first trip in which the diagnostic test has been run and failed.
    • The PCM will store conditions which were present when the DTC set as Freeze Frame and Fail Records data.

Conditions for Clearing the MIL/DTC

    • The PCM will turn the MIL OFF during the third consecutive trip in which the diagnostic has been run and passed.
    • The history DTC will clear after 40 consecutive warm-up cycles have occurred without a malfunction.
    • The DTC can be cleared by using the scan tool Clear Info function or by disconnecting the PCM battery feed.

Diagnostic Aids

Check for the following conditions:

    •  Poor connection at PCM. Inspect harness connectors for backed out terminals, improper mating, broken locks, improperly formed or damaged terminals, and poor terminal to wire connection.
    •  Misrouted harness. Inspect the MAF sensor harness to ensure that it is not routed too close to high voltage wires such as spark plug leads.
    •  Damaged harness. Inspect the wiring harness for damage. If the harness appears to be OK, observe the scan tool while moving connectors and wiring harnesses related to the MAF sensor. A change in the display will indicate the location of the fault.
    •  Plugged intake air duct or filter element. A wide open throttle acceleration from a stop should cause the Mass Air Flow displayed on a scan tool to increase from about 4-7 gm/s at idle to 100 gm/s or greater at the time of the 1-2 shift. If not, check for a restriction.

If DTC P0102 cannot be duplicated, the information included in the Fail Records data can be useful in determining vehicle mileage since the DTC was last set.

Test Description

The numbers below refer to the step numbers on the Diagnostic Table:

  1. This step verifies that the problem is present at idle.

  2. A voltage reading of less than 4 or over 6 volts at the MAF sensor signal circuit indicates a fault in the wiring or a poor connection.

  3. Verifies that ignition feed voltage and a good ground are available at the MAF sensor.

  4. This vehicle is equipped with a PCM which utilizes an Electrically Erasable Programmable Read Only Memory (EEPROM). When the PCM is being replaced, the new PCM must be programmed. Refer to Powertrain Control Module Replacement/Programming .

Step

Action

Value(s)

Yes

No

1

Was the Powertrain On Board Diagnostic (OBD) System Check performed?

--

Go to Step 2

Go to Powertrain On Board Diagnostic (OBD) System Check

2

  1. Start the engine.
  2. With the engine idling, monitor MAF FREQUENCY display on the scan tool Eng. 1 data list.

Is the MAF FREQUENCY below the specified value?

1200 Hz (1.2 kHz)

Go to Step 4

Go to Step 3

3

  1. Turn the ignition on, and leave the engine off.
  2. Review and record scan tool Fail Records data
  3. Operate vehicle within Fail Records conditions as noted.
  4. Using a scan tool, monitor Specific DTC info for DTC P0102.

Does scan tool indicate DTC P0102 failed this ignition?

--

Go to Step 4

Go to Diagnostic Aids

4

  1. Check for the following conditions:
  2. •  Objects blocking the MAF sensor inlet screen.
    •  Intake manifold vacuum leaks.
    •  Vacuum leaks at throttle body.
    •  Vacuum leaks at EGR valve flange and pipes.
    •  Crankcase ventilation valve faulty, missing, or incorrectly installed.
  3. If a problem is found, repair as necessary.

Was a problem found?

--

Go to Step 14

Go to Step 5

5

  1. Turn the ignition off.
  2. Disconnect the MAF sensor connector.
  3. Turn the ignition on, and leave the engine off.
  4. Using a DMM, measure voltage between the MAF signal circuit and battery ground.

Is the voltage near the specified value?

5.0V

Go to Step 6

Go to Step 9

6

Connect a test light between the MAF sensor ignition feed and ground circuits at the MAF sensor harness connector.

Is the test light on?

--

Go to Step 8

Go to Step 7

7

Connect a test light between MAF sensor ignition feed circuit and battery ground

Is the test light on?

--

Go to Step 10

Go to Step 11

8

  1. Check for a poor connection at the MAF sensor.
  2. If a poor connection is found, replace faulty terminals. Refer to Connector Repairs in Wiring Systems.

Was a poor connection found?

--

Go to Step 14

Go to Step 12

9

  1. Check the MAF signal circuit between the PCM and the MAF sensor for an open, short to ground, short to the MAF ground circuit, or short to voltage.
  2. If the MAF signal circuit is open or shorted, repair it as necessary. Refer to Wiring Repairs in Wiring Systems.

Was the MAF signal circuit open or shorted?

--

Go to Step 14

Go to Step 13

10

Locate and repair the open in the ground circuit to the MAF sensor. Refer to Wiring Repairs in Wiring Systems.

Is the action complete?

--

Go to Step 14

--

11

Locate and repair the open in the ignition feed circuit to the MAF sensor. Refer to Wiring Repairs in Wiring Systems.

Is the action complete?

--

Go to Step 14

--

12

Replace the MAF sensor. Refer to Mass Airflow Sensor Replacement

Is the action complete?

--

Go to Step 14

--

13

Replace the PCM.

Important: :  Replacement PCM must be programmed Refer to Powertrain Control Module Replacement/Programming .

Is the action complete?

--

Go to Step 14

--

14

  1. Turn the ignition on, and leave the engine off.
  2. Review and record scan tool Fail Records data.
  3. Clear DTCs.
  4. Operate vehicle within Fail Records conditions as noted.
  5. Using a scan tool, monitor Specific DTC info for DTC P0102.

Does scan tool indicate DTC P0102 failed this ignition?

--

Go to Step 2

Repair complete