GM Service Manual Online
For 1990-2009 cars only

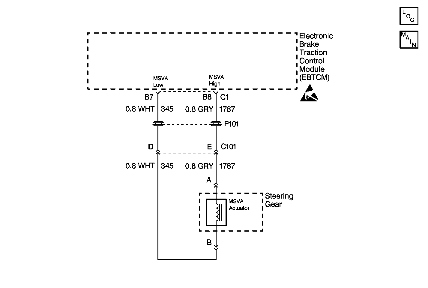
Object Number: 523741  Size: MF
Steering Controls Components
Cell 45: Power and Ground Distribution, Class II, and MSVA Actuator
Handling Electrostatic Discharge Sensitive Parts Notice

Circuit Description

When the Electronic Brake Traction Control Module (EBTCM) commands the electronic brake control relay ON, B+ is supplied through the EBTCM connector C1 terminal B8 to the MAGNASTEER actuator connector terminal A. Ground/control for the MAGNASTEER actuator is provided through the EBTCM connector C1 terminal B7 to MAGNASTEER actuator connector terminal B. The EBTCM controls the amount of current supplied to the MAGNASTEER actuator based on the input from the wheel speed sensors.

Conditions for Setting the DTC

The EBTCM sets DTC C1273 when these conditions are met:

    • The electronic brake control relay is commanded ON.
    • Vehicle speed is above 16 km/h (10 mph) when the MAGNASTEER actuator is commanded ON.
    • Commanded current is greater than 0.5A and the sense current is less than half the command current.
    • The MAGNASTEER actuator control circuit is below 1.7V (B+ expected).

Action Taken When the DTC Sets

    • The EBTCM stores DTC C1273 in memory.
    • The Antilock Brake System (ABS) and Variable Effort Steering (VES) are disabled.
    • The amber ABS warning indicator lamp turns on.
    • The power steering returns to medium assist.

If the malfunction occurs during an ABS event, the ABS disable action is delayed until the ABS event is over.

Conditions for Clearing the DTC

DTC C1273 setting conditions no longer exist when the ignition switch is turned off.

Diagnostic Aids

The following conditions may cause this malfunction to occur:

    • An open or short to ground in circuit 345.
    • An open or short to ground in circuit 1787.
    • A poor connection.
    • Rubbed-through wire insulation.
    • A broken wire inside the insulation.
    • Backed out terminals.
    • Improper mating.
    • Broken locks.
    • Improperly formed or damaged terminals.
    • Poor terminal to wiring connections.
    • Physical damage to the wiring harness.

Ensure that all the ABS DTCs are diagnosed and corrected prior to cleaning VES DTCs. Cleaning the VES DTCs will automatically clear the ABS DTCs resulting in a loss of DTC history data. Refer to Diagnostic System Check in Antilock Brake System for more information.

Use the enhanced diagnostic function of the scan tool in order to measure the frequency of the malfunction. Refer to Enhanced Diagnostics for more information.

Important: Zero the J 39200 digital multimeter (DMM) test leads prior to making any resistance measurements. Refer to J 39200 user's manual.

Clear the DTCs after completing the diagnosis. Test drive the vehicle for three drive cycles in order to verify that the DTC does not reset. Use the following procedure in order to complete one drive cycle:

  1. Start the vehicle.
  2. Drive the vehicle over 16 km/h (10 mph).
  3. Stop the vehicle.
  4. Turn the ignition switch off.

Test Description

The number(s) below refer to the step number(s) on the diagnostic table.

  1. This step checks for proper currect feedback values.

  2. This step checks for an open in circuit 345.

  3. This step checks for a short ground in circuit 345.

  4. This step checks for an open in circuit 1787.

  5. This step checks for a short ground in circuit 1787.

  6. This step checks for a faulty MSVA actuator.

  7. This step checks for a faulty MSVA actuator.

  8. This step determines whether the EBTCM is faulty or the condition is intermittent.

Step

Action

Value(s)

Yes

No

1

Was the ABS Diagnostic System Check performed?

--

Go to Step 2

Go to Diagnostic System Check in Antilock Brake System

2

  1. Turn the ignition switch on.
  2. Using the Scan Tool scan tool, command the Variable Effort Steering (VES) actuator on. Refer to Scan Tool Diagnostics for more information.
  3. Observe the feedback current on the Scan Tool scan tool.

Is the feedback current greater than the value listed?

100 mA

Go to Step 16

Go to Step 3

3

  1. Turn the ignition switch off.
  2. Disconnect the Electronic Brake Traction Control Module (EBTCM) harness connectors.
  3. Disconnect the MSVA actuator connector.
  4. Using a J 39200 digital multimeter (DMM), measure the resistance between the MSVA actuator harness connector terminal B and the EBTCM harness connector C1 terminal B7.

Is the measured resistance within the specified range?

Less than 2ohms

Go to Step 4

Go to Step 10

4

Using a J 39200 DMM, measure the resistance between the EBTCM harness connector C1 terminal B7 and ground.

Is the measured resistance within the specified range?

Go to Step 5

Go to Step 11

5

Using a J 39200 DMM, measure the resistance between the MSVA actuator harness connector terminal A and the EBTCM harness connector C1 terminal B8.

Is the measured resistance within the specified range?

Less than 2ohms

Go to Step 6

Go to Step 12

6

Using a J 39200 DMM, measure the resistance between the EBTCM harness connector C1 terminal B8 and ground.

Is the measured resistance within the specified range?

Go to Step 7

Go to Step 13

7

  1. Reconnect the MSVA actuator connector.
  2. Using a J 39200 DMM, measure the resistance between the EBTCM harness connector C1 terminal B7 and ground.

Is the measured resistance within the specified range?

Go to Step 8

Go to Step 14

8

Using a J 39200 DMM, measure the resistance between the EBTCM harness connector C1 terminal B7 and C1 terminal B8.

Is the measured resistance within the specified range?

7-19ohms

Go to Step 9

Go to Step 14

9

  1. Inspect the EBTCM harness connectors and the MSVA actuator harness connector for poor terminal contact or corrosion. Refer to Intermittents and Poor Connections for more information. Replace any terminals with poor terminal contact or corrosion.
  2. Inspect circuit 345 for damage which may result in a short to ground or an open with all connectors connected. Repair the damage if evident.
  3. Reconnect all the connectors.
  4. Turn the ignition switch on.
  5. Clear Diagnostic Trouble Codes (DTCs) Refer to Clearing DTCs for more information.
  6. Check for DTCs Refer to Displaying Diagnostic Trouble Codes (DTC) for more information.

Is DTC C1273 set as a current DTC?

--

Go to Step 15

Go to Step 16

10

Repair poor connection or open in circuit 345.

Is the repair complete?

--

Go to Step 17

--

11

Repair short to ground in circuit 345.

Is the repair complete?

--

Go to Step 17

--

12

Repair poor connection or open in circuit 1787.

Is the repair complete?

--

Go to Step 17

--

13

Repair short to ground in circuit 1787.

Is the repair complete?

--

Go to Step 17

--

14

Replace the MSVA actuator. Refer to Variable Effort Steering Actuator Replacement for service procedure.

Is the repair complete?

--

Go to Step 17

--

15

Replace the EBTCM. Refer to Electronic Brake and Traction Control Module Replacement in Antilock Brake System.

Is the repair complete?

--

Go to Step 17

--

16

The malfunction is not present at this time. Refer to Diagnostic Aids for additional information regarding this DTC.

Is the action complete?

--

System OK

--

17

  1. Turn the ignition switch off.
  2. Reconnect connectors/components removed.

Is the action complete?

--

Go to Diagnostic System Check in Antilock Brake System

--