GM Service Manual Online
For 1990-2009 cars only

Purpose


Object Number: 63126  Size: SH

The basic Evaporative Emission (EVAP) Control system used on all vehicles is the charcoal canister storage method. This method transfers fuel vapor from the fuel tank to an activated carbon (charcoal) storage device (canister) to hold the vapors when the vehicle is not operating. When the engine is running, the fuel vapor is purged from the carbon element by intake air flow and consumed in the normal combustion process.

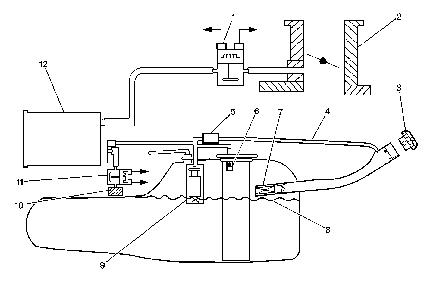
Onboard Refueling Vapor Recovery System


Object Number: 210048  Size: MF
(1)EVAP Canister Purge Solenoid
(2)Throttle Body
(3)Fuel Fill Cap
(4)Vapor Recirculation Line
(5)Variable Orifice Valve
(6)Fuel Tank Pressure Sensor
(7)Fuel Fill Check Valve
(8)Fuel Tank
(9)Shutoff Valve Assembly
(10)EVAP Vent Valve Air Filter
(11)EVAP Vent Solenoid
(12)EVAP Canister

Enhanced EVAP System Operation

The EVAP purge solenoid valve allows manifold vacuum to purge the canister. The Powertrain Control Module (PCM) supplies a ground to energize the EVAP purge solenoid valve (purge on). The EVAP purge solenoid control is Pulse Width Modulated (PWM) or turned on and off several times a second. The PCM controlled PWM output is commanded when the appropriate conditions have been met:

    •  Engine coolant temperature above 25°C (77°F).
    •  After the engine has been running about 3 minutes on a cold start or 20 seconds on a warm start.
    •  The vehicle is operating in closed loop fuel control.

Canister purge PWM duty cycle varies according to operating conditions determined by mass air flow, fuel trim, and intake air temperature. Canister purge will be disabled if TP angle increases to above 45%. Canister purge will be re-enabled when TP angle decreases below 40%.

The evaporative leak detection diagnostic strategy is based on applying vacuum to the EVAP system and monitoring vacuum decay.

The fuel level sensor input to the PCM is used to determine if the fuel level in the tank is correct to run the EVAP diagnostic tests. To ensure sufficient volume in the tank to begin the various diagnostic tests, the fuel level must be between 15% and 85%.

The PCM monitors system vacuum level via the fuel tank pressure sensor input.

OBD II Evaporative Emission System--Fuel Tank Vacuum Sensing General Description (Enhanced EVAP)

The evaporative system includes the following components:

    • Fuel tank
    • Evaporative emission canister vent solenoid
    • Fuel tank pressure sensor
    • Fuel pipes and hoses
    • Vapor lines
    • Fuel cap
    • Evaporative emission canister
    • Purge lines
    • Purge valve solenoid

Results of Incorrect Operation

Poor idle, stalling and poor driveability can be caused by:

    •  Malfunctioning purge solenoid.
    •  Damaged canister.
    •  Hoses/lines split, cracked and/or not connected properly.

EVAP Purge Solenoid, EVAP Vent Solenoid and Fuel Tank Pressure Sensor


Object Number: 63126  Size: SH

The evaporative leak detection diagnostic strategy is based on applying vacuum to the EVAP system and monitoring vacuum decay.

Before the EVAP system diagnostic tests are run the following conditions must be present:

    •  No TP sensor, ODM, IAT sensor, or MAP sensor DTCs set.
    •  Engine coolant temperature is between 4°C and 30°C (40°F and 86°F).
    •  Start up engine coolant temperature is not more than 8°C (14°F) greater than start up intake air temperature.
    •  Intake air temperature is between 4°C and 30°C (40°F and 86°F).
    •  Start up intake air temperature is not more than 2°C (4°F) greater than start up engine coolant temperature.
    •  Fuel tank level is between 15% and 85%
    •  BARO is above 75 kPa.

The EVAP system diagnostic tests will be run following a cold start, as indicated by the ECT and IAT sensors. The fuel level sensor input to the PCM is used to determine if the fuel level in the tank is correct to run the EVAP diagnostic tests. To ensure sufficient volume in the tank to begin the various diagnostic tests, the fuel level must be between 15% and 85%.

The PCM monitors vacuum level via the fuel tank pressure sensor input. At an appropriate time, the EVAP purge solenoid and the EVAP vent solenoid are turned on, allowing engine vacuum to draw a small vacuum on the entire evaporative emission system. After the desired vacuum level has been achieved, the EVAP purge solenoid is turned off, sealing the system. A leak is detected by monitoring for a decrease in vacuum level over a given time period, all other variables remaining constant. A small leak in the system will cause DTC P0442 to be set.

If the desired vacuum level cannot be achieved in the test described above, a large leak or a faulty EVAP purge solenoid is indicated. This can be caused by the following conditions:

    •  Disconnected or faulty fuel tank pressure sensor.
    •  Missing or faulty fuel cap.
    •  Disconnected, damaged, pinched, or blocked EVAP purge line.
    •  Disconnected or damaged EVAP vent hose.
    •  Disconnected, damaged, pinched, or blocked fuel tank vapor line.
    •  Disconnected or faulty EVAP canister solenoid.
    •  Disconnected or faulty EVAP vent solenoid.
    •  Open ignition feed circuit to the EVAP vent or purge solenoid.
    •  Damaged EVAP canister.

Any of the above conditions can set DTC P0440.

A restricted or blocked EVAP canister vent path is detected by drawing vacuum into the EVAP system, turning off the EVAP vent solenoid and the EVAP purge solenoid (EVAP vent solenoid Open, EVAP purge PWM 0%) and monitoring the fuel tank pressure sensor input. With the EVAP vent solenoid open, any vacuum in the system should decrease quickly unless the vent path is blocked. A blockage can be caused by the following conditions:

    •  Faulty EVAP vent solenoid (stuck closed).
    •  Plugged kinked or pinched vent hose.
    •  Shorted EVAP vent solenoid driver circuit.
    •  Plugged evaporative canister.

If any of these conditions are present, DTC P0446 will set.

The system checks for conditions that cause the EVAP system to purge continuously by commanding the EVAP vent solenoid on and the EVAP purge solenoid off (EVAP vent solenoid CLOSED, EVAP purge PWM 0 %). If fuel tank pressure level increases during the test, a continuous purge flow condition is indicated. This can be caused by the following conditions:

    •  EVAP purge solenoid leaking.
    •  EVAP purge and engine vacuum source lines switched at the EVAP purge solenoid.
    •  EVAP purge solenoid driver circuit grounded.

If any of these conditions are present, DTC P1441 will set.

Refer to the DTC charts for further diagnostic procedures regarding the EVAP system.

Visual Check of Evaporative Emission Canister

    • Cracked or damaged, replace canister.
    • Fuel leaking from the canister, replace canister and check lines and line routing.