GM Service Manual Online
For 1990-2009 cars only

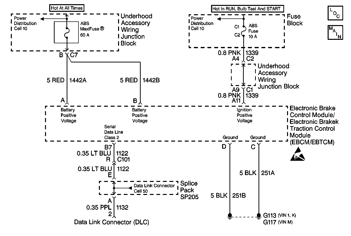
Object Number: 405513  Size: MF
ABS Components
Antilock Brake System Schematics
Power Distribution Schematics
Power Distribution Schematics
Data Link Connector Schematics
Handling Electrostatic Discharge Sensitive Parts Notice

Circuit Description

The Class 2 serial data line allows all the modules on the line to transmit information to each other as needed. Each module is assigned an ID and all the information sent out on the line is assigned a priority by which it is received. When the ignition switch is turned to the run position each module begins to send and receive information. Each module on the Class 2 serial data line knows what information it needs to send out and what information it should be receiving. What the modules do not know is which module is supposed to send them the information. This information is only learned after the module has received the information it needs along with the ID of the module that sent the information. This information is then remembered until the ignition switch is turned off.

Diagnostic Aids

  1. The following conditions may cause an intermittent malfunction to occur:
  2. • A poor connection
    • A rubbed-through wire insulation
    • A broken wire inside the insulation
  3. Inspect any circuitry that may cause the intermittent complaint for the following conditions:
  4. • Backed out terminals
    • Improper mating
    • Broken locks
    • Improperly formed terminals
    • Damaged terminals
    • Poor terminal to wiring connections
    • Physical damage to the wiring harness

No Communication with EBCM/EBTCM

Step

Action

Value(s)

Yes

No

DEFINITION: Scan tool can not communicate with the EBCM/EBTCM but is capable of communicating with other modules.

1

Was the Diagnostic System Check performed?

--

Go to Step 2

Go to Diagnostic System Check - ABS

2

Inspect the ABS Fuse (10A) in the instrument panel electrical center.

Is the fuse OK?

--

Go to Step 5

Go to Step 3

3

  1. Turn the ignition switch to the OFF position.
  2. Remove the ABS fuse (10A).
  3. Disconnect the EBCM/EBTCM connector.
  4. Connect the J 39700 Universal Pinout Box using the J 39700-99 Adapter Cable to the EBCM/EBTCM harness connector only.
  5. Connect a DMM between a known good ground and terminal A11 at the universal pinout box.
  6. Using the DMM, measure CKT 1339 for continuity to ground.

Is CKT 1339 shorted to ground?

--

Go to Step 4

Go to Step 18

4

Repair CKT 1339 for a short to ground. Refer to Wiring Repairs in Wiring Systems.

Is the repair complete?

--

Go to Diagnostic System Check - ABS

--

5

  1. Turn the ignition switch to the RUN position, engine off.
  2. Using J 39200 DMM, measure the voltage between terminals A11 and D of J 39700 Universal Pinout Box.

Is the voltage within the range specified in the value(s) column?

10.0-14.0 V

Go to Step 7

Go to Step 6

6

Repair CKT 1339 for an open or high resistance. Refer to Wiring Repairs in Wiring Systems.

Is the repair complete?

--

Go to Diagnostic System Check - ABS

--

7

Inspect the ABS MaxiFuse® (60A) in the underhood accessory wiring junction block.

Is the fuse OK?

--

Go to Step 10

Go to Step 8

8

  1. Turn the ignition switch to the OFF position.
  2. Remove the ABS MaxiFuse® (60A) in the underhood accessory wiring junction block.
  3. Disconnect the EBCM/EBTCM connector.
  4. Connect the J 39700 Universal Pinout Box using the J 39700-99 Adapter Cable to the EBCM/EBTCM harness connector only.
  5. Connect a DMM between a known good ground and terminal A at the universal pinout box.
  6. Repeat the previous step with the DMM between a known good ground and terminal B at the universal pinout box.
  7. Using the DMM, measure CKTs 1442A and 1442B for continuity to ground.

Is CKT 1442A or 1442B shorted to ground?

--

Go to Step 9

Go to Step 18

9

Repair CKT 1442A or 1442B for a short to ground. Refer to Wiring Repairs in Wiring Systems.

Is the repair complete?

--

Go to Diagnostic System Check - ABS

--

10

  1. Turn the ignition switch to the RUN position, engine off.
  2. Using J 39200 DMM, measure the voltage between terminals A and D of J 39700 Universal Pinout Box.
  3. Repeat the previous step with the DMM between terminals B and D of Universal Pinout Box.

Is the voltage within the range specified in the value(s) column at both terminals A and B?

10.0-14.0 V

Go to Step 12

Go to Step 11

11

Repair CKT 1442A or 1442B for an open or high resistance. Refer to Wiring Repairs in Wiring Systems.

Is the repair complete?

--

Go to Diagnostic System Check - ABS

--

12

  1. Turn the ignition switch to the OFF position.
  2. Remove the shorting bar from the splice pack SP205 connector.
  3. Using the DMM, measure the resistance between terminal B7 of the Universal Pinout Box and terminal E of the splice pack SP205.

Is the resistance within the range specified in the value(s) column?

0 - 2 ohms

Go to Step 14

Go to Step 13

13

Repair CKT 1122 for an open or high resistance between the splice pack SP205 connector and the EBCM/EBTCM connector. Refer to Wiring Repairs in Wiring Systems.

Is the repair complete?

--

Go to Diagnostic System Check - ABS

--

14

  1. Shorting bar removed from the splice pack SP205 connector.
  2. Using the DMM, measure the resistance between terminal B7 of the Universal Pinout Box and a known good ground.

Is CKT 1122 shorted to ground?

--

Go to Step 15

Go to Step 16

15

Repair CKT 1122 for a short to ground. Refer to Wiring Repairs in Wiring Systems.

Is the repair complete?

--

Go to Diagnostic System Check - ABS

--

16

  1. Turn the ignition switch to the OFF position.
  2. Using the DMM, measure the resistance between terminal C of the Universal Pinout Box and a known good ground.
  3. Repeat the previous step with the DMM between terminal D of Universal Pinout Box and a known good ground.

Is the resistance within the range specified in the value(s) column?

0 - 2 ohms

Go to Step 18

Go to Step 17

17

Repair CKT 251A or 251B for an open or high resistance. Refer to Wiring Repairs in Wiring Systems.

Is the repair complete?

--

Go to Diagnostic System Check - ABS

--

18

  1. Turn the ignition switch to the OFF position.
  2. Inspect the following components:
  3. • The EBCM/EBTCM
    • The EBCM/EBTCM harness connector
    • The positive battery cable terminal
    • The negative battery cable terminal
    • The battery and connections
    • The engine ground connections
  4. Inspect the above components for signs of the following conditions:
  5. • Poor terminal contact
    • Damage terminals
    • Terminal corrosion

Are there any signs of poor terminal contact, corrosion or damage terminal(s)?

--

Go to Step 19

Go to Step 20

19

Replace or repair all of the terminals and/or connectors that exhibit signs of poor terminal contact, corrosion or damage terminal(s).

Is the repair complete?

--

Go to Diagnostic System Check - ABS

--

20

Replace the EBCM/EBTCM. Refer to Electronic Brake Control Module/Electronic Brake and Track Control Module Replacement .

Is the replacement complete?

--

Go to Diagnostic System Check - ABS

--