GM Service Manual Online
For 1990-2009 cars only
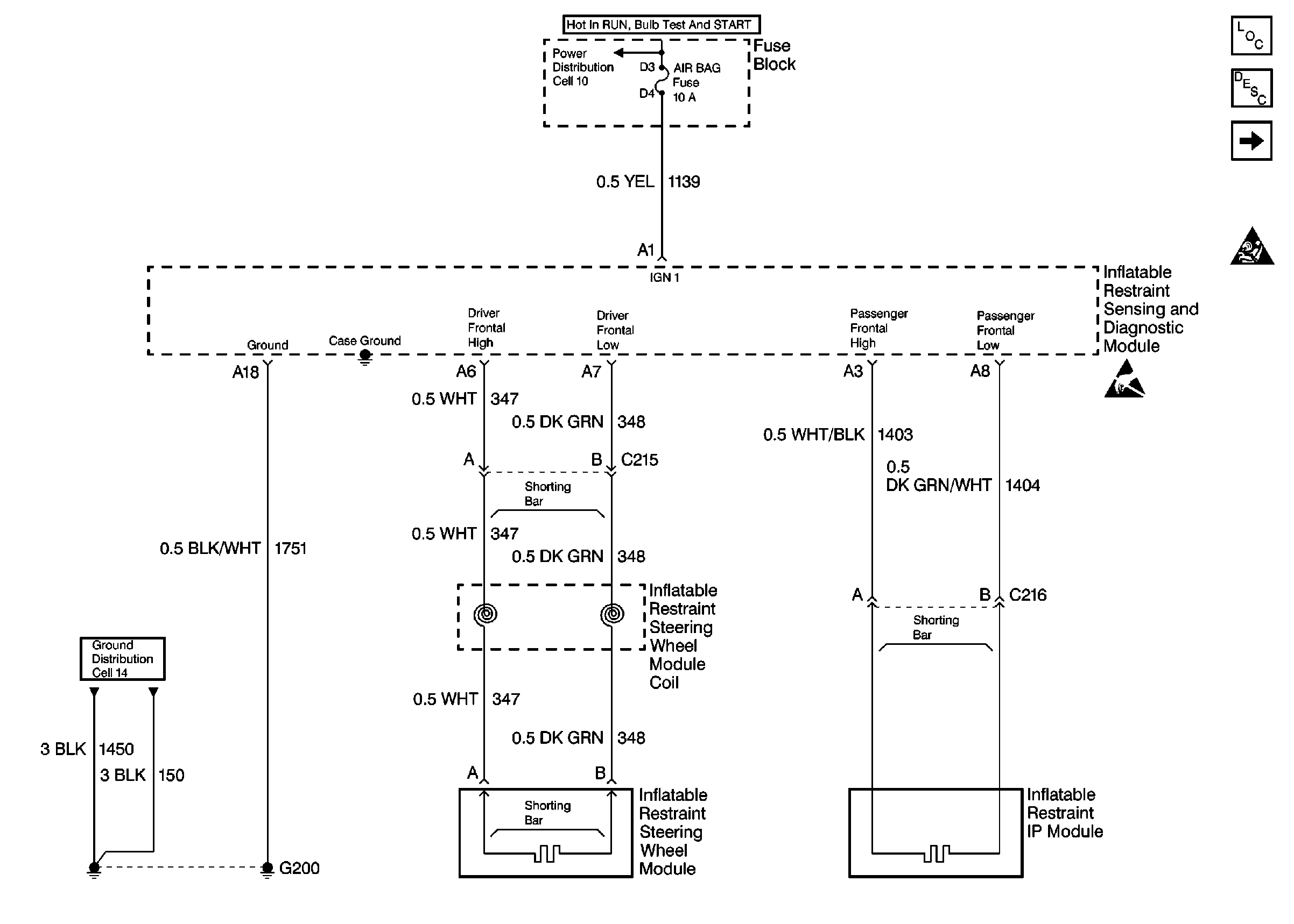
Figure 1:

Cell 47: SDM, Power, Ground, Driver and Passenger Inflator Modules


Object Number: 349092  Size: FS
Cell 10: Ignition Switch
SIR Components
SIR System Operation
Cell 47: Serial Data, Instrument Cluster, BCM, PCM, SDM, and EBTCM
SIR Handling Caution
Handling ESD Sensitive Parts Notice
Cell 14: G200 (1 of 2)
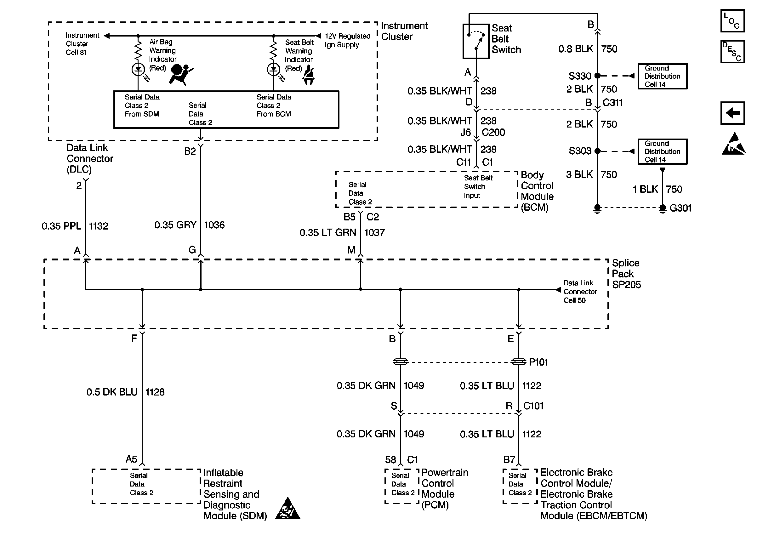
Figure 2:

Cell 47: Serial Data, Instrument Cluster, BCM, PCM, SDM, and EBTCM


Object Number: 357195  Size: FS
SIR Components
SIR System Operation
Cell 47: SDM, Power, Ground, Driver and Passenger Inflator Modules
Handling ESD Sensitive Parts Notice
Cell 14: G301 (1 of 2)
Cell 81: PCM, Engine Coolant Level Indicator Module, Windshield Washer Solvent Level Switch
Cell 81: Brake Fluid Level Switch
SIR Handling Caution
Cell 14: G301 (2 of 2)
Cell 50: Class 2 Serial Data Link