GM Service Manual Online
For 1990-2009 cars only
Makes
🢒
Buick
🢒
1999
🢒
Century
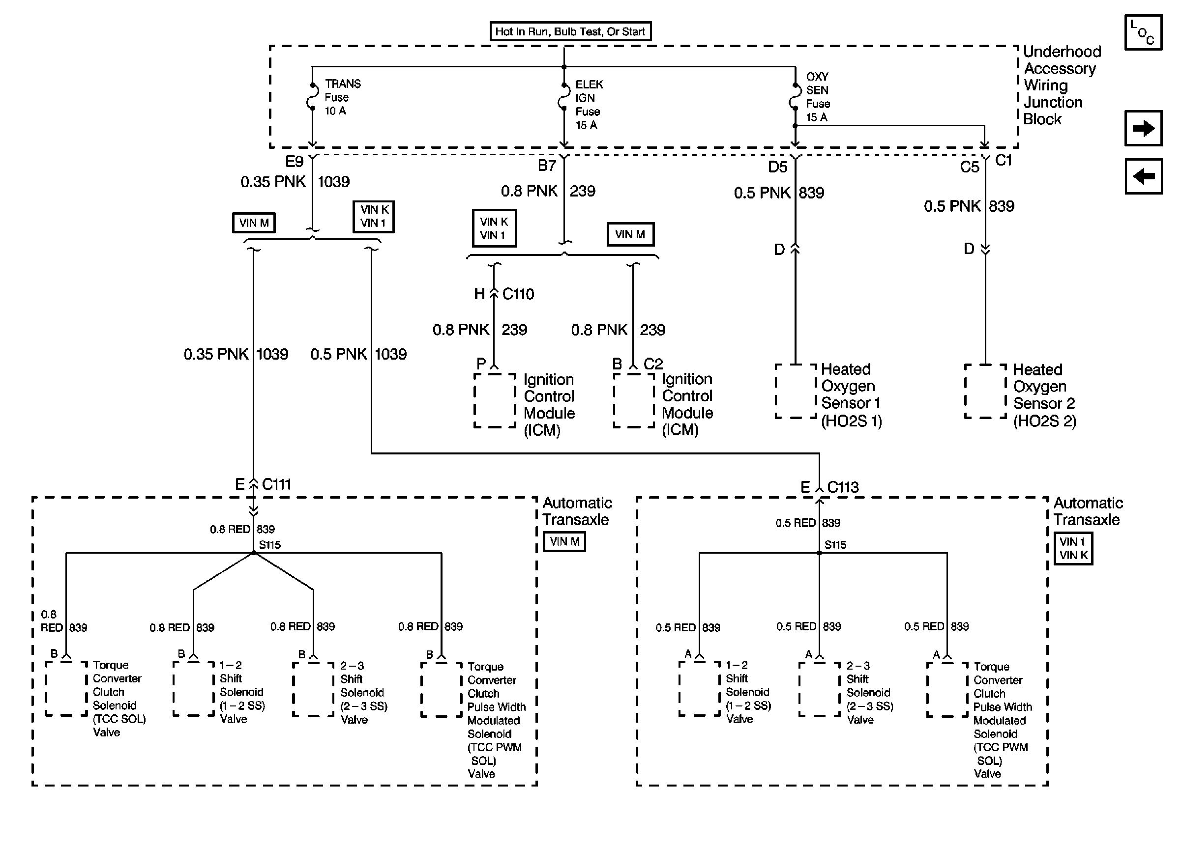
🢒 Cell 11: TRANS, ELEK IGN and OXY SEN Fuses
Cell 11: TRANS, ELEK IGN and OXY SEN Fuses
Cell 11: TRANS, ELEK IGN and OXY SEN Fuses
Power and Grounding Components
Cell 11: F/INJR Fuse
Cell 11: ENG EMIS Fuse