GM Service Manual Online
For 1990-2009 cars only

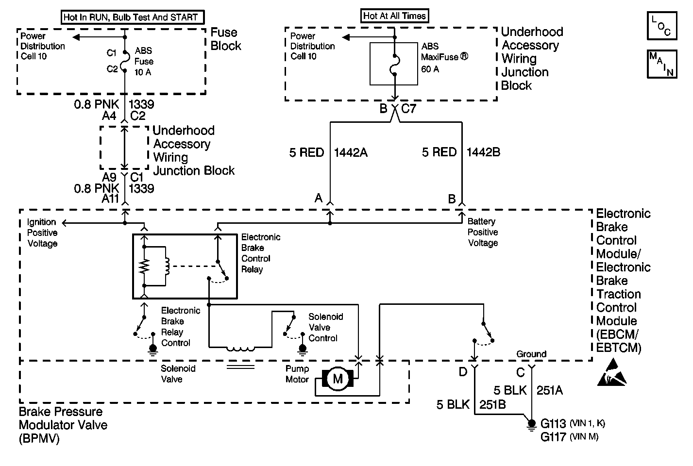
Object Number: 404500  Size: MF
ABS Components
Antilock Brake System Schematics
Power Distribution Schematics
Power Distribution Schematics
Handling Electrostatic Discharge Sensitive Parts Notice

Circuit Description

The outlet valve solenoid circuits are supplied with battery power when the ignition is in the ON position. The EBCM/EBTCM controls the valve functions by grounding the circuit when necessary.

Conditions for Setting the DTC

The EBCM/EBTCM senses a discrepancy in the circuit such as:

    • An open.
    • A short to ground.
    • A short to voltage.

Action Taken When the DTC Sets

    • A malfunction DTC stores.
    • The ABS/TCS disables.
    • The amber ABS/TCS indicator(s) turn on.

Conditions for Clearing the DTC

    • Condition for DTC is no longer present and scan tool clear DTC function is used.
    • 100 ignition cycles have passed with no DTCs detected.

Diagnostic Aids

The solenoid valve circuit and the solenoid coil are internal to the EBCM/EBTCM. No part of the solenoid circuit is diagnosable external to the EBCM/EBTCM. The DTC sets when there is a malfunction in the solenoid circuit internal to the EBCM/EBTCM only.

Test Description

The number below refer to step number on the Diagnostic Table.

  1. This step determines if the DTC is current.

Step

Action

Value(s)

Yes

No

1

Was the Diagnostic System Check performed?

--

Go to Step 2

Go to Diagnostic System Check - ABS

2

  1. Turn the ignition switch to the OFF position.
  2. Install a scan tool.
  3. Turn the ignition switch to the RUN position, engine off.
  4. Using the scan tool run the Automated test.

Does DTC C1268 reset as a current DTC?

--

Go to Step 3

Go to Diagnostic System Check - ABS

3

Replace the EBCM/EBTCM. Refer to Electronic Brake Control Module/Electronic Brake and Track Control Module Replacement .

Is the repair complete?

--

Go to Diagnostic System Check - ABS

--