GM Service Manual Online
For 1990-2009 cars only

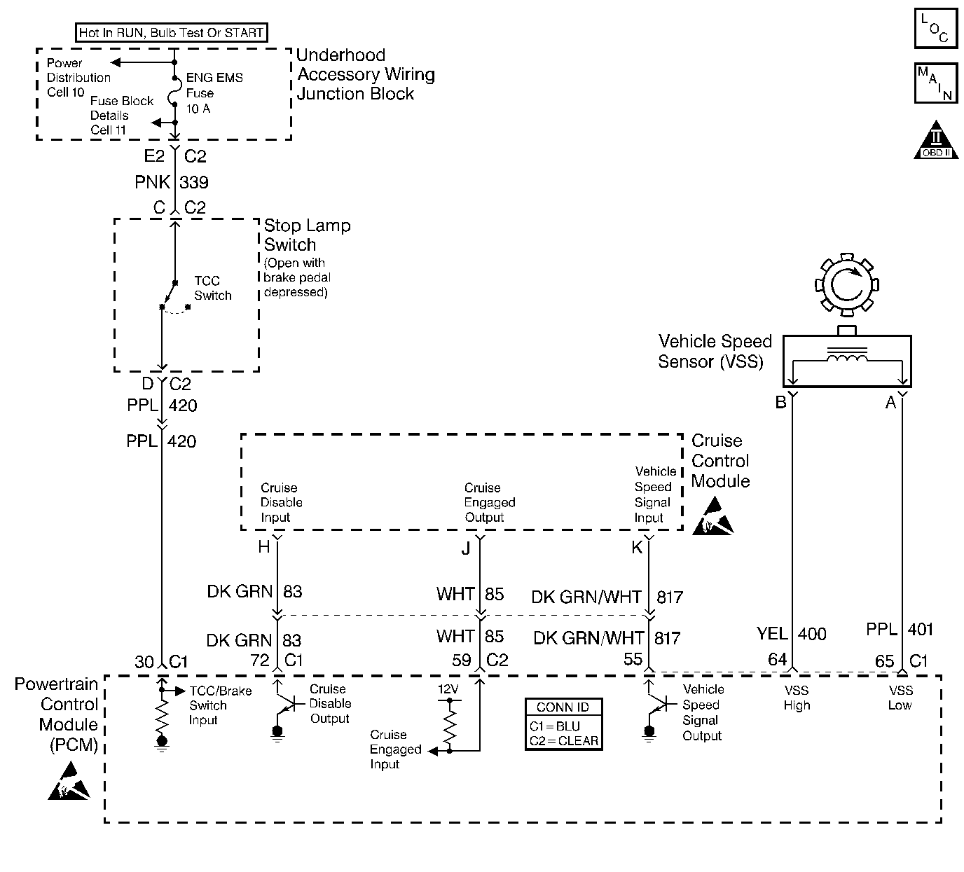
Object Number: 388051  Size: LF
Engine Controls Components
Cell 20: Cruise, VSS
OBD II Symbol Description Notice
Handling ESD Sensitive Parts Notice
Handling ESD Sensitive Parts Notice

Circuit Description

Output Driver Modules (ODMs) are used by the PCM to turn on many of the current-driven devices that are needed to control various engine and Transaxle functions. Each ODM is capable of controlling up to 7 separate outputs by applying ground to the device which the PCM is commanding ON. DTC P1585 set indicates an improper voltage level has been detected on the output circuit which controls the stepper motor cruise control inhibit circuit.

Conditions for Running the DTC

The ignition is ON.

Conditions for Setting the DTC

    • An improper voltage level has been detected on the output circuit which controls the cruise control inhibit.
    • The above conditions present for at least 30 seconds.

Action Taken When the DTC Sets

The PCM stores conditions which were present when the DTC set as Failure Records only. This information will not be stored as Freeze Frame Records.

Conditions for Clearing the MIL/DTC

    • The DTC becomes history when the conditions for setting the DTC are no longer present.
    • The history DTC clears after 40 malfunction free warm-up cycles.
    • The PCM receives a clear code command from the scan tool.

Diagnostic Aids

Check for the following conditions:

Important: :  Remove any debris from the connector surfaces before servicing a component. Inspect the connector gaskets when diagnosing or replacing a component. Ensure that the gaskets are installed correctly. The gaskets prevent contaminate intrusion.

    •  Poor terminal connection.
         Inspect the harness connectors for backed out terminals, improper mating, broken locks, improperly formed or damaged terminals, and faulty terminal to wire connection. Use a corresponding mating terminal to test for proper tension. Refer to Intermittents and Poor Connections Diagnosis , and Connector Repairs Wiring Systems.
    •  Damaged harness.
         Inspect the wiring harness for damage. If the harness appears to be OK, observe the sensor display on the scan tool while moving connectors and wiring harnesses related to the sensor. A change in the sensor display may indicate the location of the fault. Refer to Wiring Repairs in Wiring Systems.
    •  Inspect the PCM and the engine grounds for clean and secure connections.

If the DTC is determined to be intermittent, reviewing the Fail Records can be useful in determining when the DTC was last set.

Test Description

Number(s) below refer to the step number(s) on the Diagnostic Table:

  1. Normally, ignition feed voltage should be present on the control circuit with the PCM disconnected and the ignition turned on.

  2. Checks for a shorted component or a short to B+ on the control circuit. Either condition would result in a measured current of over 500 milliamps. Also checks for a component that is going open while being operated, resulting in a measured current of 0 milliamps.

  3. Checks for a short to voltage on the control circuit.

  4. This vehicle is equipped with a PCM which utilizes an Electrically Erasable Programmable Read Only Memory (EEPROM). When the PCM is being replaced, the new PCM must be programmed.

Step

Action

Value(s)

Yes

No

1

Was the Powertrain on-Board Diagnostic (OBD) System Check performed?

--

Go to Step 2

Go to the Powertrain On Board Diagnostic (OBD) System Check

2

  1. Turn off the ignition switch.
  2. Disconnect the PCM.
  3. Turn on the ignition switch.
  4. Using a J 39200 DMM, measure voltage between the stepper motor cruise control module control circuit at the PCM harness connector and ground.

Is voltage near the specified value?

B+

Go to Step 3

Go to Step 6

3

  1. Connect the J 39200 DMM to measure current between the cruise inhibit control circuit at the PCM harness connector and ground.
  2. Monitor the current reading on the J 39200 DMM for at least 2 minutes.

Does the current reading remain between the specified values?

0.001-0.5 amp

(1-500 mA)

Go to Step 11

Go to Step 4

4

  1. Turn off the ignition switch.
  2. Disconnect the stepper motor cruise control module (leave the PCM disconnected).
  3. Turn on the ignition switch.
  4. Using the J 39200 DMM, measure voltage between the cruise inhibit control circuit and ground.

Is voltage at the specified value?

0.0V

Go to Step 10

Go to Step 5

5

Locate and repair short to voltage in the cruise inhibit control circuit. Refer to Wiring Repairs .

Is the action complete?

--

Go to Step 16

--

6

  1. Turn off the ignition switch.
  2. Check the ignition feed fuse for the stepper motor cruise control module.

Is the fuse blown?

--

Go to Step 7

Go to Step 8

7

  1. Locate and repair short to ground in ignition feed circuit for the stepper motor cruise control module. Refer to Wiring Repairs .
  2. Replace the fuse.

Is the action complete?

--

Go to Step 16

--

8

  1. Disconnect the stepper motor cruise control module.
  2. Turn on the ignition switch.
  3. Using J 39200 DMM measure voltage between the ignition feed circuit for the stepper motor cruise control module and ground.

Is voltage near the specified value?

B+

Go to Step 9

Go to Step 13

9

  1. Test the cruise inhibit control circuit for an open or a short to ground.
  2. If a problem is found, repair the cruise inhibit control circuit. Refer to Wiring Repairs .

Was a problem found?

--

Go to Step 16

Go to Step 10

10

  1. Inspect for the following conditions:
  2. •  The cruise inhibit control circuit for a poor connection at the PCM.
    •  The cruise inhibit control circuit for a poor connection at stepper motor cruise control module.
    •  The stepper motor cruise control module ignition feed circuit for a poor connection at the stepper motor cruise control module.
  3. If a problem is found, replace loose terminal(s) as necessary. Refer to Testing for Continuity Intermittents and Poor Connections Diagnosis Repairing Connector Terminals and Connector Repairs .

Was a problem found?

--

Go to Step 16

Go to Step 14

11

  1. Turn off the ignition switch.
  2. Reconnect the PCM.
  3. Disconnect the stepper motor cruise control module.
  4. Turn on the ignition switch.
  5. Connect a J 35616-200 test lamp between the cruise inhibit control circuit and the ignition feed circuit at the stepper motor cruise control module harness connector.
  6. Using the scan tool outputs test function, cycle the cruise inhibit output on and off.

Does the J 35616-200 test lamp flash on and off?

--

Go to Diagnostic Aids

Go to Step 12

12

  1. Test the cruise inhibit control circuit for a poor connection at the PCM.
  2. If a problem is found, replace loose terminal. Refer to Testing for Continuity , Intermittents and Poor Connections Diagnosis , Repairing Connector Terminals , and Connector Repairs .

Was a problem found?

--

Go to Step 16

Go to Step 15

13

Locate and repair open in ignition feed circuit to the stepper motor cruise control module. Refer to Wiring Repairs .

Is the action complete?

--

Go to Step 16

--

14

Replace theCcruise Control Module. Refer to Cruise Control Module Replacement .

Is the action complete?

--

Go to Step 16

--

15

Important: :  The replacement PCM must be programmed.

Replace the PCM. Refer to Powertrain Control Module Replacement/Programming .

Is the action complete?

--

Go to Step 16

--

16

  1. Review and record scan tool Fail Records data.
  2. Clear DTCs.
  3. Operate the vehicle within Fail Records conditions.
  4. Using a scan tool, monitor Specific DTC info for DTC P1585 until the DTC P1585 test runs.

Does the scan tool indicate DTC P1585 failed this ignition?

--

Go to Step 2

System OK