GM Service Manual Online
For 1990-2009 cars only

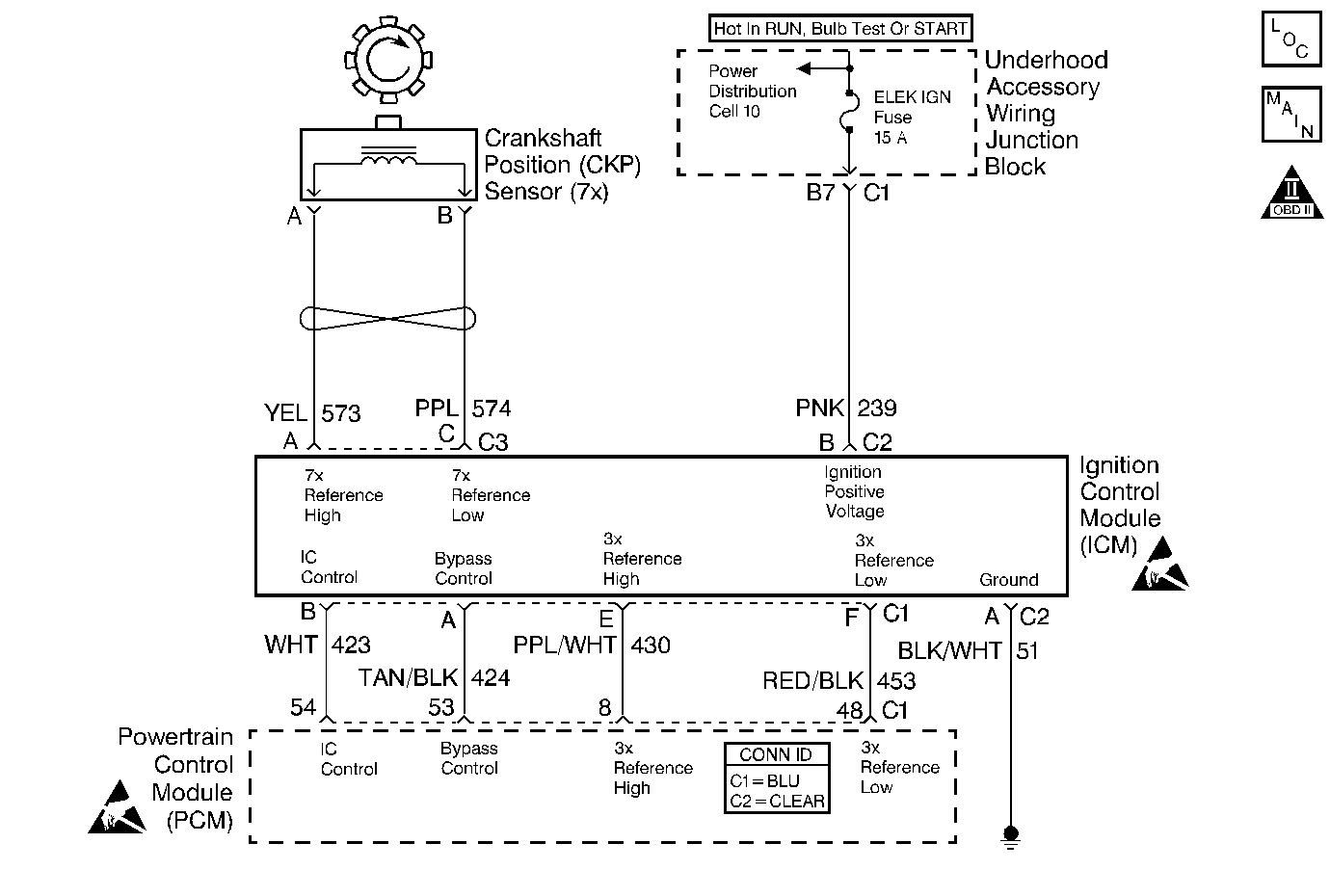
Object Number: 387995  Size: MF
Engine Controls Components
Cell 20: Ignition System and Knock Sensor
OBD II Symbol Description Notice
Handling ESD Sensitive Parts Notice
Handling ESD Sensitive Parts Notice

Circuit Description

The Ignition Control (IC) Module sends signals that the PCM requires for fuel control and spark advance calculations. At the start of engine crank, the IC Module controls spark advance (Bypass mode.) When the second3X reference pulse is recognized by the PCM, the PCM applies 5 volts to the Bypass circuit, commanding the IC Module to switch spark advance to PCM control (IC mode). If the PCM detects a short to voltage in the Bypass circuit, DTC P1362 will set. A short to ground in the IC circuit or Bypass circuit will cause both DTC P1362 and DTC P1362 to set. The engine will start and may run in Bypass mode timing.

Conditions for Running the DTC

The engine is running.

Conditions for Setting the DTC

    • The PCM detects a short to voltage in the Bypass circuit.
    • The conditions is present for 300 3X reference periods (100 crankshaft revolutions).

Action Taken When the DTC Sets

    • The PCM illuminates the malfunction indicator lamp (MIL) on the second consecutive ignition cycle that the diagnostic runs and fails.
    • The PCM records the operating conditions at the time the diagnostic fails. The first time the diagnostic fails, the PCM stores this information in the Failure Records. If the diagnostic reports a failure on the second consecutive ignition cycle, the PCM records the operating conditions at the time of the failure.
    • The PCM writes the conditions to the Freeze Frame and updates the Failure Records.

Conditions for Clearing the MIL/DTC

    • The PCM will turn OFF the malfunction indicator lamp (MIL) during the third consecutive trip in which the diagnostic has run and passed.
    • The history DTC will clear after 40 consecutive warm-up cycles have occurred without a malfunction.
    • The DTC can be cleared by using a scan tool.

Diagnostic Aids

Check for the following conditions:

Important: :  Remove any debris from the connector surfaces before servicing a component. Inspect the connector gaskets when diagnosing or replacing a component. Ensure that the gaskets are installed correctly. The gaskets prevent contaminate intrusion.

    •  Poor terminal connection.
         Inspect the harness connectors for backed out terminals, improper mating, broken locks, improperly formed or damaged terminals, and faulty terminal to wire connection. Use a corresponding mating terminal to test for proper tension. Refer to Intermittents and Poor Connections Diagnosis , and Connector Repairs Wiring Systems.
    •  Damaged harness.
         Inspect the wiring harness for damage. If the harness appears to be OK, observe the sensor display on the scan tool while moving connectors and wiring harnesses related to the sensor. A change in the sensor display may indicate the location of the fault. Refer to Wiring Repairs in Wiring Systems.
    •  Inspect the PCM and the engine grounds for clean and secure connections.

If the DTC is determined to be intermittent, reviewing the Fail Records can be useful in determining when the DTC was last set.

Step

Action

Value(s)

Yes

No

1

Was the Powertrain OBD System Check performed?

--

Go to Step 2

Go to the Powertrain On Board Diagnostic (OBD) System Check

2

Is DTC P1361 set also?

--

Go to Step 6

Go to Step 3

3

  1. Turn off the ignition switch.
  2. Disconnect the PCM.
  3. Turn on the ignition switch.
  4. Probe the BYPASS circuit with a J 35616-200 test lamp to ground.

Is the J 35616-200 test lamp on?

--

Go to Step 4

Go to Step 13

4

  1. Turn off the ignition switch.
  2. Leave the PCM disconnected.
  3. Disconnect the IC Module connector.
  4. Turn on the ignition switch.
  5. Probe the BYPASS circuit with a J 35616-200 test lamp to ground.

Is the J 35616-200 test lamp on?

--

Go to Step 5

Go to Step 12

5

Locate and repair the short to voltage in the BYPASS circuit. Refer to Wiring Repairs .

Is the action complete?

--

Go to Step 14

--

6

  1. Turn off the ignition switch.
  2. Disconnect the PCM.
  3. Disconnect the Ignition Control Module.
  4. Probe the IC circuit with a J 35616-200 test lamp to battery positive voltage.

Is the J 35616-200 test lamp on?

--

Go to Step 7

Go to Step 8

7

Locate and repair the short to ground in the IC circuit. Refer to Wiring Repairs .

Is the action complete?

--

Go to Step 14

--

8

  1. Leave the ignition switch off.
  2. Leave the PCM disconnected.
  3. Leave the IC Module disconnected.
  4. Probe the BYPASS circuit with a J 35616-200 test lamp to ground.

Is the J 35616-200 test lamp on?

--

Go to Step 9

Go to Step 10

9

Locate and repair the short to ground in the BYPASS circuit. Refer to Wiring Repairs .

Is the action complete?

--

Go to Step 14

--

10

  1. Leave the ignition switch off.
  2. Leave the PCM disconnected.
  3. Leave the IC Module disconnected.
  4. Test for a short between the IC and BYPASS circuits.
  5. If a problem is found, repair as necessary. Refer to Wiring Repairs .

Was a problem found?

--

Go to Step 14

Go to Step 11

11

  1. Leave the ignition switch off.
  2. Reconnect the IC Module.
  3. Leave the PCM disconnected.
  4. Turn on the igntiion switch.
  5. Using J 39200 DMM, observe the resistance between the IC and Reference Low circuits while probing the BYPASS circuit with a test J 35616-200 light to battery positive voltage.

Does the resistance switch fron below the first value to above the second value?

500ohms

5000ohms

Go to Step 13

Go to Step 12

12

Replace the Ignition Control Module. Refer to Ignition Control Module Replacement .

Is the action complete?

--

Go to Step 14

--

13

Important: :  Replacement PCM must be reprogrammed. Refer to Powertrain Control Module Replacement/Programming .

Replace the PCM.

Is the action complete?

--

Go to Step 14

--

14

  1. Review and record scan tool Fail Records data.
  2. Clear DTCs.
  3. Operate the vehicle within Fail Records conditions.
  4. Using the scan tool, monitor Specific DTC Info for DTC P1362.

Does the scan tool indicate DTC 1362 failed this ignition?

--

Go to Step 2

System OK