GM Service Manual Online
For 1990-2009 cars only
Makes
🢒
Buick
🢒
2000
🢒
Century
🢒
Body and Accessories
🢒
Wipers/Washer Systems
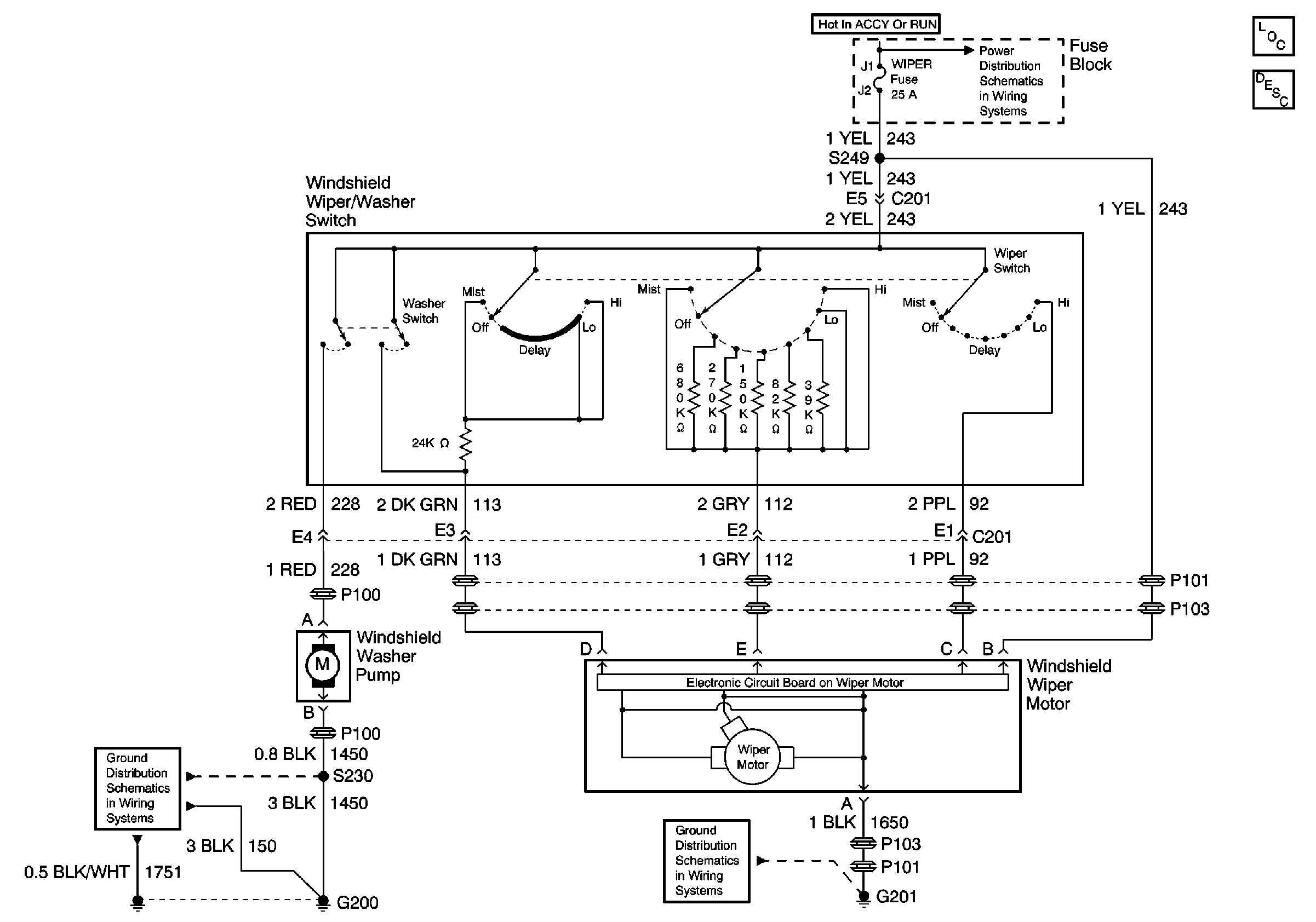
🢒 Wiper/Washer System (Pulse) Schematics
Wiper Fuse, BCM ACC, Power Drop, Radio and Steering Wheel Cont Fuses
Wiper/Washer System Components
Wiper/Washer System Circuit Description
G200
G201