GM Service Manual Online
For 1990-2009 cars only
Makes
🢒
Buick
🢒
2000
🢒
Century
🢒
Body and Accessories
🢒
Entertainment
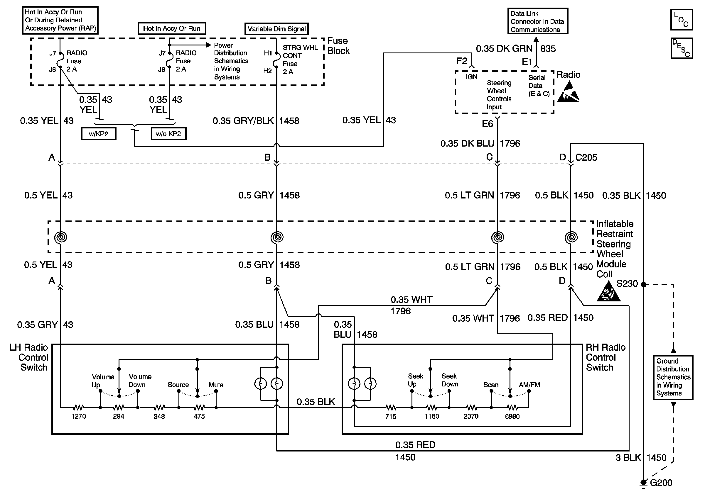
🢒 Steering Wheel Controls Schematics
Wiper Fuse, BCM ACC, Power Drop, Radio and Steering Wheel Cont Fuses
Serial Data E and C
Handling ESD Sensitive Parts Notice
SIR Handling Caution
G200
Entertainment Components
Radio/Audio System Description