GM Service Manual Online
For 1990-2009 cars only
Makes
🢒
Buick
🢒
2000
🢒
Century
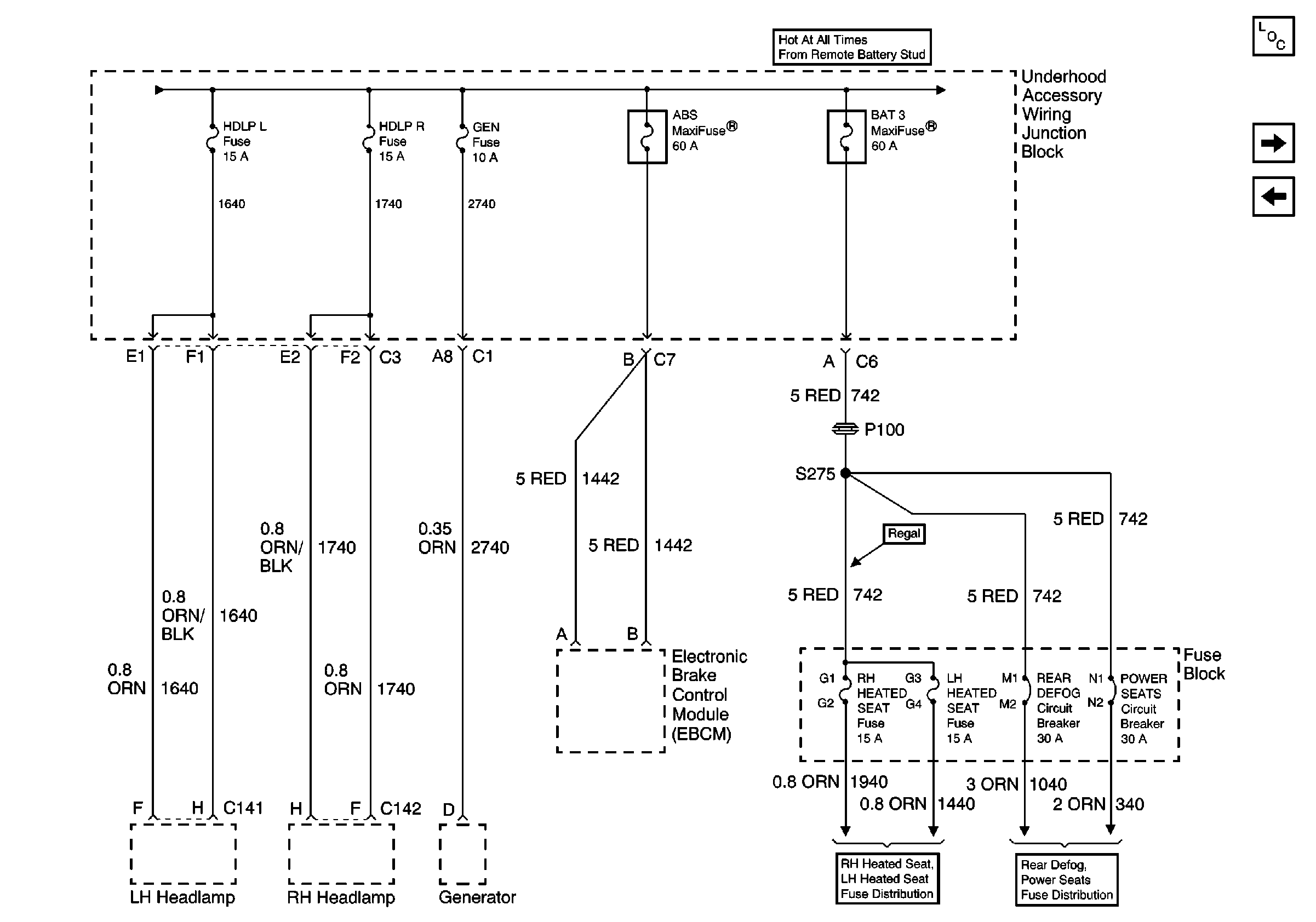
🢒 UAWJB, Fuse Block, Headlamps, EBCM, and Generator
UAWJB, Fuse Block, Headlamps, EBCM, and Generator
UAWJB, Fuse Block, Headlamps, EBCM, and Generator
High Blower, Hazard, Stoplamps, Door Locks, Power Mirrors, and Heated Seats Fuses
Power Windows, Power Sunroof, Rear Defogger, and Power Seats Circuit Breakers
Power and Grounding Components
UAWJB
UAWJB, Ignition Switch, and Fuse Block