GM Service Manual Online
For 1990-2009 cars only
Makes
🢒
Buick
🢒
2000
🢒
Century
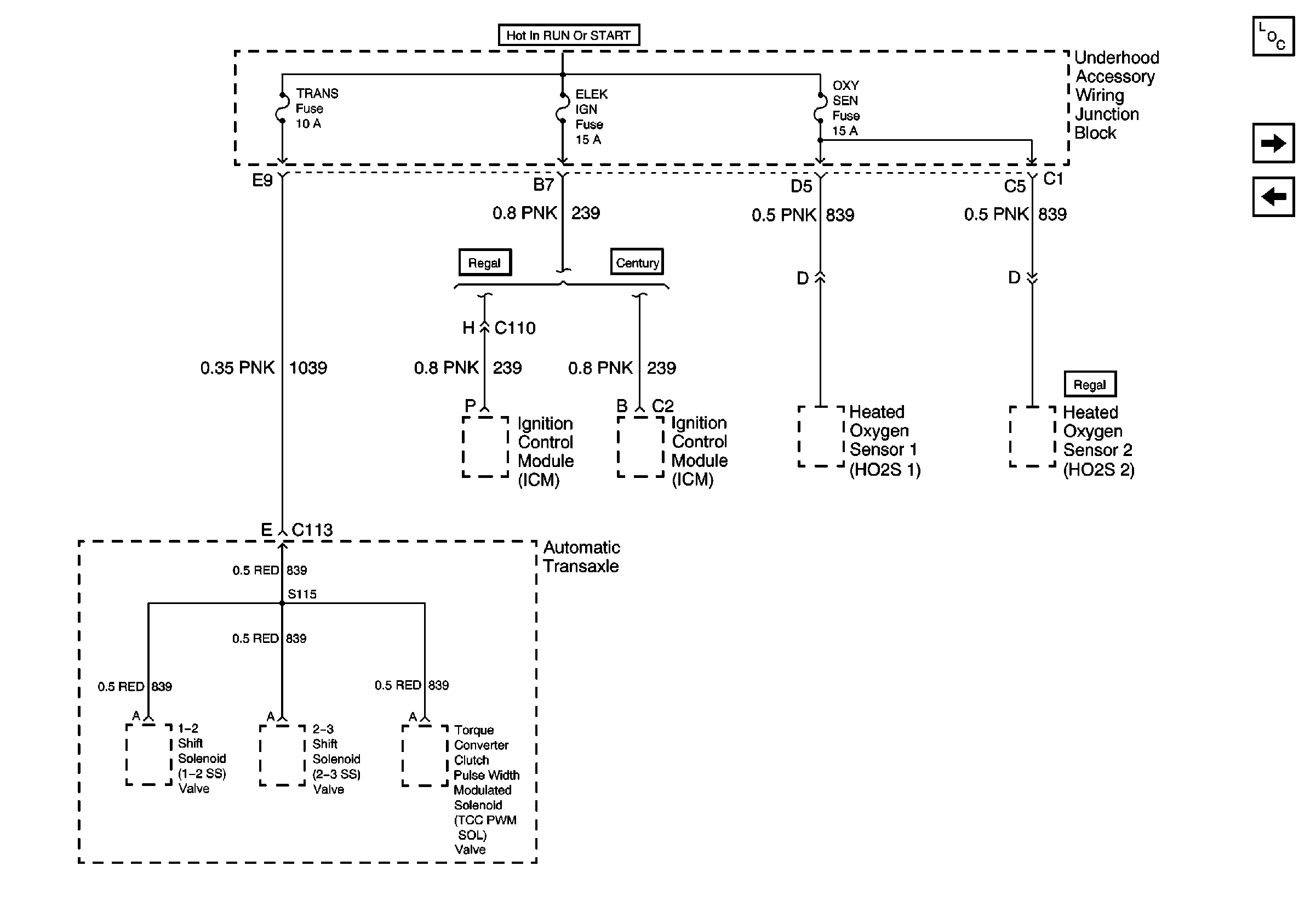
🢒 UAWJB, Automatic Transaxle, ICM, HO2S1 and HO2S2
UAWJB, Automatic Transaxle, ICM, HO2S1 and HO2S2
UAWJB, Automatic Transaxle, ICM, HO2S1 and HO2S2
Power and Grounding Components
UAWJB, Fuel Injectors
UAWJB, Stop Lamp Switch, EVAP, MAF Secondary Air Injection Bypass Valve Solenoid