GM Service Manual Online
For 1990-2009 cars only
Makes
🢒
Buick
🢒
2000
🢒
Century
🢒 Temperature Controls
Temperature Controls
Temperature Controls
HVAC Components
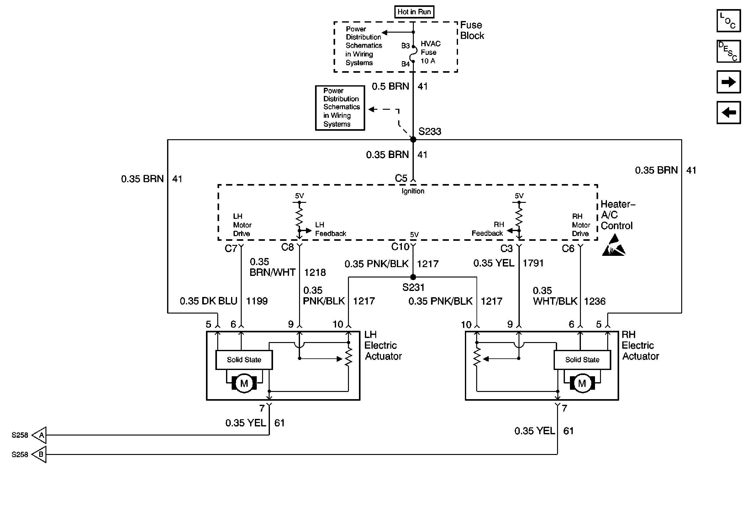
HVAC Air Delivery/Temperature Control Circuit Description
HVAC Vacuum/Electric Solenoid
Inputs
Low Blower, Cruise and HVAC Fuses
Low Blower, Cruise and HVAC Fuses