GM Service Manual Online
For 1990-2009 cars only
Makes
🢒
Buick
🢒
2000
🢒
Century
🢒 Blower Controls
Blower Controls
Blower Controls
HVAC Components
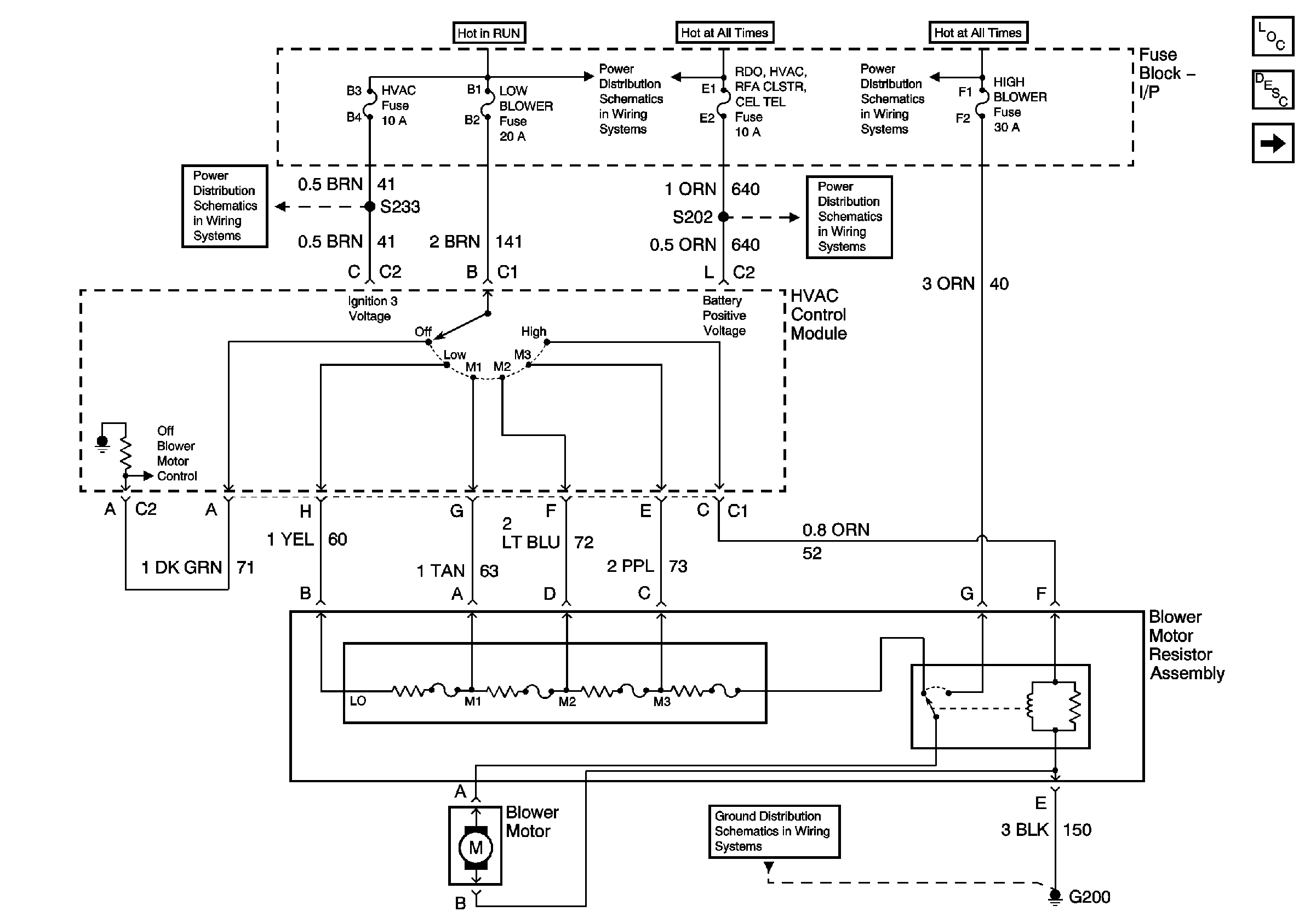
HVAC Blower Controls Circuit Description
Compressor Controls
Low Blower, Cruise, and HVAC Fuses
High Blower, Hazard, Stoplamps, Door Locks, Power Mirrors, and Heated Seats Fuses
Compressor Controls
G200