GM Service Manual Online
For 1990-2009 cars only
Makes
🢒
Buick
🢒
2000
🢒
Century
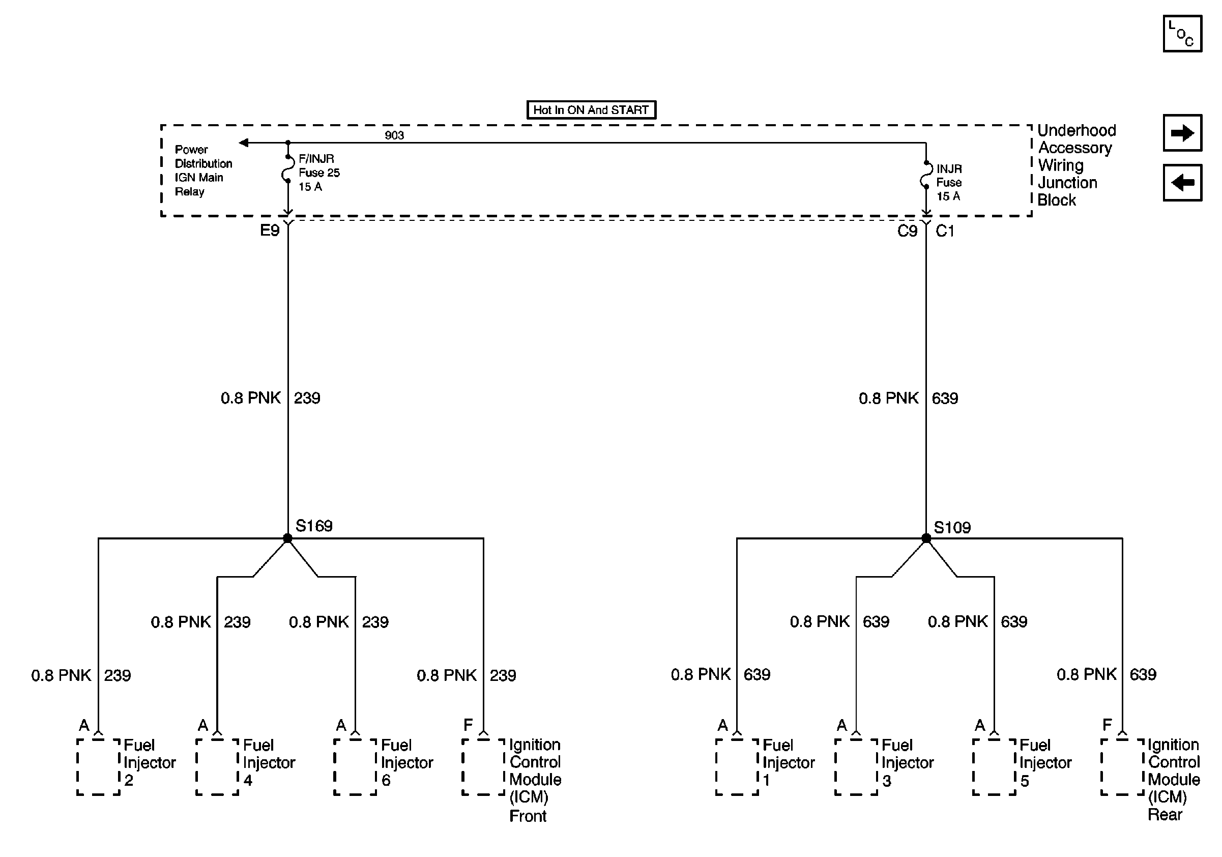
🢒 Fuel Injector Fuses
Fuel Injector Fuses
Fuel Injector Fuses
Power and Grounding Components
Fuse Block: Heated Mirrors, Crank Signal/BCM/Cluster and IGN 0/Cluster/PCM/BCMFuses
Trans Solenoid, ABS, and O2 Sensor Fuses