GM Service Manual Online
For 1990-2009 cars only

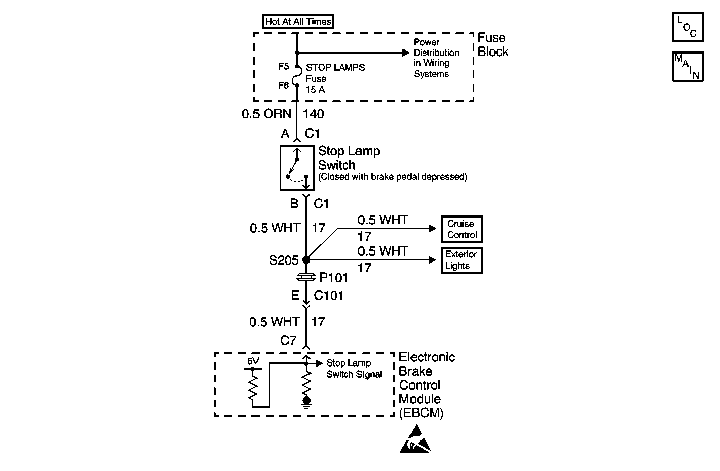
Object Number: 585716  Size: MF
ABS Components
Antilock Brake System Schematics
Power Distribution Schematics
Cruise Control Schematics
Exterior Lights Schematics
Handling Electrostatic Discharge Sensitive Parts Notice

Circuit Description

This DTC is used to detect an open Stoplamp Switch in the non-ABS mode. The EBCM looks for a deceleration rate that would indicate braking action and verifies this assumption by requiring several repeats of this detection method. In each case, TCS will not be available since no Stoplamp Switch voltage is seen by the EBCM.

Conditions for Running the DTC

The ABS conditions and the braking conditions are normal.

Conditions for Setting the DTC

DTC C1291 is set after the stoplamp switch remains open for three deceleration cycles. A deceleration cycle includes starting at a speed greater than 24 km/h (15 mph), then the vehicle must decelerate to 8 km/h (5 mph) for 2 seconds. The vehicle must then reach a speed less than 16 km/h (10 mph) to complete a deceleration cycle.

Action Taken When the DTC Sets

    • A malfunction DTC is stored.
    • TCS is disabled.
    • Traction Control indicator is turned on.
    • ABS remains functional.

Conditions for Clearing the DTC

    • Condition for DTC is no longer present and scan tool clear DTC function is used.
    • 100 ignition cycles have passed with no DTCs detected.

Diagnostic Aids

    • Possible causes:
       - Stoplamp switch contacts open.
       - Stoplamp switch fuse open.
       - Stoplamp switch misadjusted.
       - Stoplamp switch fuse power feed circuit open.
    • It is very important that a thorough inspection of the wiring and connectors be performed. Failure to carefully and fully inspect wiring and connectors may result in misdiagnosis, causing part replacement with reappearance of the malfunction.
    • If any Wheel Speed Sensor DTCs are present you must diagnose them first.
    • An intermittent malfunction is most likely caused by a poor connection, rubbed through wire insulation, or a wire that is broken inside the insulation.

Step

Action

Value(s)

Yes

No

1

Did you perform the ABS Diagnostic System Check?

--

Go to Step 2

Go to Diagnostic System Check - ABS

2

  1. Install a scan tool.
  2. Turn ON the ignition, with the engine OFF.
  3. With a scan tool, observe the DTC Information parameter in the ABS/ETS/TCS Diagnostic Trouble Codes (DTCs).

Does the scan tool display any wheel speed sensor DTCs?

--

Go to Diagnostic Trouble Code (DTC) List/Type

Go to Step 3

3

Press the brake pedal.

Do the brake lamps turn ON?

--

Go to Diagnostic Aids

Go to Step 4

4

  1. Turn OFF the ignition.
  2. Inspect the stoplamp switch and adjust and/or calibrate if needed. Refer to Stop Lamp Switch Adjustment in Hydraulic Brakes.

Did you find and correct the condition?

--

Go to Step 13

Go to Step 5

5

  1. Turn OFF the ignition.
  2. Disconnect the stoplamp switch connector.
  3. Connect a 3 amp fused jumper wire between the battery feed of the stoplamp switch and the signal circuit of the stoplamp switch.
  4. Turn ON the ignition, with the engine OFF.
  5. With a scan tool, observe the Brake Switch - ABS Input parameter.

Does the scan tool display Applied?

--

Go to Step 10

Go to Step 6

6

Test the battery feed circuit of the stoplamp switch for a short to ground or an open. Refer to Circuit Testing and Wiring Repairs in Wiring Systems.

Did you find and correct the condition?

--

Go to Step 13

Go to Step 7

7

Test the signal circuit of the stoplamp switch for an open between the stoplamp switch and the LH IP Accessory Wiring Junction Block. Refer to Circuit Testing and Wiring Repairs in Wiring Systems.

Did you find and correct the condition?

--

Go to Step 13

Go to Step 8

8

Test the signal circuit of the stoplamp switch for a short to ground. Refer to Circuit Testing and Wiring Repairs in Wiring Systems.

Did you find and correct the condition?

--

Go to Step 13

Go to Step 9

9

Inspect for poor connections at the harness connector of the EBCM. Refer to Testing for Intermittent Conditions and Poor Connections and Connector Repairs in Wiring Systems.

Did you find and correct the condition?

--

Go to Step 13

Go to Step 11

10

Inspect for poor connections at the harness connector of the stoplamp switch. Refer to Testing for Intermittent Conditions and Poor Connections and Connector Repairs in Wiring Systems.

Did you find and correct the condition?

--

Go to Step 13

Go to Step 12

11

Replace the EBCM. Refer to Electronic Brake Control Module Replacement

Did you complete the repair?

--

Go to Step 13

--

12

Replace the stoplamp switch. Refer to Stop Lamp Switch Replacement

Did you complete the replacement?

--

Go to Step 13

--

13

  1. Use the scan tool in order to clear the DTCs.
  2. Operate the vehicle within the Conditions for Running the DTC as specified in the supporting text.

Does the DTC reset?

--

Go to Step 2

System OK