GM Service Manual Online
For 1990-2009 cars only

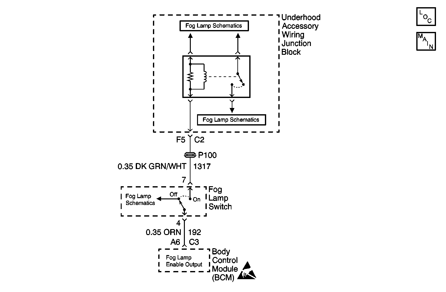
Object Number: 613205  Size: MF
Headlamp Switch, Instrument Cluster and Headlamp Dimmer Switch
Headlamp Switch, Instrument Cluster and Headlamp Dimmer Switch
Headlamp Switch, Instrument Cluster and Headlamp Dimmer Switch
Handling ESD Sensitive Parts Notice
Lighting Systems Components
Headlamp Switch, Instrument Cluster and Headlamp Dimmer Switch

Circuit Description

The Body Control Module (BCM) controls the Fog Lamp relay. The BCM gets an input from the Fog Lamp Switch input circuit and then energizes the Fog Lamp relay by grounding the fog lamp relay coil control circuit. The BCM will only ground the fog lamp relay coil control circuit if the following conditions exist:

    • The ignition switch must be in the RUN position.
    • The headlamp switch must be in the Park or Headlamp ON position.
    • The headlamp dimmer switch must be in the LOW-BEAM position.

Conditions for Running the DTC

The BCM must be commanding the fog lamp relay to energize.

Conditions for Setting the DTC

    • The BCM detects a short to battery in the fog lamp enable relay coil control circuit when it is trying to energize the fog lamp relay.
    • The condition above must be present for more than 0.3 seconds.

Action Taken When the DTC Sets

    • The BCM stores DTC B2533 in memory.
    • The SERVICE VEHICLE SOON telltale illuminates.

Conditions for Clearing the DTC

    • A current DTC B2533 will clear if the short to battery in the fog lamp relay enable coil control circuit is no longer detected by the BCM.
    • A history DTC B2533 will clear after 100 consecutive ignition cycles if the condition for the malfunction is no longer present.

Diagnostic Aids

    • If the DTC B2533 is a history DTC, the fault may be intermittent. Refer to Testing for Intermittent Conditions and Poor Connections .
    • The following conditions may cause an intermittent malfunction to occur:
       - An intermittent short to battery in the fog lamp relay enable coil control circuit.
       - The fog lamp relay coil is intermittently shorted to battery internally.
       - The BCM is intermittently shorted to battery internally.

Test Description

The number(s) below refer to the step number(s) on the diagnostic table.

  1. Listen for an audible click when the fog lamp relay operates. Command both the ON and OFF states. Repeat the commands as necessary.

  2. Test for voltage at the coil side of the fog lamp relay.

  3. Verifies that the Body Control Module is proving ground to the fog lamp relay

  4. Checks for a short to B+.

Step

Action

Value(s)

Yes

No

1

Did you perform the Lighting Diagnostic System Check?

--

Go to Step 2

Go to Diagnostic System Check - Lighting Systems

2

  1. Install a scan tool.
  2. Turn ON the ignition, with the engine OFF.
  3. With a scan tool, observe the fog lamp relay parameter in the Body Control Module data list.

Does the scan tool display off?

--

Go to Step 3

Go to Step 4

3

  1. Turn the fog lamp switch on and off.
  2. With the scan tool, observe the front fog lamp relay parameter.

Does the front fog lamp relay parameter change state?

--

Go to Diagnostic Aids

Go to Step 4

4

  1. Turn OFF the ignition.
  2. Disconnect the fog lamp switch.
  3. Turn ON the ignition, with the engine OFF.
  4. With a scan tool, observe the front fog lamp relay parameter.

Does the scan tool display off?

--

Go to Step 7

Go to Step 5

5

Test the signal circuit of the fog lamp relay enable output for a short to B+. Refer to Circuit Testing and Wiring Repairs in Wiring Systems.

Did you find and correct the condition?

--

Go to Step 10

Go to Step 6

6

Inspect for poor connections at the harness connector of the body control module. Refer to Testing for Intermittent Conditions and Poor Connections and Connector Repairs in Wiring Systems.

Did you find and correct the condition?

--

Go to Step 10

Go to Step 8

7

Inspect for poor connections at the harness connector of the fog lamp switch. Refer to Testing for Intermittent Conditions and Poor Connections and Connector Repairs in Wiring Systems.

Did you find and correct the condition?

--

Go to Step 10

Go to Step 9

8

Important: Perform the setup procedure for the body control module.

Replace the body control module. Refer to Body Control Module Replacement in Body Control System.

Did you complete the replacement?

--

Go to Step 10

--

9

Replace the fog lamp switch . Refer to Fog Lamp Switch Replacement

Did you complete the replacement?

--

Go to Step 10

--

10

  1. Use the scan tool in order to clear the DTCs.
  2. Operate the vehicle within the Conditions for Running the DTC as specified in the supporting text.

Does the DTC reset?

--

Go to Step 2

System OK