GM Service Manual Online
For 1990-2009 cars only

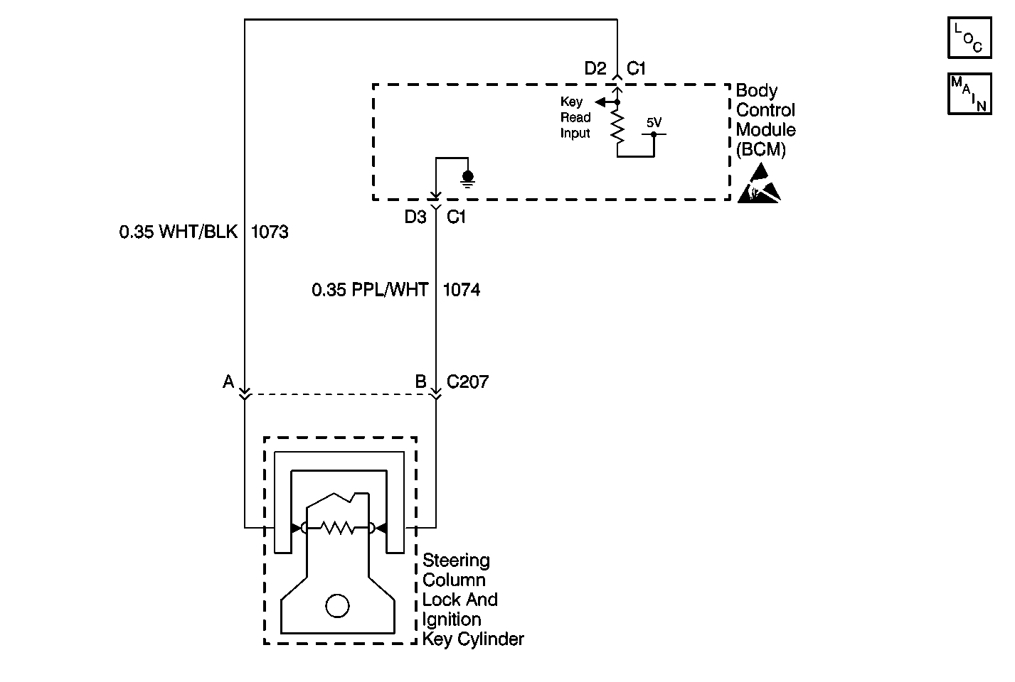
Object Number: 385130  Size: MF

Circuit Description

The Personal Automotive Security System (PASS-KEY® II) is a vehicle theft deterrent system. The PASS-Key® II prevents vehicle theft by disabling the engine from starting unless an ignition key with a specific resistor pellet code is used in the ignition lock cylinder.

The ignition lock cylinder contains the resistor sensing contacts. These contacts touch the resistor pellet embedded in the ignition key. When the ignition key is inserted in the ignition lock cylinder, the resistor pellet completes the key detection circuit (CKT 1073 and CKT 1074).

The BCM applies a 5 V reference voltage to CKT 1073 when the ignition switch turns from either of the following positions:

    • From the LOCK position to the RUN position
    • From the OFF position to the RUN position

The BCM reads the resistor pellet code. The BCM compares the stored resistor pellet code against the ignition key resistor pellet code for a correct match.

Upon detecting a correct match, the BCM sends a fuel enable password to the Powertrain Control Module (PCM) through the Class II serial data link. As a result, the PCM enables the theft deterrent relay. The PCM allows the fuel delivery to the engine.

When you replace the BCM, program the BCM to accept the resistance value of the existing vehicle keys in order to allow the PASS-Key® II operation. A service replacement BCM is programmed to accept the first PASS-Key® II resistance value detected.

Conditions for Setting the DTC

    • The BCM is unable to detect a valid PASS-Key® II resistor pellet code during the programming of a service replacement BCM.
    • This condition could be related to other malfunctions present (i.e. an open or a short in CKT 1073 or CKT 1074).

Action Taken When the DTC Sets

    • The BCM stores the DTC B3031 in memory.
    • The BCM sends a message to the Instrument Panel Cluster (IPC) in order to turn ON the SECURITY indicator through the Class 2 serial data link.
    • The BCM sends a message to the PCM through the Class 2 serial data link in order to perform the following functions:
       - Enable the theft deterrent relay
       - Deliver fuel to the engine
       - Enable the engine to start

Conditions for Clearing the MIL/DTC

    • A current DTC B3031 clears when the BCM is able to detect a valid PASS-Key® II resistance value.
    • A history DTC will clear after 100 consecutive ignition cycles if the condition for the malfunction is no longer present.
    • Use the Scan Tool

Diagnostic Aids

    • If there is an open or a short on CKT 1073 or CKT 1074, the BCM can not accept a valid PASS-Key® II code when the program mode is activated.
    • Always diagnose a DTC B2957 or a DTC B2958 before attempting to diagnose a DTC B3031. DTC B2957 or DTC B2958 affects the BCM's ability to properly read a PASS-Key® II resistance value.
    • Ensure that the key resistor contacts are clean and free of any grease, oil, etc. These substances could interfere with the key detection circuit, causing the following results:
       - The BCM is unable to program the PASS-Key® II system.
       - A DTC B3031 is set.
    • If the DTC B3031 is a history DTC, the BCM has previously entered and successfully completed the programming mode. Clear the DTCs in the BCM. Retest the BCM system for DTCs.
    • The DTC P1626 sets in the Powertrain Control Module (PCM) when the ignition switch is in the RUN position with the Body Control Module (BCM) disconnected. When you complete the BCM diagnostics and repairs, refer to the Engine Controls section for additional information on PCM related DTCs.

Test Description

The number(s) below refer to the step number(s) on the diagnostic table.

  1. This step tests if the DTC B3031 resets as a current DTC.

  2. If the BCM DTC B2957 or B3031 are present, perform the diagnostic tables for these DTCs first.

Step

Action

Value(s)

Yes

No

1

Was the BCM diagnostic system check performed?

--

Go to Step 2

Go to Diagnostic System Check - Body Control System .

2

  1. Clear BCM DTCs.
  2. Inspect for BCM DTCs.

Does the DTC B3031 reset as a current DTC?

--

Go to Step 3

System OK

3

Inspect for a BCM DTC B2957 or B2958.

Is the BCM DTC B2957 or B2958 also set as a current DTC?

--

Go to Diagnostic Trouble Code (DTC) List/Type

Go to Step 4

4

  1. Replace the BCM. Refer to Body Control Module Replacement .
  2. After replacing the BCM, perform the Setup New BCM procedure. Refer to Body Control Module (BCM) Programming/RPO Configuration .

Is the repair complete?

--

Go to Step 5

--

5

  1. Turn the ignition switch to the LOCK position.
  2. Reconnect the connectors. Reinstall the components.
  3. Turn the ignition switch to the RUN position.
  4. Clear BCM DTCs.
  5. Inspect for BCM DTCs.

Are there any BCM current DTCs set?

--

Go to Diagnostic System Check - Body Control System .

System OK