GM Service Manual Online
For 1990-2009 cars only
Makes
🢒
Buick
🢒
2001
🢒
Century
🢒
Steering
🢒
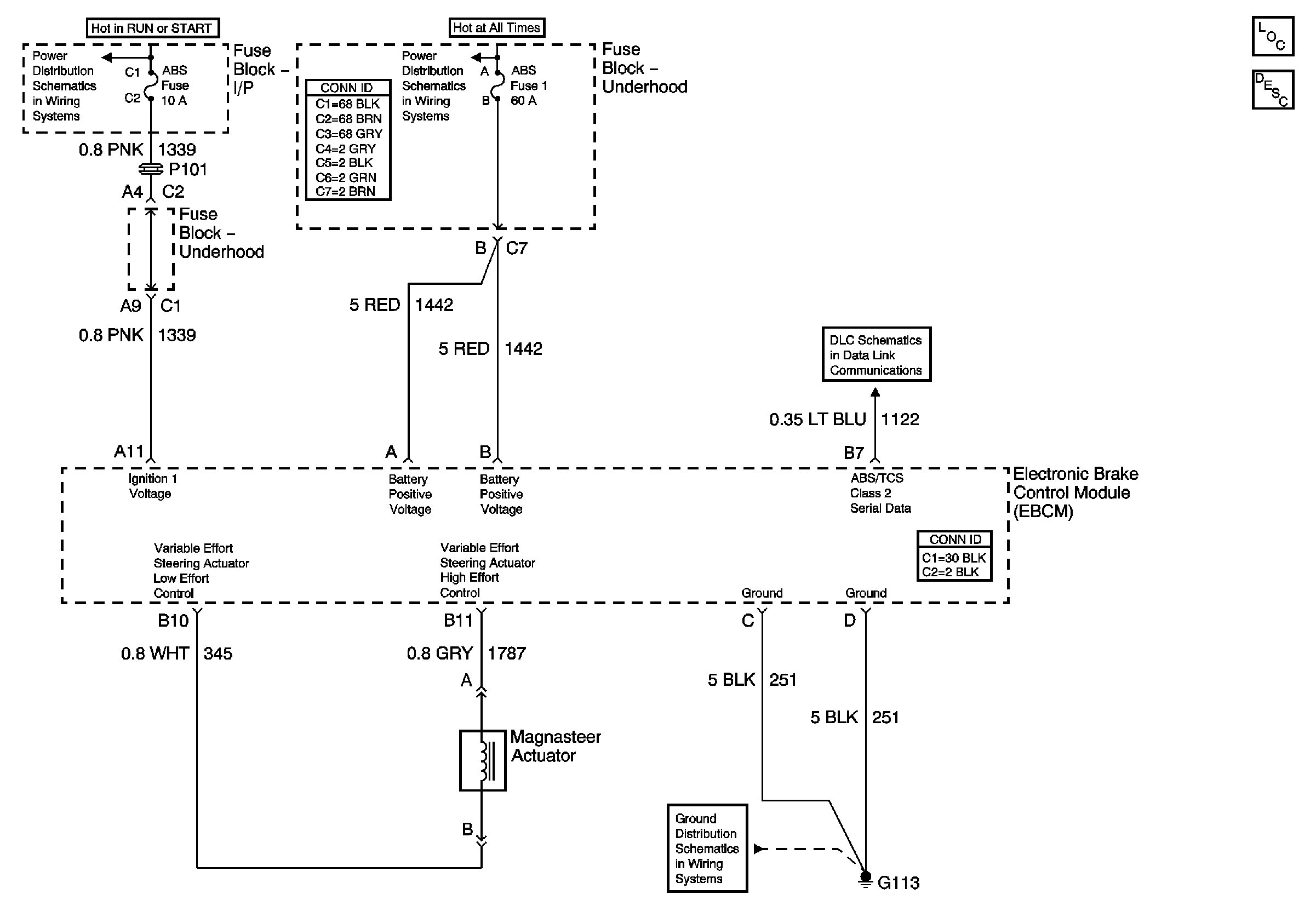
Variable Effort Steering
🢒 Steering Assist Schematics
Master Electrical Component List
Variable Effort Steering System Description and Operation
ABS, BTSI
Headlamps, Generator
DLC
G100,G111 and G113