GM Service Manual Online
For 1990-2009 cars only
Figure 1:

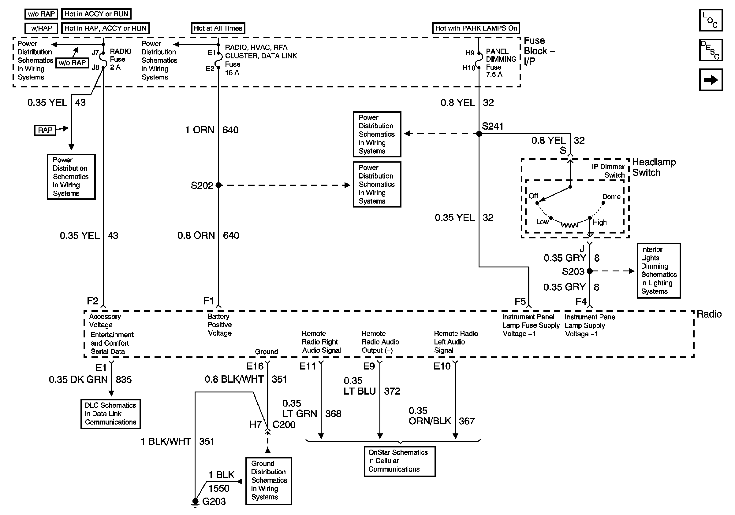
Power, Ground, and DLC


Object Number: 702843  Size: FS
Master Electrical Component List
Radio/Audio System Description and Operation
UQ3 Speakers
IGN 2
BCM, Power Drop, SW. Switchs
Batt 1 Fuse
Lighting
Batt 1 Fuse
IP Dimmer Switch, HVAC, and IPC
DLC
G203, Page 1 of 2
Inputs and Outputs
Figure 2:

UQ3 Speakers


Object Number: 702857  Size: FS
Master Electrical Component List
Radio/Audio System Description and Operation
Bose® Low Level Audio Signals
Power, Ground, and DLC
Figure 3:

Bose® Low Level Audio Signals


Object Number: 702858  Size: FS
Master Electrical Component List
Radio/Audio System Description and Operation
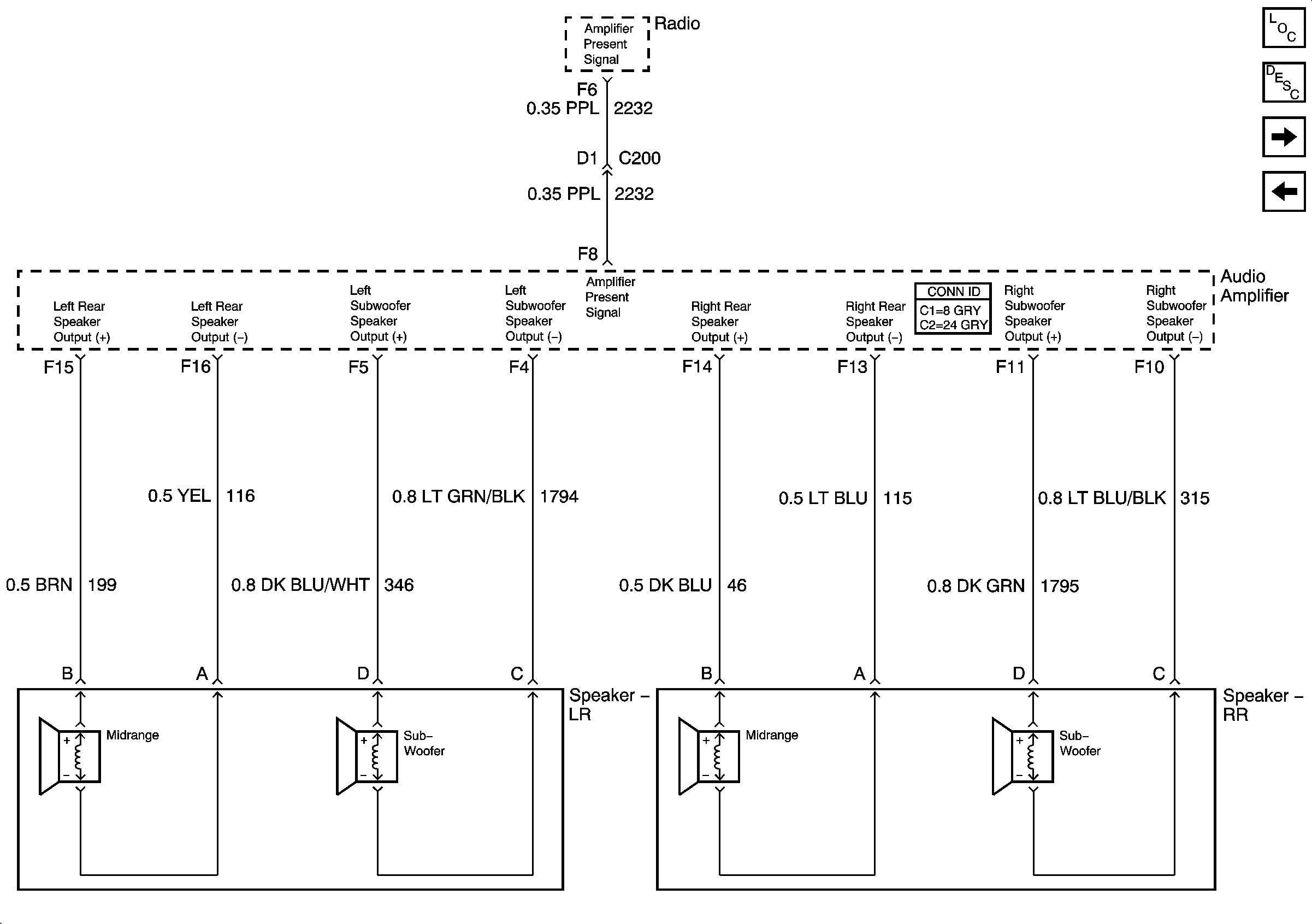
Rear Speakers Bose®
UQ3 Speakers
Batt 1 Fuse
Entertainment Schematic Icons
Entertainment Schematic Icons
Entertainment Schematic Icons
Entertainment Schematic Icons
Entertainment Schematic Icons
Entertainment Schematic Icons
Entertainment Schematic Icons
Entertainment Schematic Icons
G203, Page 2 of 2
Figure 4:

Rear Speakers Bose®


Object Number: 702862  Size: FS
Master Electrical Component List
Radio/Audio System Description and Operation
Front Speakers Bose®
Bose® Low Level Audio Signals
Figure 5:

Front Speakers Bose®


Object Number: 702870  Size: FS
Master Electrical Component List
Radio/Audio System Description and Operation
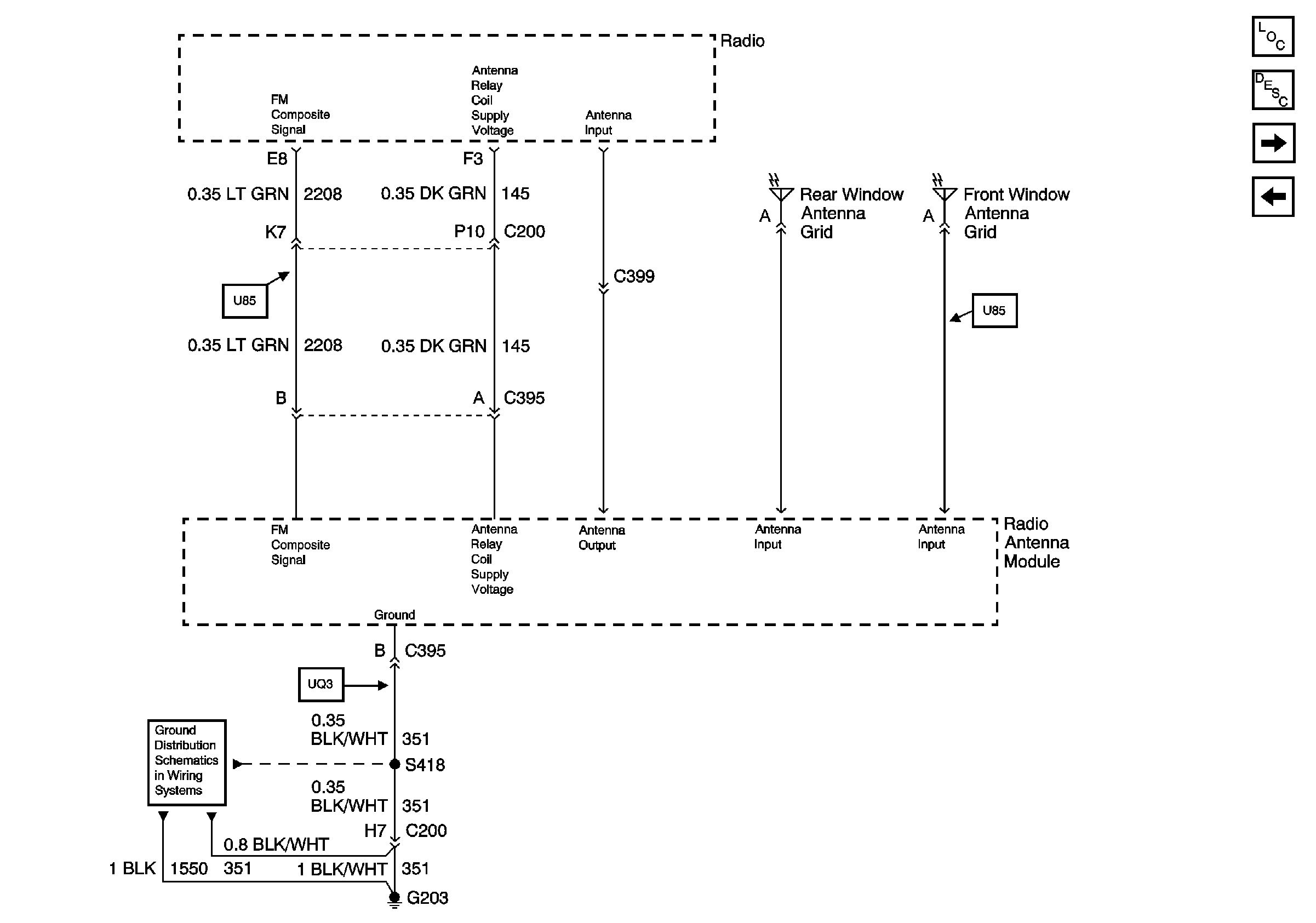
Antenna Module
Rear Speakers Bose®
Figure 6:

Antenna Module


Object Number: 702874  Size: FS
Master Electrical Component List
Radio/Audio System Description and Operation
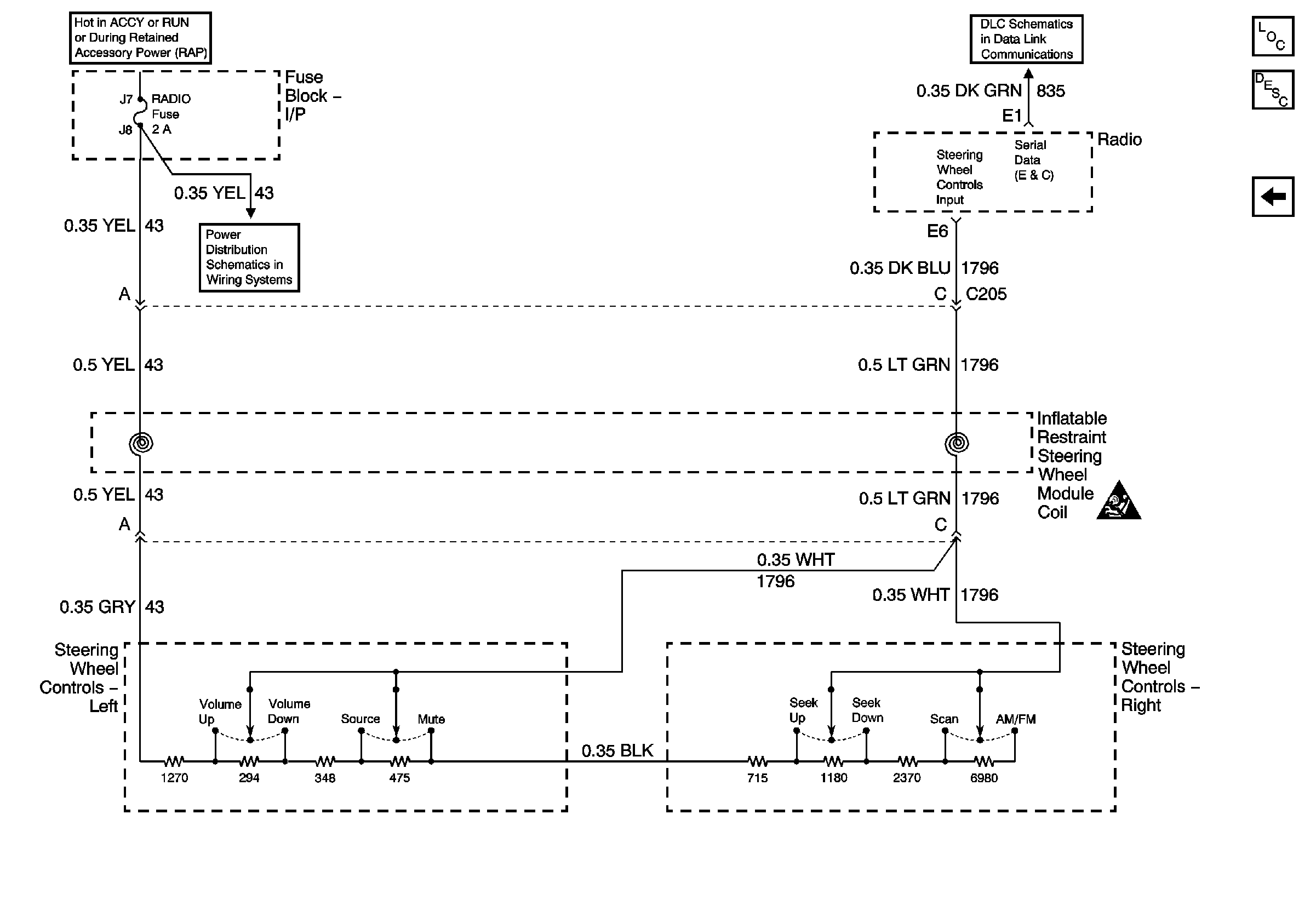
Steering Wheel Controls
Front Speakers Bose®
G203, Page 1 of 2
Figure 7:

Steering Wheel Controls


Object Number: 702880  Size: FS
Master Electrical Component List
Radio/Audio System Description and Operation
Antenna Module
BCM, Power Drop, SW. Switchs
DLC
SIR Caution