GM Service Manual Online
For 1990-2009 cars only
Makes
🢒
Buick
🢒
2001
🢒
Century
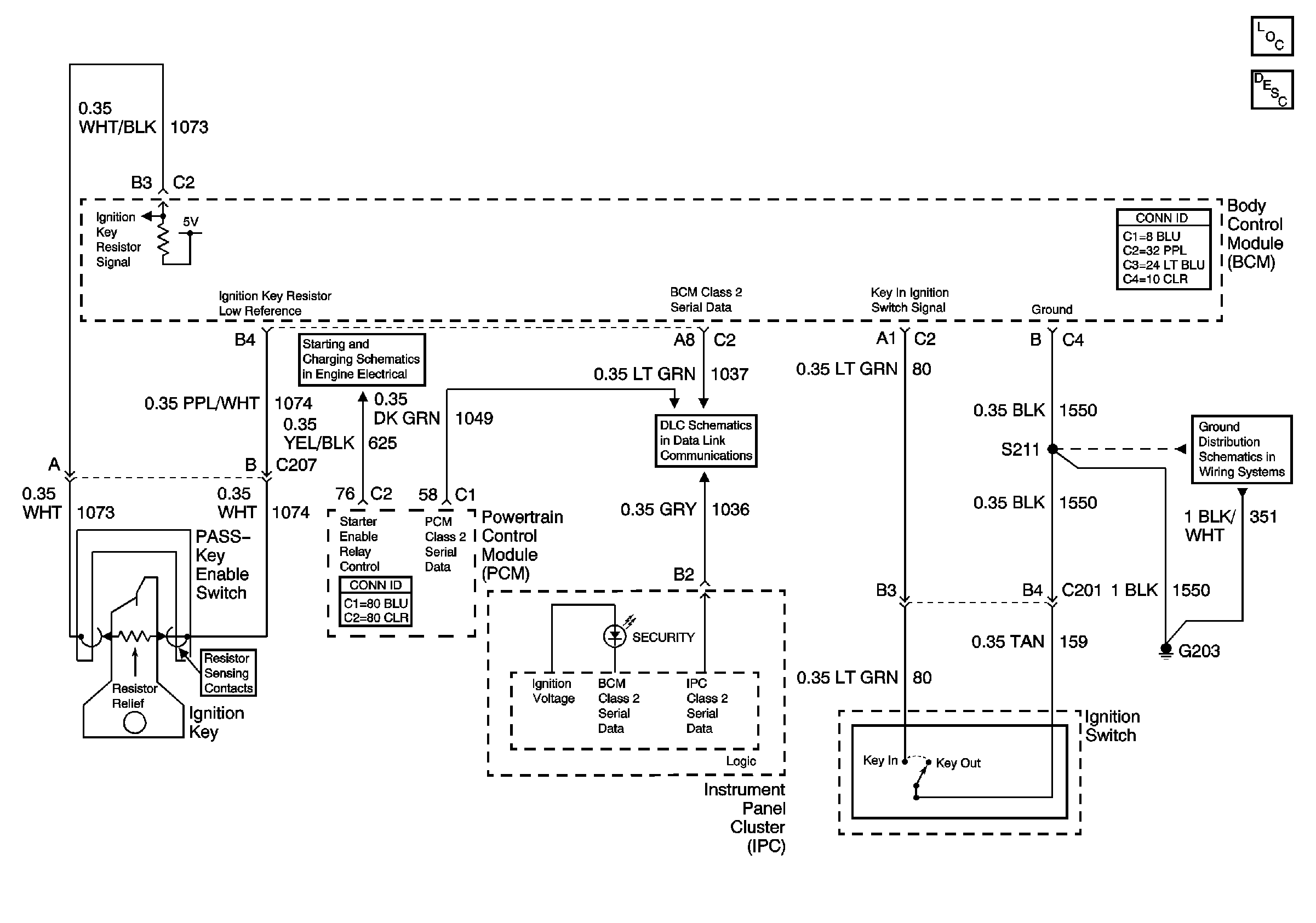
🢒 TheftDeterrent
TheftDeterrent
Master Electrical Component List
Theft Systems Description and Operation
Starting
DLC
G203, Page 1 of 2