GM Service Manual Online
For 1990-2009 cars only
Makes
🢒
Buick
🢒
2001
🢒
Century
🢒 RKE
RKE
Master Electrical Component List
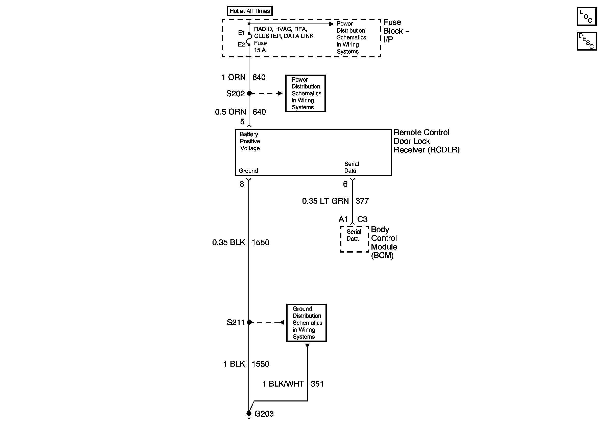
Keyless Entry System Description and Operation
Batt 1 Fuse
Batt 1 Fuse
G203, Page 1 of 2