GM Service Manual Online
For 1990-2009 cars only
Makes
🢒
Buick
🢒
2004
🢒
Century
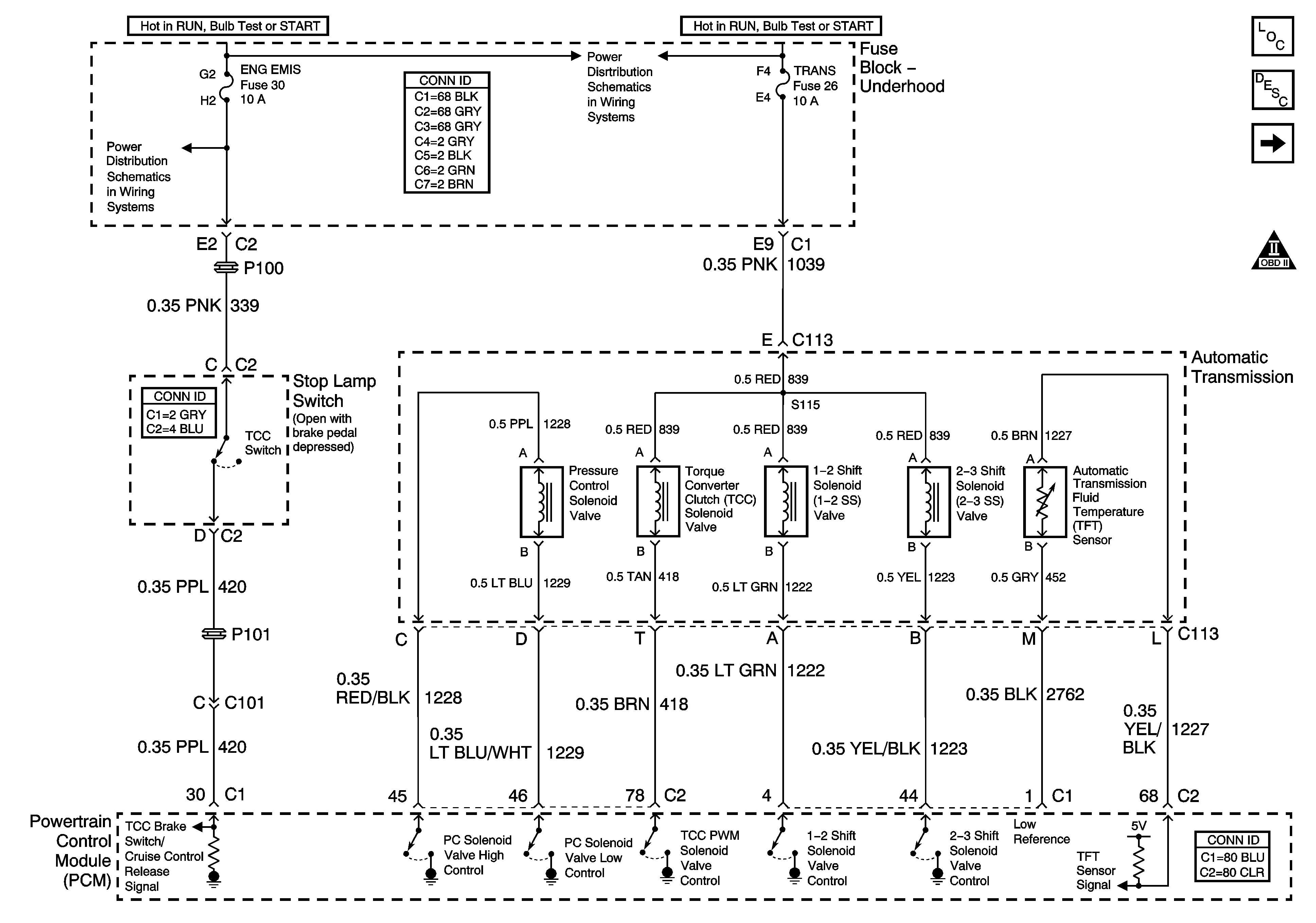
🢒 Solenoid Controls and TFT Sensor
Solenoid Controls and TFT Sensor
Solenoid Controls and TFT Sensor
Master Electrical Component List
Transmission Component and System Description
Fluid Pressure Manual Valve Position Switch, ISS Sensor, and VSS
OBD II Symbol Description Notice
Fuse Block - Underhood ENG EMIS Fuse
Fuse Block - Underhood B+ Bus