|
| ||||||||||||||
|---|---|---|---|---|---|---|---|---|---|---|---|---|---|---|---|
Connector Part Information |
| Connector Part Information |
| ||||||||||||
Pin | Wire Color | Circuit No. | Function | Pin | Wire Color | Circuit No. | Function | ||||||||
A | WHT | 85 | Cruise Control Engaged Signal | A | WHT | 85 | Cruise Control Engaged Signal | ||||||||
B | -- | -- | Not Used | B | -- | -- | Not Used | ||||||||
C | PPL | 420 | TCC Brake Switch/Cruise Control Release Signal | C | PPL | 420 | TCC Brake Switch/Cruise Control Release Signal | ||||||||
D | -- | -- | Not Used | D | -- | -- | Not Used | ||||||||
E | WHT | 17 | Stop Lamp Switch Signal (JL9/JM4) | E | WHT | 17 | Stop Lamp Switch Signal | ||||||||
F | DK GRN | 83 | Cruise Control Inhibit Signal | F | DK GRN | 83 | Cruise Control Inhibit Signal | ||||||||
G | DK GRN/ WHT | 817 | Vehicle Speed Signal | G | DK GRN/ WHT | 817 | Vehicle Speed Signal | ||||||||
H | BLK | 452 | Low Reference | H | BLK | 452 | Low Reference | ||||||||
J | DK GRN | 890 | Fuel Tank Pressure Sensor Signal | J | DK GRN | 890 | Fuel Tank Pressure Sensor Signal | ||||||||
K | GRY | 474 | 5-Volt Reference | K | GRY | 474 | 5-Volt Reference | ||||||||
L | BLK | 884 | Left Rear Wheel Speed Sensor Signal (JL9/JM4) | L | BLK | 884 | Left Rear Wheel Speed Sensor Signal | ||||||||
M | RED | 885 | Left Rear Wheel Speed Sensor Low Reference (JL9/JM4) | M | RED | 885 | Left Rear Wheel Speed Sensor Low Reference | ||||||||
N | BRN | 882 | Right Rear Wheel Speed Sensor Signal (JL9/JM4) | N | BRN | 882 | Right Rear Wheel Speed Sensor Signal | ||||||||
P | WHT | 883 | Right Rear Wheel Speed Sensor Low Reference (JL9/JM4) | P | WHT | 883 | Right Rear Wheel Speed Sensor Low Reference | ||||||||
R | LT BLU | 1122 | ABS/TCS Class 2 Serial Data (JL9/JM4) | R | LT BLU | 1122 | ABS/TCS Class 2 Serial Data | ||||||||
S | DK GRN | 1049 | PCM Class 2 Serial Data | S | DK GRN | 1049 | PCM Class 2 Serial Data | ||||||||
T | -- | -- | Not Used | T | -- | -- | Not Used | ||||||||
U | DK GRN/WHT | 762 | A/C Request Signal | U | DK GRN/WHT | 762 | A/C Request Signal (CJ3) | ||||||||
V | BRN/WHT | 419 | MIL Control | V | BRN/WHT | 419 | MIL Control | ||||||||
W | PPL | 1589 | Fuel Level Sensor Signal | W | PPL | 1589 | Fuel Level Sensor Signal | ||||||||
|
| ||||||||||||||
|---|---|---|---|---|---|---|---|---|---|---|---|---|---|---|---|
Connector Part Information |
| Connector Part Information |
| ||||||||||||
Pin | Wire Color | Circuit No. | Function | Pin | Wire Color | Circuit No. | Function | ||||||||
A | PNK | 639 | Ignition 1 Voltage | A | PNK | 639 | Ignition 1 Voltage | ||||||||
B | YEL | 410 | ECT Sensor Signal | B | YEL | 410 | ECT Sensor Signal | ||||||||
C | BLK | 1744 | Fuel Injection 1 Control | C | BLK | 1744 | Fuel Injection 1 Control | ||||||||
D | LT GRN/BLK | 1745 | Fuel Injection 2 Control | D | LT GRN/BLK | 1745 | Fuel Injection 2 Control | ||||||||
E | PNK/BLK | 1746 | Fuel Injection 3 Control | E | PNK/BLK | 1746 | Fuel Injection 3 Control | ||||||||
F | LT BLU/ BLK | 844 | Fuel Injection 4 Control | F | LT BLU/ BLK | 844 | Fuel Injection 4 Control | ||||||||
G | BLK/WHT | 845 | Fuel Injection 5 Control | G | BLK/WHT | 845 | Fuel Injection 5 Control | ||||||||
H | YEL/BLK | 846 | Fuel Injection 6 Control | H | YEL/BLK | 846 | Fuel Injection 6 Control | ||||||||
J | -- | -- | Not Used | J | -- | -- | Not Used | ||||||||
K | GRY | 2704 | 5-Volt Reference | K | GRY | 2704 | 5-Volt Reference | ||||||||
L | ORN/BLK | 469 | Low Reference | L | ORN/BLK | 469 | Low Reference | ||||||||
M | LT GRN | 432 | MAP Sensor Signal | M | LT GRN | 432 | MAP Sensor Signal | ||||||||
N | RED/WHT | 812 | 12-Volt Reference | N | RED/WHT | 812 | 12-Volt Reference | ||||||||
P | BLK | 407 | Low Reference | P | BLK | 407 | Low Reference | ||||||||
R | BRN/WHT | 633 | CMP Sensor Signal | R | BRN/WHT | 633 | CMP Sensor Signal | ||||||||
S | -- | -- | Not Used | S | -- | -- | Not Used | ||||||||
|
| ||||||||||||||
|---|---|---|---|---|---|---|---|---|---|---|---|---|---|---|---|
Connector Part Information |
| Connector Part Information |
| ||||||||||||
Pin | Wire Color | Circuit No. | Function | Pin | Wire Color | Circuit No. | Function | ||||||||
A | BLK | 1350 | Ground | A | BLK | -- | Ground | ||||||||
B | DK GRN | 29 | Horn Control | B | BLK | -- | Horn Control | ||||||||
|
| ||||||||||||||
|---|---|---|---|---|---|---|---|---|---|---|---|---|---|---|---|
Connector Part Information |
| Connector Part Information |
| ||||||||||||
Pin | Wire Color | Circuit No. | Function | Pin | Wire Color | Circuit No. | Function | ||||||||
A | GRY | 532 | Cooling Fan Low Reference | A | GRY | 532 | Cooling Fan Low Reference | ||||||||
B | LT BLU | 409 | Cooling Fan Motor Supply Voltage | B | LT BLU | 409 | Cooling Fan Motor Supply Voltage | ||||||||
C | BLK | 1050 | Ground | C | BLK | 1050 | Ground | ||||||||
D | WHT | 504 | Cooling Fan Motor Supply Voltage | D | WHT | 504 | Cooling Fan Motor Supply Voltage | ||||||||
|
| ||||||||||||||
|---|---|---|---|---|---|---|---|---|---|---|---|---|---|---|---|
Connector Part Information |
| Connector Part Information |
| ||||||||||||
Pin | Wire Color | Circuit No. | Function | Pin | Wire Color | Circuit No. | Function | ||||||||
A | BLK | 1350 | Ground | A | BLK | -- | Ground | ||||||||
B | BRN | 9 | Park Lamp Supply Voltage | B | WHT | -- | Park Lamp Supply Voltage | ||||||||
C | -- | -- | Not Used | C | -- | -- | Not Used | ||||||||
D | LT BLU | 14 | Left Turn Signal Lamps Supply Voltage | D | WHT/BLU | -- | Left Turn Signal Lamps Supply Voltage | ||||||||
E | BRN | 9 | Park Lamp Supply Voltage | E | PPL | -- | Park Lamp Supply Voltage | ||||||||
F | ORN | 1640 | Battery Positive Voltage | F | GRN | -- | Battery Positive Voltage | ||||||||
G | PNK | 1200 | Headlamp High Beam Signal | G | YEL | -- | Headlamp High Beam Signal | ||||||||
H | ORN/BLK | 1640 | Battery Positive Voltage | H | RED | -- | Battery Positive Voltage | ||||||||
J | DK BLU | 1201 | Headlamp Low Beam Signal | J | BLU | -- | Headlamp Low Beam Signal | ||||||||
K | ORN | 57 | Left Cornering Lamp Supply Voltage | K | ORN | -- | Left Cornering Lamp Supply Voltage | ||||||||
|
| ||||||||||||||
|---|---|---|---|---|---|---|---|---|---|---|---|---|---|---|---|
Connector Part Information |
| Connector Part Information |
| ||||||||||||
Pin | Wire Color | Circuit No. | Function | Pin | Wire Color | Circuit No. | Function | ||||||||
A | BLK | 1350 | Ground | A | BLK | -- | Ground | ||||||||
B | BRN | 9 | Park Lamp Supply Voltage | B | WHT | -- | Park Lamp Supply Voltage | ||||||||
C | -- | -- | Not Used | C | -- | -- | Not Used | ||||||||
D | DK BLU | 15 | Right Turn Signal Lamps Supply Voltage | D | WHT/BLU | -- | Right Turn Signal Lamps Supply Voltage | ||||||||
E | BRN/WHT | 9 | Park Lamp Supply Voltage | E | PPL | -- | Park Lamp Supply Voltage | ||||||||
F | ORN | 1740 | Battery Positive Voltage | F | GRN | -- | Battery Positive Voltage | ||||||||
G | PNK/BLK | 1200 | Headlamp High Beam Signal | G | YEL | -- | Headlamp High Beam Signal | ||||||||
H | ORN/BLK | 1740 | Battery Positive Voltage | H | RED | -- | Battery Positive Voltage | ||||||||
J | DK BLU/WHT | 1201 | Headlamp Low Beam Signal | J | BLU | -- | Headlamp Low Beam Signal | ||||||||
K | BLK | 58 | Right Cornering Lamp Supply Voltage | K | ORN | -- | Right Cornering Lamp Supply Voltage | ||||||||
|
| ||||||||||||||||||
|---|---|---|---|---|---|---|---|---|---|---|---|---|---|---|---|---|---|---|---|
Connector Part Information |
| Connector Part Information |
| ||||||||||||||||
Pin | Wire Color | Circuit No. | Function | Pin | Wire Color | Circuit No. | Function | ||||||||||||
A | LT GRN | 1222 | 1-2 Shift Solenoid Valve Control | A | LT GRN | 1222 | 1-2 Shift Solenoid Valve Control | ||||||||||||
B | YEL/BLK | 1223 | 2-3 Shift Solenoid Valve Control | B | YEL | 1223 | 2-3 Shift Solenoid Valve Control | ||||||||||||
C | RED/BLK | 1228 | PC Solenoid Valve High Control | C | PPL | 1228 | PC Solenoid Valve High Control | ||||||||||||
D | LT BLU/WHT | 1229 | PC Solenoid Valve Low Control | D | LT BLU | 1229 | PC Solenoid Valve Low Control | ||||||||||||
E | PNK | 1039 | Ignition 1 Voltage | E | RED | 839 | Ignition 1 Voltage | ||||||||||||
F | BLK/WHT | 771 | Transmission Range Signal A | F | DK GRN/WHT | 771 | Transmission Range Signal A | ||||||||||||
G | YEL | 772 | Transmission Range Signal B | G | RED/BLK | 772 | Transmission Range Signal B | ||||||||||||
H | GRY | 773 | Transmission Range Signal C | H | YEL/BLK | 773 | Transmission Range Signal C | ||||||||||||
J | WHT | 776 | Transmission Range Signal P | J | WHT | 776 | Transmission Range Signal P | ||||||||||||
K | BLK/WHT | 451 | Ground | K | BLK/WHT | 1050 | Ground | ||||||||||||
L | YEL/BLK | 1227 | TFT Sensor Signal | L | BRN | 1227 | TFT Sensor Signal | ||||||||||||
M | BLK | 2762 | Low Reference | M | GRY | 452 | Low Reference | ||||||||||||
N-R | -- | -- | Not Used | N-R | -- | -- | Not Used | ||||||||||||
S | RED/BLK | 1230 | A/T ISS High Signal | S | BLK | 1230 | A/T ISS High Signal | ||||||||||||
T | BRN | 418 | TCC PWM Solenoid Valve Control | T | TAN | 418 | TCC PWM Solenoid Valve Control | ||||||||||||
U | YEL | 657 | TCC Release Switch Signal | U | WHT | 1804 | TCC Release Switch Signal | ||||||||||||
V | DK BLU/WHT | 1231 | A/T ISS Low Signal | V | DK GRN | 1231 | A/T ISS Low Signal | ||||||||||||
W | -- | -- | Not Used | W | ORN | 1786 | Park/Neutral Signal | ||||||||||||
|
| ||||||||||||||
|---|---|---|---|---|---|---|---|---|---|---|---|---|---|---|---|
Connector Part Information |
| Connector Part Information |
| ||||||||||||
Pin | Wire Color | Circuit No. | Function | Pin | Wire Color | Circuit No. | Function | ||||||||
A | YEL | 61 | Low Reference | A | YEL | 61 | Low Reference | ||||||||
B | LT GRN/ BLK | 735 | Ambient Air Temperature Sensor Signal | B | LT GRN/ BLK | 735 | Ambient Air Temperature Sensor Signal | ||||||||
|
| ||||||||||||||
|---|---|---|---|---|---|---|---|---|---|---|---|---|---|---|---|
Connector Part Information |
| Connector Part Information |
| ||||||||||||
Pin | Wire Color | Circuit No. | Function | Pin | Wire Color | Circuit No. | Function | ||||||||
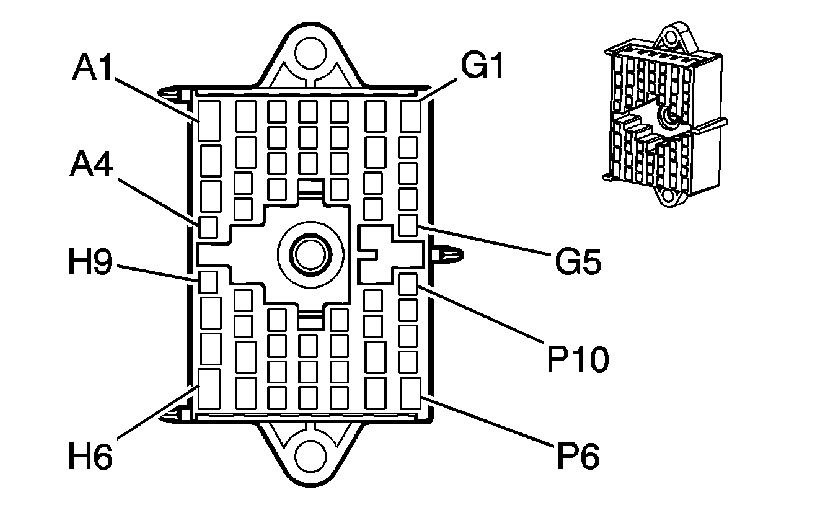
A1 | ORN | 1240 | Battery Positive Voltage | A1 | ORN/BLK | 1240 | Battery Positive Voltage (UE1) | ||||||||
A2 | GRY | 120 | Accessory Voltage | A2 | GRY | 120 | Accessory Voltage | ||||||||
A3 | PPL | 293 | Rear Defogger Element Supply Voltage | A3 | PPL | 293 | Rear Defogger Element Supply Voltage | ||||||||
A4 | GRY | 8 | Instrument Panel Lamps Dimmer Switch Signal | A4 | GRY | 8 | Instrument Panel Lamps Dimmer Switch Signal | ||||||||
GRY | 8 | Instrument Panel Lamps Dimmer Switch Signal (W/O KA1) | |||||||||||||
B1 | ORN | 340 | Battery Positive Voltage | B1 | ORN | 340 | Battery Positive Voltage | ||||||||
B2 | PNK | 314 | Radio On Signal | B2 | PNK | 314 | Radio On Signal | ||||||||
B3 | BRN | 41 | Ignition 3 Voltage | B3 | -- | -- | Not Used | ||||||||
B4 | PPL | 1589 | Fuel Level Sensor Signal | B4 | PPL | 1589 | Fuel Level Sensor Signal | ||||||||
C1 | DK BLU | 546 | Right Rear Low Level Audio Signal (+) (UQ3/UX7 w/UK3) | C1 | DK BLU | 46 | Right Rear Speaker Output (+) (UQ3/UX7) | ||||||||
DK BLU | 46 | Right Rear Speaker Output (+) (UQ3/UX7 w/o UK3) | |||||||||||||
C2 | LT GRN/WHT | 1948 | Right Front Low Level Audio Signal (-) (UQ3/UX7 w/UK3) | C2 | DK GRN | 117 | Right Front Speaker Output (-) (UQ3/UX7) | ||||||||
DK GRN | 117 | Right Front Speaker Output (-) (UQ3/UX7 w/o UK3) | |||||||||||||
C3 | BLK | 1946 | Right Rear Low Level Audio Signal (-) (UQ3/UX7 w/UK3) | C3 | LT BLU | 115 | Right Rear Speaker Output (-) (UQ3/UX7) | ||||||||
LT BLU | 115 | Right Rear Speaker Output (-) (UQ3/UX7 w/o UK3) | |||||||||||||
C4 | DK GRN | 1947 | Left Front Low Level Audio Signal (-) (UQ3/UX7 w/UK3) | C4 | GRY | 118 | Left Front Speaker Output (-) (UQ3/UX7) | ||||||||
GRY | 118 | Left Front Speaker Output (-) (UQ3/UX7 w/o UK3) | |||||||||||||
D1 | PPL | 2232 | Amplifier Present Signal (UQ3/UX7 w/UK3) | D1 | -- | -- | Not Used | ||||||||
D2 | TAN | 511 | Left Front Low Level Audio Signal (+) (UQ3/UX7 w/UK3) | D2 | TAN | 201 | Left Front Speaker Output (+) (UQ3/UX7) | ||||||||
TAN | 201 | Left Front Speaker Output (+) (UQ3/UX7 w/o UK3) | |||||||||||||
D3 | LT GRN | 512 | Right Front Low Level Audio Signal (+) (UQ3/UX7 w/UK3) | D3 | LT GRN | 200 | Right Front Speaker Output (+) (UQ3/UX7) | ||||||||
LT GRN | 200 | Right Front Speaker Output (+) (UQ3/UX7 w/o UK3) | |||||||||||||
E1 | BRN | 882 | Right Rear Wheel Speed Sensor Signal | E1 | BRN | 882 | Right Rear Wheel Speed Sensor Signal | ||||||||
E2 | WHT | 883 | Right Rear Wheel Speed Sensor Low Reference | E2 | WHT | 883 | Right Rear Wheel Speed Sensor Low Reference | ||||||||
E3 | BLK | 884 | Left Rear Wheel Speed Sensor Signal | E3 | BLK | 884 | Left Rear Wheel Speed Sensor Signal | ||||||||
E4 | RED | 885 | Left Rear Wheel Speed Sensor Low Reference | E4 | RED | 885 | Left Rear Wheel Speed Sensor Low Reference | ||||||||
F1 | TAN | 694 | Driver Door Lock Actuator Unlock Control | F1 | TAN | 694 | Driver Door Lock Actuator Unlock Control | ||||||||
F2 | -- | -- | Not Used | F2 | -- | -- | Not Used | ||||||||
F3 | BLK | 452 | Low Reference | F3 | BLK | 452 | Low Reference | ||||||||
F4 | DK GRN | 890 | Fuel Tank Pressure Sensor Signal | F4 | DK GRN | 890 | Fuel Tank Pressure Sensor Signal | ||||||||
G1 | BLK/WHT | 56 | Trunk Release Motor Supply Voltage | G1 | BLK/WHT | 56 | Trunk Release Motor Supply Voltage | ||||||||
G2 | LT GRN/BLK | 1098 | VCM Class 2 Serial Data | G2 | LT GRN/BLK | 1098 | VCM Class 2 Serial Data | ||||||||
G3 | DK BLU/ WHT | 727 | Secondary Door Latch Switch Signal | G3 | DK BLU/ WHT | 727 | Secondary Door Latch Switch Signal | ||||||||
G4 | WHT | 156 | Courtesy Lamp Switch Signal | G4 | WHT | 156 | Courtesy Lamp Switch Signal | ||||||||
G5 | ORN/BLK | 737 | Trunk Ajar Switch Signal | G5 | ORN/BLK | 737 | Trunk Ajar Switch Signal | ||||||||
H6 | -- | -- | Not Used | H6-H7 | -- | -- | Not Used | ||||||||
H7 | BLK/WHT | 351 | Ground | ||||||||||||
BLK/WHT | 351 | Ground | |||||||||||||
H8 | YEL | 143 | Accessory Voltage | H8 | YEL | 143 | Accessory Voltage | ||||||||
H9 | DK GRN | 19 | Right Rear Stop/Turn Lamp Supply Voltage | H9 | DK GRN | 19 | Right Rear Stop/Turn Lamp Supply Voltage | ||||||||
J6 | BLK/WHT | 238 | Seat Belt Switch - Left | J6 | BLK/WHT | 238 | Seat Belt Switch - Left | ||||||||
J7 | ORN | 1732 | Courtesy Lamps Supply Voltage | J7 | ORN | 1732 | Courtesy Lamps Supply Voltage | ||||||||
J8 | DK BLU | 49 | Driver Door Open Switch Signal | J8 | DK BLU | 49 | Driver Door Open Switch Signal | ||||||||
J9 | RED/BLK | 780 | Driver Door Lock Switch Lock Signal | J9 | RED/BLK | 780 | Driver Door Lock Switch Lock Signal | ||||||||
RED/BLK | 780 | Driver Door Lock Switch Lock Signal | |||||||||||||
K6 | ORN/BLK | 781 | Driver Door Lock Switch Unlock Signal | K6 | ORN/BLK | 781 | Driver Door Lock Switch Unlock Signal | ||||||||
ORN/BLK | 781 | Driver Door Lock Switch Unlock Signal | |||||||||||||
K7 | BARE | 814 | Drain Wire | K7 | BARE | 814 | Drain Wire (UE1) | ||||||||
K8 | BLK/WHT | 372 | Remote Radio Audio Output (-) | K8 | BLK/WHT | 372 | Remote Radio Audio Output (-) (UE1) | ||||||||
K9 | WHT | 17 | Stop Lamp Switch Signal | K9 | WHT | 17 | Stop Lamp Switch Signal | ||||||||
L6 | PNK | 339 | Ignition 1 Voltage | L6 | PNK | 339 | Ignition 1 Voltage | ||||||||
L7 | ORN | 1140 | Battery Positive Voltage | L7 | ORN | 1140 | Battery Positive Voltage | ||||||||
L8 | BRN/WHT | 367 | Remote Radio Left Audio Signal | L8 | BRN/WHT | 367 | Remote Radio Left Audio Signal (UE1) | ||||||||
M6 | LT GRN | 24 | Backup Lamp Supply Voltage | M6 | LT GRN | 24 | Backup Lamp Supply Voltage | ||||||||
M7 | YEL | 18 | Left Rear Stop/Turn Lamp Supply Voltage | M7 | YEL | 18 | Left Rear Stop/Turn Lamp Supply Voltage | ||||||||
M8 | WHT | 1310 | EVAP Canister Vent Solenoid Valve Control | M8 | WHT | 1310 | EVAP Canister Vent Solenoid Valve Control | ||||||||
M9 | BRN | 599 | Left Rear Low Level Audio Signal (+) (UQ3/UX7 w/UK3) | M9 | BRN | 199 | Left Rear Speaker Output (+) (UQ3/UX7) | ||||||||
BRN | 199 | Left Rear Speaker Output (+) (UQ3/UX7 w/o UK3) | |||||||||||||
N6 | TAN | 294 | Door Lock Actuator Unlock Control | N6 | TAN | 294 | Door Lock Actuator Unlock Control | ||||||||
N7 | GRY | 295 | Door Lock Actuator Lock Control | N7 | GRY | 295 | Door Lock Actuator Lock Control | ||||||||
N8 | BRN/WHT | 1999 | Left Rear Low Level Audio Signal (-) (UQ3/UX7 w/UK3 ) | N8 | YEL | 116 | Left Rear Speaker Output (-) (UQ3/UX7) | ||||||||
YEL | 116 | Left Rear Speaker Output (-) (UQ3/UX7 w/o UK3) | |||||||||||||
N9 | BRN/WHT | 301 | Park Lamp Switch ON Signal | N9 | BRN/WHT | 301 | Park Lamp Switch ON Signal | ||||||||
P6-P8 | -- | -- | Not Used | P6-P8 | -- | -- | Not Used | ||||||||
P9 | GRY | 474 | 5-Volt Reference | P9 | GRY | 474 | 5-Volt Reference | ||||||||
P10 | DK GRN | 145 | Antenna Relay Coil Supply Voltage | P10 | -- | -- | Not Used | ||||||||
|
| ||||||||||||||||||||||
|---|---|---|---|---|---|---|---|---|---|---|---|---|---|---|---|---|---|---|---|---|---|---|---|
Connector Part Information |
| Connector Part Information |
| ||||||||||||||||||||
Pin | Wire Color | Circuit No. | Function | Pin | Wire Color | Circuit No. | Function | ||||||||||||||||
A1 | PNK | 1200 | Headlamp High Beam Signal | A1 | PNK | 1200 | Headlamp High Beam Signal | ||||||||||||||||
A2 | DK BLU | 1201 | Headlamp Low Beam Signal | A2 | DK BLU | 1201 | Headlamp Low Beam Signal | ||||||||||||||||
A3 | YEL | 10 | Headlamp Switch Signal | A3 | YEL | 10 | Headlamp Switch Signal | ||||||||||||||||
A4 | BLK | 1450 | Ground | A4 | BLK | 1750 | Ground | ||||||||||||||||
A5 | -- | -- | Not Used | A5 | -- | -- | Not Used | ||||||||||||||||
A6 | PNK | 739 | Ignition 1 Voltage | A6 | BRN | 341 | Ignition 3 Voltage | ||||||||||||||||
A7 | GRY/BLK | 87 | Cruise Resume/Accel Switch Signal | A7 | GRY/BLK | 87 | Cruise Resume/Accel Switch Signal | ||||||||||||||||
A8 | DK BLU | 84 | Cruise Control SET/COAST Switch Signal | A8 | DK BLU | 84 | Cruise Control SET/COAST Switch Signal | ||||||||||||||||
A9 | GRY | 397 | Cruise Control ON Switch Signal | A9 | GRY | 397 | Cruise Control ON Switch Signal | ||||||||||||||||
A10 | BLK | 150 | Ground | A10 | ORN/BLK | 434 | Neutral Safety Switch Signal | ||||||||||||||||
A11 | DK GRN/ WHT | 1135 | AT Shift Lock Control Solenoid Supply Voltage | A11 | DK GRN/ WHT | 1135 | AT Shift Lock Control Solenoid Supply Voltage | ||||||||||||||||
A12 | DK BLU | 1415 | Right Turn Signal Switch Signal | A12 | DK BLU/ WHT | 1415 | Right Turn Signal Switch Signal | ||||||||||||||||
A13 | LT BLU | 1414 | Left Turn Signal Switch Signal | A13 | LT BLU/ WHT | 1414 | Left Turn Signal Switch Signal | ||||||||||||||||
A14 | ORN | 57 | Left Cornering Lamp Supply Voltage | A14 | ORN | 57 | Left Cornering Lamp Supply Voltage | ||||||||||||||||
A15 | BLK | 58 | Right Cornering Lamp Supply Voltage | A15 | BLK | 58 | Right Cornering Lamp Supply Voltage | ||||||||||||||||
A16 | -- | -- | Not Used | A16 | -- | -- | Not Used | ||||||||||||||||
A17 | BLK | 28 | Horn Relay Control | A17 | BLK | 28 | Horn Relay Control | ||||||||||||||||
B1 | -- | -- | Not Used | B1-B2 | -- | -- | Not Used | ||||||||||||||||
B2 | BLK | 150 | Ground | ||||||||||||||||||||
B3 | LT GRN | 80 | Key In Ignition Switch Signal | B3 | LT GRN | 80 | Key In Ignition Switch Signal | ||||||||||||||||
B4 | TAN | 159 | Ground | B4 | BLK | 1550 | Ground | ||||||||||||||||
B5 | TAN/WHT | 33 | Brake Warning Indicator Control | B5-B6 | -- | -- | Not Used | ||||||||||||||||
B6 | -- | -- | Not Used | ||||||||||||||||||||
C1 | WHT | 1390 | Ignition 0 Voltage | C1 | DK GRN | 500 | Ignition 0 Voltage | ||||||||||||||||
C2 | BLK | 150 | Ground | C2 | BLK | 1550 | Ground | ||||||||||||||||
C3-C4 | -- | -- | Not Used | C3-C4 | -- | -- | Not Used | ||||||||||||||||
C5 | PNK | 3 | Ignition 1 Voltage | C5 | PNK | 3 | Ignition 1 Voltage | ||||||||||||||||
C6 | ORN | 300 | Ignition 3 Voltage | C6 | ORN | 300 | Ignition 3 Voltage | ||||||||||||||||
D1 | YEL | 5 | Crank Voltage | D1 | YEL | 5 | Crank Voltage | ||||||||||||||||
D2 | RED | 1342 | Battery Positive Voltage | D2 | RED | 142 | Battery Positive Voltage | ||||||||||||||||
D3-D4 | -- | -- | Not Used | D3-D4 | -- | -- | Not Used | ||||||||||||||||
D5 | RED/WHT | 1442 | Battery Positive Voltage | D5 | RED | 42 | Battery Positive Voltage | ||||||||||||||||
D6 | BRN | 4 | Accessory Voltage | D6 | BRN | 4 | Accessory Voltage | ||||||||||||||||
E1 | PPL | 92 | Windshield Wiper Motor High Speed | E1 | PPL | 92 | Windshield Wiper Motor High Speed | ||||||||||||||||
E2 | GRY | 112 | Windshield Wiper Switch Signal 2 | E2 | GRY | 112 | Windshield Wiper Switch Signal 2 | ||||||||||||||||
E3 | DK GRN | 113 | Windshield Wiper Switch Signal 1 | E3 | DK GRN | 113 | Windshield Wiper Switch Signal 1 | ||||||||||||||||
E4 | RED | 228 | Windshield Washer Pump Control | E4 | RED | 228 | Windshield Washer Pump Control | ||||||||||||||||
E5 | YEL | 243 | Accessory Voltage | E5 | YEL | 243 | Accessory Voltage | ||||||||||||||||
E6 | ORN | 1508 | Turn/Hazard Module Supply Voltage | E6 | LT BLU | 1508 | Turn/Hazard Module Supply Voltage | ||||||||||||||||
E7 | PNK | 539 | Ignition 1 Voltage | E7 | PNK | 539 | Ignition 1 Voltage | ||||||||||||||||
E8 | LT BLU | 1508 | Turn/Hazard Module Supply Voltage | E8 | LT BLU | 1508 | Turn/Hazard Module Supply Voltage | ||||||||||||||||
E9 | ORN | 1840 | Battery Positive Voltage | E9 | ORN | 1840 | Battery Positive Voltage | ||||||||||||||||
E10 | YEL | 18 | Left Rear Stop/Turn Lamp Supply Voltage | E10 | YEL | 18 | Left Rear Stop/Turn Lamp Supply Voltage | ||||||||||||||||
E11 | DK GRN | 19 | Right Rear Stop/Turn Lamp Supply Voltage | E11 | DK GRN | 19 | Right Rear Stop/Turn Lamp Supply Voltage | ||||||||||||||||
E12 | WHT | 17 | Stop Lamp Switch Signal | E12 | WHT | 17 | Stop Lamp Switch Signal | ||||||||||||||||
E13 | PPL | 16 | Turn Signal Flasher Signal | E13 | PPL | 16 | Turn Signal Flasher Signal | ||||||||||||||||
|
| ||||||||||||||
|---|---|---|---|---|---|---|---|---|---|---|---|---|---|---|---|
Connector Part Information |
| Connector Part Information |
| ||||||||||||
Pin | Wire Color | Circuit No. | Function | Pin | Wire Color | Circuit No. | Function | ||||||||
A | YEL | 43 | Accessory Voltage | A | GRY | -- | Accessory Voltage | ||||||||
B | GRY | 8 | Instrument Panel Lamps Dimmer Switch Signal | B | DK BLU | -- | Instrument Panel Lamps Dimmer Switch Signal | ||||||||
DK BLU | -- | Instrument Panel Lamps Dimmer Switch Signal | |||||||||||||
C | LT GRN | 1011 | Remote Radio Control Signal | C | WHT | -- | Remote Radio Control Signal | ||||||||
WHT | -- | Remote Radio Control Signal | |||||||||||||
D | BLK/WHT | 152 | Ground | D | RED | -- | Ground | ||||||||
RED | -- | Ground | |||||||||||||
|
| ||||||||||||||||||
|---|---|---|---|---|---|---|---|---|---|---|---|---|---|---|---|---|---|---|---|
Connector Part Information |
| Connector Part Information |
| ||||||||||||||||
Pin | Wire Color | Circuit No. | Function | Pin | Wire Color | Circuit No. | Function | ||||||||||||
A | YEL | 43 | Accessory Voltage | A | PPL | 2335 | Steering Wheel Control Supply Voltage | ||||||||||||
B | GRY | 8 | Instrument Panel Lamps Dimmer Switch Signal | B | GRY/BLK | 1458 | Instrument Panel Lamp Supply Voltage-4 | ||||||||||||
C | LT GRN | 1011 | Steering Wheel Controls Signal | C | DK BLU | 1796 | Steering Wheel Controls Signal | ||||||||||||
D | BLK | 152 | Ground | D | BLK | 1450 | Ground | ||||||||||||
|
| ||||||||||||||
|---|---|---|---|---|---|---|---|---|---|---|---|---|---|---|---|
Connector Part Information |
| Connector Part Information |
| ||||||||||||
Pin | Wire Color | Circuit No. | Function | Pin | Wire Color | Circuit No. | Function | ||||||||
A | WHT | 1073 | Ignition Key Resistor Signal | A | WHT/BLK | 1073 | Ignition Key Resistor Signal | ||||||||
B | WHT | 1074 | Ignition Key Resistor Low Reference | B | PPL/WHT | 1074 | Ignition Key Resistor Low Reference | ||||||||
|
| ||||||||||||||
|---|---|---|---|---|---|---|---|---|---|---|---|---|---|---|---|
Connector Part Information |
| Connector Part Information |
| ||||||||||||
Pin | Wire Color | Circuit No. | Function | Pin | Wire Color | Circuit No. | Function | ||||||||
A | WHT | 347 | Steering Wheel Module - High Control | A | WHT | 347 | Steering Wheel Module - High Control | ||||||||
B | DK GRN | 348 | Steering Wheel Module - Low Control | B | DK GRN | 348 | Steering Wheel Module - Low Control | ||||||||
|
| ||||||||||||||
|---|---|---|---|---|---|---|---|---|---|---|---|---|---|---|---|
Connector Part Information |
| Connector Part Information |
| ||||||||||||
Pin | Wire Color | Circuit No. | Function | Pin | Wire Color | Circuit No. | Function | ||||||||
A | WHT/BLK | 1403 | I/P Module - High Control | A | WHT | 1403 | I/P Module - High Control | ||||||||
B | DK GRN/ WHT | 1404 | I/P Module - Low Control | B | DK GRN | 1404 | I/P Module - Low Control | ||||||||
|
| ||||||||||||||||||
|---|---|---|---|---|---|---|---|---|---|---|---|---|---|---|---|---|---|---|---|
Connector Part Information |
| Connector Part Information |
| ||||||||||||||||
Pin | Wire Color | Circuit No. | Function | Pin | Wire Color | Circuit No. | Function | ||||||||||||
A | ORN | 2540 | Battery Positive Voltage | A | ORN | 40 | Battery Positive Voltage | ||||||||||||
B | BLK | 1450 | Ground | B | BLK | 150 | Ground | ||||||||||||
C | GRY | 8 | Instrument Panel Lamps Dimmer Switch Signal (Early Production) | C | -- | -- | Not Used | ||||||||||||
|
| ||||||||||||||
|---|---|---|---|---|---|---|---|---|---|---|---|---|---|---|---|
Connector Part Information |
| Connector Part Information |
| ||||||||||||
Pin | Wire Color | Circuit No. | Function | Pin | Wire Color | Circuit No. | Function | ||||||||
A1 | -- | -- | Not Used | A1 | -- | -- | Not Used | ||||||||
A2 | BLK | 750 | Ground | A2 | BLK/WHT | 750 | Ground | ||||||||
A3 | YEL | 143 | Accessory Voltage | A3 | YEL | 143 | Accessory Voltage | ||||||||
A4 | DK BLU | 1307 | Power Window Master Switch Lockout Signal | A4 | DK BLU | 1307 | Power Window Master Switch Lockout Signal | ||||||||
A5 | PPL | 169 | Power Window Master Switch Left Rear Down Signal | A5 | PPL | 169 | Power Window Master Switch Left Rear Down Signal | ||||||||
A6 | DK GRN | 168 | Power Window Master Switch Left Rear Up Signal | A6 | DK GRN | 168 | Power Window Master Switch Left Rear Up Signal | ||||||||
A7-A8 | -- | -- | Not Used | A7-A8 | -- | -- | Not Used | ||||||||
B1 | BLK | 1856 | Left Front Tweeter Speaker Output (+) | B1 | -- | -- | Not Used | ||||||||
B2 | GRY | 118 | Left Front Speaker Output (-) | B2 | GRY | 118 | Left Front Speaker Output (-) | ||||||||
B3 | RED/BLK | 780 | Driver Door Lock Switch Lock Signal | B3 | RED/BLK | 780 | Driver Door Lock Switch Lock Signal | ||||||||
B4 | DK BLU | 727 | Secondary Door Latch Switch Signal | B4 | DK BLU/ WHT | 727 | Secondary Door Latch Switch Signal | ||||||||
B5-B7 | -- | -- | Not Used | B5-B7 | -- | -- | Not Used | ||||||||
B8 | ORN | 1140 | Battery Positive Voltage | B8 | ORN | 1140 | Battery Positive Voltage | ||||||||
B9 | RED/WHT | 881 | Right Mirror Motor Right Control | B9 | RED/WHT | 881 | Right Mirror Motor Right Control | ||||||||
B10 | GRY | 8 | Instrument Panel Lamp Supply Voltage-1 | B10 | GRY | 8 | Instrument Panel Lamp Supply Voltage-1 | ||||||||
B11 | TAN | 694 | Driver Door Lock Actuator Unlock Control | B11 | TAN | 694 | Driver Door Lock Actuator Unlock Control | ||||||||
B12 | -- | -- | Not Used | B12 | -- | -- | Not Used | ||||||||
C1 | YEL | 1956 | Left Front Tweeter Speaker Output (-) | C1 | -- | -- | Not Used | ||||||||
C2 | TAN | 201 | Left Front Speaker Output (+) | C2 | TAN | 201 | Left Front Speaker Output (+) | ||||||||
C3 | ORN/BLK | 781 | Driver Door Lock Switch Unlock Signal | C3 | ORN/BLK | 781 | Driver Door Lock Switch Unlock Signal | ||||||||
C4 | DK BLU/ WHT | 49 | Door Open Switch Signal | C4 | DK BLU | 49 | Door Open Switch Signal | ||||||||
C5-C7 | -- | -- | Not Used | C5-C7 | -- | -- | Not Used | ||||||||
C8 | BLK | 750 | Ground | C8 | BLK | 750 | Ground | ||||||||
C9 | GRY/BLK | 90 | Right Mirror Motor Left Control | C9 | GRY | 90 | Right Mirror Motor Left Control | ||||||||
C10 | PPL/WHT | 889 | Right Mirror Motor Down Control | C10 | PPL/WHT | 889 | Right Mirror Motor Down Control | ||||||||
C11 | GRY | 295 | Door Lock Actuator Lock Control | C11 | GRY | 295 | Door Lock Actuator Lock Control | ||||||||
C12 | -- | -- | Not Used | C12 | -- | -- | Not Used | ||||||||
D1-D2 | -- | -- | Not Used | D1-D2 | -- | -- | Not Used | ||||||||
D3 | LT GRN | 170 | Power Window Master Switch Right Rear Up Signal | D3 | LT GRN | 170 | Power Window Master Switch Right Rear Up Signal | ||||||||
D4 | PPL | 171 | Power Window Master Switch Right Rear Down Signal | D4 | PPL | 171 | Power Window Master Switch Right Rear Down Signal | ||||||||
D5 | LT BLU | 166 | Power Window Master Switch Right Front Up Signal | D5 | LT BLU | 156 | Power Window Master Switch Right Front Up Signal | ||||||||
D6 | TAN | 167 | Power Window Master Switch Right Front Down Signal | D6 | TAN | 167 | Power Window Master Switch Right Front Down Signal | ||||||||
D7-D8 | -- | -- | Not Used | D7-D8 | -- | -- | Not Used | ||||||||
|
| ||||||||||||||
|---|---|---|---|---|---|---|---|---|---|---|---|---|---|---|---|
Connector Part Information |
| Connector Part Information |
| ||||||||||||
Pin | Wire Color | Circuit No. | Function | Pin | Wire Color | Circuit No. | Function | ||||||||
A1-A3 | -- | -- | Not Used | A1-A3 | -- | -- | Not Used | ||||||||
A4 | DK BLU | 1307 | Power Window Master Switch Lockout Signal | A4 | DK BLU | 1307 | Power Window Master Switch Lockout Signal | ||||||||
A5-A8 | -- | -- | Not Used | A5-A8 | -- | -- | Not Used | ||||||||
B1 | LT GRN | 1852 | Right Front Tweeter Speaker Output (+) | B1 | -- | -- | Not Used | ||||||||
B2 | DK GRN | 117 | Right Front Speaker Output (-) | B2 | DK GRN | 117 | Right Front Speaker Output (-) | ||||||||
B3 | RED/BLK | 780 | Driver Door Lock Switch Lock Signal | B3 | RED/BLK | 780 | Driver Door Lock Switch Lock Signal | ||||||||
B4 | DK BLU/ WHT | 727 | Secondary Door Latch Switch Signal | B4 | DK BLU/ WHT | 727 | Secondary Door Latch Switch Signal | ||||||||
B5-B8 | -- | -- | Not Used | B5-B8 | -- | -- | Not Used | ||||||||
B9 | RED/WHT | 881 | Right Mirror Motor Right Control | B9 | RED/WHT | 881 | Right Mirror Motor Right Control | ||||||||
B10 | GRY | 8 | Instrument Panel Lamp Supply Voltage-1 | B10 | GRY | 8 | Instrument Panel Lamp Supply Voltage-1 | ||||||||
B11 | TAN | 294 | Door Lock Actuator Unlock Control | B11 | TAN | 294 | Door Lock Actuator Unlock Control | ||||||||
B12 | -- | -- | Not Used | B12 | -- | -- | Not Used | ||||||||
C1 | PPL | 1952 | Right Front Tweeter Speaker Output (-) | C1 | -- | -- | Not Used | ||||||||
C2 | LT GRN | 200 | Right Front Speaker Output (+) | C2 | LT GRN | 200 | Right Front Speaker Output (+) | ||||||||
C3 | ORN/BLK | 781 | Driver Door Lock Switch Unlock Signal | C3 | ORN/BLK | 781 | Driver Door Lock Switch Unlock Signal | ||||||||
C4-C7 | -- | -- | Not Used | C4-C7 | -- | -- | Not Used | ||||||||
C8 | BLK | 750 | Ground | C8 | BLK | 750 | Ground | ||||||||
C9 | GRY | 90 | Right Mirror Motor Left Control | C9 | GRY | 90 | Right Mirror Motor Left Control | ||||||||
C10 | PPL/WHT | 889 | Right Mirror Motor Down Control | C10 | PPL/WHT | 889 | Right Mirror Motor Down Control | ||||||||
C11 | GRY | 295 | Door Lock Actuator Lock Control | C11 | GRY | 295 | Door Lock Actuator Lock Control | ||||||||
C12 | -- | -- | Not Used | C12 | -- | -- | Not Used | ||||||||
D1-D4 | -- | -- | Not Used | D1-D4 | -- | -- | Not Used | ||||||||
D5 | LT BLU | 166 | Power Window Master Switch Right Front Up Signal | D5 | LT BLU | 166 | Power Window Master Switch Right Front Up Signal | ||||||||
D6 | TAN | 167 | Power Window Master Switch Right Front Down Signal | D6 | TAN | 167 | Power Window Master Switch Right Front Down Signal | ||||||||
D7-D8 | -- | -- | Not Used | D7-D8 | -- | -- | Not Used | ||||||||
|
| ||||||||||||||
|---|---|---|---|---|---|---|---|---|---|---|---|---|---|---|---|
Connector Part Information |
| Connector Part Information |
| ||||||||||||
Pin | Wire Color | Circuit No. | Function | Pin | Wire Color | Circuit No. | Function | ||||||||
A | ORN | 340 | Battery Positive Voltage | A | ORN | 340 | Battery Positive Voltage | ||||||||
B | BLK | 750 | Ground | B | BLK | 750 | Ground | ||||||||
C | -- | -- | Not Used | C | -- | -- | Not Used | ||||||||
D | BLK/WHT | 238 | Seat Belt Switch - Left | D | BLK/WHT | 238 | Seat Belt Switch - Left | ||||||||
E-F | -- | -- | Not Used | E-F | -- | -- | Not Used | ||||||||
|
| ||||||||||||||||||
|---|---|---|---|---|---|---|---|---|---|---|---|---|---|---|---|---|---|---|---|
Connector Part Information |
| Connector Part Information |
| ||||||||||||||||
Pin | Wire Color | Circuit No. | Function | Pin | Wire Color | Circuit No. | Function | ||||||||||||
A | PPL | 169 | Power Window Master Switch Left | A | PPL | 159 | Power Window Master Switch Left | ||||||||||||
B | GRY | 295 | Door Lock Actuator Lock Control | B | GRY | 295 | Door Lock Actuator Lock Control | ||||||||||||
C | -- | -- | Not Used | C | -- | -- | Not Used | ||||||||||||
D | DK BLU | 1307 | Power Window Master Switch Lockout Signal | D | DK BLU | 1307 | Power Window Master Switch Lockout Signal | ||||||||||||
E | TAN | 294 | Door Lock Actuator Unlock Control | E | TAN | 294 | Door Lock Actuator Unlock Control | ||||||||||||
F | DK GRN | 168 | Power Window Master Switch Left Rear Up Signal | F | DK GRN | 168 | Power Window Master Switch Left Rear Up Signal | ||||||||||||
G | -- | -- | Not used | G | -- | -- | Not Used | ||||||||||||
H | BLK | 750 | Ground | H | BLK | 750 | Ground | ||||||||||||
J | DK BLU/ WHT | 727 | Secondary Door Latch Signal | J | DK BLU/ WHT | 727 | Secondary Door Latch Signal | ||||||||||||
K | -- | -- | Not Used | K | -- | -- | Not Used | ||||||||||||
|
| ||||||||||||||||||
|---|---|---|---|---|---|---|---|---|---|---|---|---|---|---|---|---|---|---|---|
Connector Part Information |
| Connector Part Information |
| ||||||||||||||||
Pin | Wire Color | Circuit No. | Function | Pin | Wire Color | Circuit No. | Function | ||||||||||||
A | PPL | 171 | Power Window Master Switch Right Rear Down Signal | A | PPL | 171 | Power Window Master Switch Right Rear Down Signal | ||||||||||||
B | GRY | 295 | Door Lock Actuator Lock Control | B | GRY | 295 | Door Lock Actuator Lock Control | ||||||||||||
C | -- | -- | Not Used | C | -- | -- | Not Used | ||||||||||||
D | DK BLU | 1307 | Power Window Master Switch Lockout Signal | D | DK BLU | 1307 | Power Window Master Switch Lockout Signal | ||||||||||||
E | TAN | 294 | Door Lock Actuator Unlock Control | E | TAN | 294 | Door Lock Actuator Unlock Control | ||||||||||||
F | LT GRN | 170 | Power Window Master Switch Right Rear Up Signal | F | LT GRN | 170 | Power Window Master Switch Right Rear Up Signal | ||||||||||||
G | -- | -- | Not Used | G | -- | -- | Not Used | ||||||||||||
H | BLK | 750 | Ground | H | BLK | 750 | Ground | ||||||||||||
J | DK BLU/ WHT | 727 | Secondary Door Latch Signal | J | DK BLU/ WHT | 727 | Secondary Door Latch Signal | ||||||||||||
K | -- | -- | Not Used | K | -- | -- | Not Used | ||||||||||||
|
| ||||||||||||||||||
|---|---|---|---|---|---|---|---|---|---|---|---|---|---|---|---|---|---|---|---|
Connector Part Information |
| Connector Part Information |
| ||||||||||||||||
Pin | Wire Color | Circuit No. | Function | Pin | Wire Color | Circuit No. | Function | ||||||||||||
A | ORN | 1732 | Courtesy Lamps Supply Voltage | A | ORN | 1732 | Courtesy Lamps Supply Voltage | ||||||||||||
B | WHT | 156 | Courtesy Lamp Low Control | B | WHT | 156 | Courtesy Lamp Low Control | ||||||||||||
C | BLK | 850 | Ground | C | BLK | 850 | Ground | ||||||||||||
D-H | -- | -- | Not Used | D-H | -- | -- | Not Used | ||||||||||||
|
| ||||||||||||||||||
|---|---|---|---|---|---|---|---|---|---|---|---|---|---|---|---|---|---|---|---|
Connector Part Information |
| Connector Part Information |
| ||||||||||||||||
Pin | Wire Color | Circuit No. | Function | Pin | Wire Color | Circuit No. | Function | ||||||||||||
A | BRN/WHT | 301 | Rear Park Lamps Supply Voltage | A | BRN/WHT | 301 | Rear Park Lamps Supply Voltage | ||||||||||||
B | DK GRN | 18 | Left Rear Stop/Turn Lamp Supply Voltage | B | YEL | 18 | Left Rear Stop/Turn Lamp Supply Voltage | ||||||||||||
C | -- | -- | Not Used | C | -- | -- | Not Used | ||||||||||||
D | BLK | 250 | Ground | D | BLK | 250 | Ground | ||||||||||||
E-F | -- | -- | Not Used | E-F | -- | -- | Not Used | ||||||||||||
|
| ||||||||||||||||||
|---|---|---|---|---|---|---|---|---|---|---|---|---|---|---|---|---|---|---|---|
Connector Part Information |
| Connector Part Information |
| ||||||||||||||||
Pin | Wire Color | Circuit No. | Function | Pin | Wire Color | Circuit No. | Function | ||||||||||||
A | BRN/WHT | 301 | Rear Park Lamps Supply Voltage | A | BRN/WHT | 301 | Rear Park Lamps Supply Voltage | ||||||||||||
B | DK GRN | 19 | Right Rear Stop/Turn Lamp Supply Voltage | B | DK GRN | 19 | Right Rear Stop/Turn Lamp Supply Voltage | ||||||||||||
C | -- | -- | Not Used | C | -- | -- | Not Used | ||||||||||||
D | BLK | 350 | Ground | D | BLK | 350 | Ground | ||||||||||||
E-F | -- | -- | Not Used | E-F | -- | -- | Not Used | ||||||||||||
|
| ||||||||||||||
|---|---|---|---|---|---|---|---|---|---|---|---|---|---|---|---|
Connector Part Information |
| Connector Part Information |
| ||||||||||||
Pin | Wire Color | Circuit No. | Function | Pin | Wire Color | Circuit No. | Function | ||||||||
A | YEL | 2516 | Keypad Green LED Signal | A | YEL/BLK | 2516 | Keypad Green LED Signal | ||||||||
B | -- | -- | Not Used | B | -- | -- | Not Used | ||||||||
C | BRN | 2517 | Keypad Red LED Signal | C | BRN/WHT | 2517 | Keypad Red LED Signal | ||||||||
D | LT GRN | 2515 | Keypad Supply Voltage | D | LT GRN/BLK | 2515 | Keypad Supply Voltage | ||||||||
E | DK GRN | 2514 | Keypad Signal | E | DK GRN/WHT | 2514 | Keypad Signal | ||||||||
F | BARE | 1705 | Drain Wire | F | BARE | 1705 | Drain Wire | ||||||||
G | GRY | 655 | Cellular Microphone Signal | G | GRY | 655 | Cellular Microphone Signal | ||||||||
H | -- | -- | Not Used | H | -- | -- | Not Used | ||||||||
|
| ||||||||||||||||||
|---|---|---|---|---|---|---|---|---|---|---|---|---|---|---|---|---|---|---|---|
Connector Part Information |
| Connector Part Information |
| ||||||||||||||||
Pin | Wire Color | Circuit No. | Function | Pin | Wire Color | Circuit No. | Function | ||||||||||||
A | BRN | 882 | Right Rear Wheel Speed Sensor Signal (JL9/JM4) | 1A | BRN | 882 | Right Rear Wheel Speed Sensor Signal | ||||||||||||
B | WHT | 883 | Right Rear Wheel Speed Sensor Low Reference (JL9/JM4) | 1B | WHT | 883 | Right Rear Wheel Speed Sensor Low Reference | ||||||||||||
C | BLK | 884 | Left Rear Wheel Speed Sensor Signal (JL9/JM4) | 1C | BLK | 884 | Left Rear Wheel Speed Sensor Signal | ||||||||||||
D | RED | 885 | Left Rear Wheel Speed Sensor Low Reference (JL9/JM4) | 1D | RED | 885 | Left Rear Wheel Speed Sensor Low Reference | ||||||||||||
A | BLK | 150 | Ground | 3A | BLK | 650 | Ground | ||||||||||||
B | BLK/WHT | 651 | Ground | 3B | BLK | 452 | Low Reference | ||||||||||||
C | GRY | 120 | Accessory Voltage | 3C | GRY | 120 | Accessory Voltage | ||||||||||||
D | PPL | 30 | Fuel Level Sensor Signal | 3D | PPL | 1589 | Fuel Level Sensor Signal | ||||||||||||
E | -- | -- | Not Used | 3E | -- | -- | Not Used | ||||||||||||
F | GRY/BLK | 416 | 5-Volt Reference | 3F | GRY | 474 | 5-Volt Reference | ||||||||||||
G | DK GRN | 890 | Fuel Tank Pressure Sensor Signal | 3G | DK GRN | 890 | Fuel Tank Pressure Sensor Signal | ||||||||||||
H | ORN/BLK | 469 | Low Reference | 3H | BLK | 452 | Low Reference | ||||||||||||
|
| ||||||||||||||
|---|---|---|---|---|---|---|---|---|---|---|---|---|---|---|---|
Connector Part Information |
| Connector Part Information |
| ||||||||||||
Pin | Wire Color | Circuit No. | Function | Pin | Wire Color | Circuit No. | Function | ||||||||
A | BLK | 350 | Ground | A | BLK | 350 | Ground | ||||||||
B | ORN/BLK | 737 | Trunk Ajar Switch Signal | B | ORN/BLK | 737 | Trunk Ajar Switch Signal | ||||||||
C | BLK/WHT | 56 | Trunk Release Motor Supply Voltage | C | BLK/WHT | 56 | Trunk Release Motor Supply Voltage | ||||||||
D | LT GRN | 24 | Backup Lamp Supply Voltage | D | LT GRN | 24 | Backup Lamp Supply Voltage | ||||||||
E | BRN/WHT | 301 | Park Lamp Switch ON Signal | E | BRN/WHT | 301 | Park Lamp Switch ON Signal | ||||||||
F-H | -- | -- | Not Used | F-H | -- | -- | Not Used | ||||||||
|
| ||||||||||||||
|---|---|---|---|---|---|---|---|---|---|---|---|---|---|---|---|
Connector Part Information |
| Connector Part Information |
| ||||||||||||
Pin | Wire Color | Circuit No. | Function | Pin | Wire Color | Circuit No. | Function | ||||||||
A | WHT | 17 | Stop Lamp Switch Signal | A | RED | -- | Stop Lamp Switch Signal | ||||||||
B | BLK | 350 | Ground | B | YEL | -- | Ground | ||||||||
|
| ||||||||||||||
|---|---|---|---|---|---|---|---|---|---|---|---|---|---|---|---|
Connector Part Information |
| Connector Part Information |
| ||||||||||||
Pin | Wire Color | Circuit No. | Function | Pin | Wire Color | Circuit No. | Function | ||||||||
A | BRN/WHT | 301 | Rear Park Lamps Supply Voltage | A | BRN/WHT | 301 | Rear Park Lamps Supply Voltage | ||||||||
B | LT GRN | 24 | Backup Lamp Supply Voltage | B | LT GRN | 24 | Backup Lamp Supply Voltage | ||||||||
C | BLK | 350 | Ground | C | BLK | 350 | Ground | ||||||||
D | -- | -- | Not Used | D | -- | -- | Not Used | ||||||||