GM Service Manual Online
For 1990-2009 cars only
Figure 1:

Power, Ground, Antenna, and DLC


Object Number: 1384003  Size: FS
Master Electrical Component List
Radio/Audio System Description and Operation
Speakers (UQ3/UX7 w/o UK3)
Fuse Block - Underhood BAT 1 Fuse, Fuse Block - I/P RADIO, HVAC, RFA, CLSTR ALDL, BCM PWR, ACCY PWR BUS, RADIO PREM SOUND, and LTR Fuses
Fuse Block - I/P R/LAMPS and INT/ILLUM Fuses
Fuse Block - I/P R/LAMPS and INT/ILLUM Fuses
Fuse Block - Underhood BAT 1 Fuse, Fuse Block - I/P RADIO, HVAC, RFA, CLSTR ALDL, BCM PWR, ACCY PWR BUS, RADIO PREM SOUND, and LTR Fuses
I/P Dimmer Switch, HVAC, and IPC
G203, Page 1 of 2
G203, Page 2 of 2
Inputs and Outputs
Data Link Connector (DLC) Schematics
Figure 2:

Speakers - UQ3/UX7 w/o UK3


Object Number: 1225850  Size: FS
Master Electrical Component List
Radio/Audio System Description and Operation
Speakers (UQ3/UX7 w/UK3)
Power, Ground, Antenna, and DLC
Figure 3:

Speakers - UQ3/UX7 w/UK3


Object Number: 1354344  Size: FS
Master Electrical Component List
Radio/Audio System Description and Operation
Steering Wheel Controls (UK3)
Speakers (UQ3/UX7 w/o UK3)
Entertainment Schematic Icons
Entertainment Schematic Icons
Entertainment Schematic Icons
Entertainment Schematic Icons
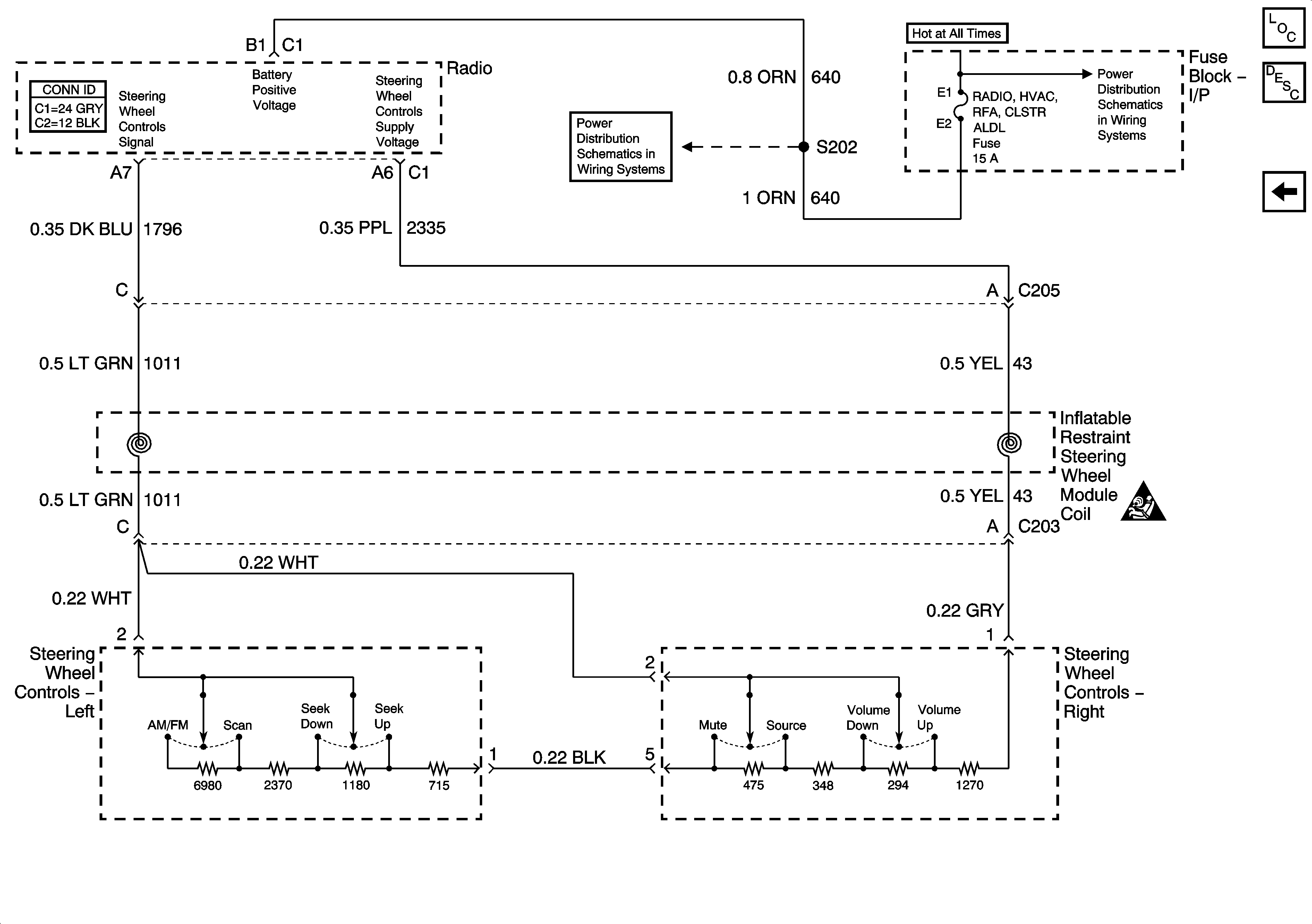
Figure 4:

Steering Wheel Controls - UK3


Object Number: 1384014  Size: FS
Master Electrical Component List
Radio/Audio System Description and Operation
Speakers (UQ3/UX7 w/UK3)
Fuse Block - Underhood BAT 1 Fuse, Fuse Block - I/P RADIO, HVAC, RFA, CLSTR ALDL, BCM PWR, ACCY PWR BUS, RADIO PREM SOUND, and LTR Fuses
Fuse Block - Underhood BAT 1 Fuse, Fuse Block - I/P RADIO, HVAC, RFA, CLSTR ALDL, BCM PWR, ACCY PWR BUS, RADIO PREM SOUND, and LTR Fuses
SIR Caution for Zoning