GM Service Manual Online
For 1990-2009 cars only
Table 1: Fuse Block - Underhood Application Table
Table 2: Fuse Block - Underhood C1
Table 3: Fuse Block - Underhood C2
Table 4: Fuse Block - Underhood C3
Table 5: Fuse Block - Underhood C4
Table 6: Fuse Block - Underhood C5
Table 7: Fuse Block - Underhood C6
Table 8: Fuse Block - Underhood C7 (JL9/JM4)
Table 9: Fuse Application Table (Fuse Block - I/P)
Table 10: Fuse Block - I/P, Wire Pinout

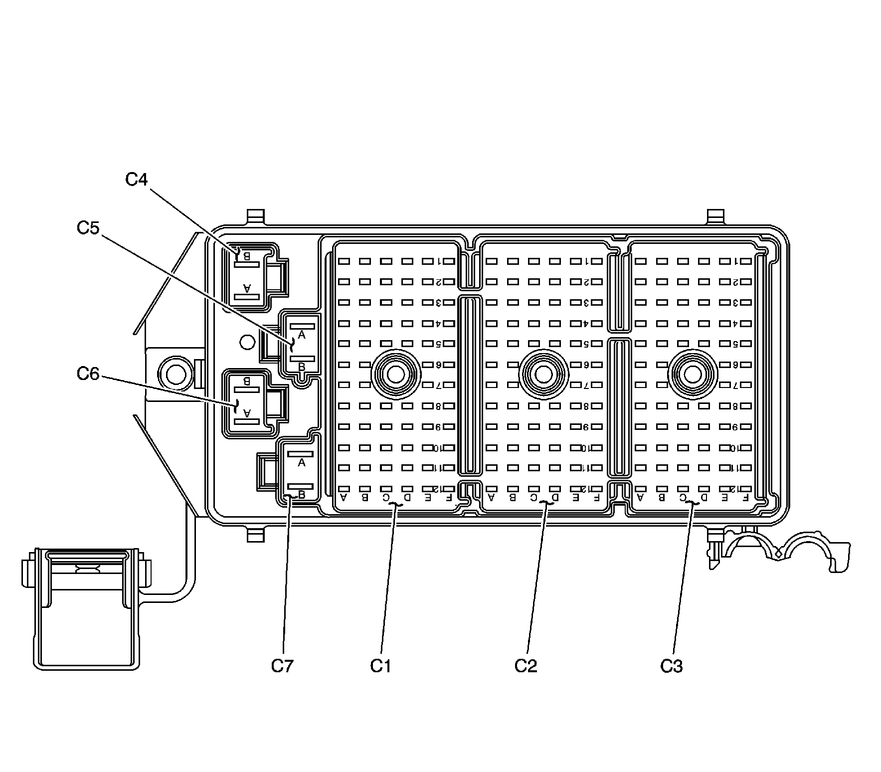
Fuse Block - Underhood, Label


Object Number: 1194011  Size: MF

Fuse Block - Underhood Application Table

No.

Device

Rating

Description

1

ABS Fuse (JL9)

60A

ABS Module

2

CRANK Fuse

40A

CRANK Relay, Starter, BCM, PCM

3

BAT #3 Fuse

60A

ONSTAR Fuse, R/DEFOG and PWR/SEAT Circuit Breakers

4

BAT #2 Fuse

60A

HI/BLWR, HAZRD, STOP LAMPS, DR/LCK, and PWR/MIR Fuses

5

IGN 1 Fuse

30A

Ignition Switch, IGN0:CLSTR, PCM, & BCM, PRK/LCK, ABS, BTSI, TRN/SIG, AIRBAG, CLSTR, PCM, BCM, U/H, and CRNK SIG, BCM, CLSTR Fuses

6

COOL FAN 1 Fuse

25A

COOL FAN 1 Relay, Cooling Fan - Left

7

BAT #1 Fuse

60A

Radio, HVAC, RFA, CLSTR ALDL, BCM PWR, ACCY PWR BUS, RADIO PREM. SOUND, and LTR Fuses

8

IGN 2 Fuse

60A

RAP Relay, Ignition Switch, WPR, BCM ACCY, LOW BLWER, HVAC, and CRUISE Fuses, and PWR WNDW PWR S/ROOF Circuit Breaker

9

COOL FAN 2 RLY

Cooling Fan - Right (during high fan speed operation), Cooling Fan - Left (during low fan speed operation)

10

COOL FAN 3 RLY

--

Cooling Fan - Right

11

CRANK RLY

--

Powertrain Control Module (PCM) and Starter

12

COOL FAN 1 RLY

--

Cooling Fan - Left

13

IGN MAIN RLY

--

OXY SEN, ELEK IGN, F/INJR, TRANS, ENG EMIS Fuses, and A/C CLUTH Relay

14

Empty

--

--

15

A/C CLU RLY

--

A/C Compressor Clutch Coil and A/C CLU Diode

16

HORN RLY

--

Horn Assembly, Horn Switch, and BCM

17-18

EMPTY

--

--

19

F/PMP RLY

--

Fuel Pump and Sender Assembly and PCM

20

Empty

--

--

21

GEN Fuse

10A

Generator

22

ECM Fuse

10A

Powertrain Control Module (PCM)

23

A/C CLU Fuse

10A

A/C CLUTCH Relay, A/C CLU Diode, A/C Compressor Clutch

24

COOL FAN 2 Fuse

15A

COOL FAN 2 Relay, and COOL FAN 3 Relay

25

ELEK IGN Fuse

15A

Ignition Control Module (ICM)

26

TRANS Fuse

10A

1-2 Shift Solenoid (1-2 SS) Valve, 2-3 Shift Solenoid (2-3 SS) Valve, and Torque Converter Clutch (TCC) Solenoid Valve

27

HORN Fuse

15A

Horn Relay

28

F/INJR Fuse

15A

Fuel Injectors (1-6)

29

OXY SEN Fuse

15A

Heated Oxygen Sensor (HO2S) 1 and Heated Oxygen Sensor (HO2S) 2

30

ENG EMIS Fuse

10A

Stop Lamp Switch, Evaporative Emissions (EVAP) Canister Vent Solenoid Valve, Evaporative Emissions (EVAP) Canister Purge Solenoid Valve and Mass Air Flow (MAF) Sensor

31

EMPTY

--

--

32

HDLP R Fuse

15A

Headlamp Assembly - Right

33

R/CMPT REL Fuse

7.5A

Backup Lamp Relay

34

LP PARK Fuse

20A

Headlamp Switch, Park Lamp Relay, and Automatic Headlamp Relay

35

F/PMP Fuse

15A

F/PMP Relay

36

HDLP L Fuse

15A

Headlamp Assembly - Left

37-44

Empty

--

--

Fuse Block - Underhood, Top View


Object Number: 1194074  Size: MF

Fuse Block - Underhood, Bottom View


Object Number: 796809  Size: LF

Fuse Block - Underhood C1


Object Number: 280784  Size: CH

Connector Part Information

    • 15303513
    • 68-Way F Metri-Pack 280 Series Flex Lock T2 (BLK)

Pin

Wire Color

Circuit No.

Function

A1

--

--

Not Used

A2

LT BLU

409

Cooling Fan Motor Supply Voltage

A3

DK GRN

335

Low Speed Cooling Fan Relay Control

A4

--

--

Not Used

A5

PNK

339

Ignition 1 Voltage

A6-A7

--

--

Not Used

A8

ORN

2740

Battery Positive Voltage

A9

PNK

1339

Ignition 1 Voltage (JL9/JM4)

A10

GRY

532

Cooling Fan Low Reference

A11

DK BLU

473

High Speed Cooling Fan Relay Control

A12

--

--

Not Used

B1

BLK

451

Ground

B2

PNK

439

Ignition 1 Voltage

B3-B5

--

--

Not Used

B6

ORN

2140

Battery Positive Voltage

B7

PNK

239

Ignition 1 Voltage

B8

--

--

Not Used

B9

BRN

436

Air Pump Relay Control

B10-B11

--

--

Not Used

B12

YEL/BLK

625

Starter Enable Relay Control

C1

BLK/WHT

451

Ground

C2-C3

--

--

Not Used

C4

PNK

339

Ignition 1 Voltage

C5

PNK

839

Ignition 1 Voltage

C8

--

--

Not Used

C9

PNK

639

Ignition 1 Voltage

C10

--

--

Not Used

C11

BLK

1050

Ground

C12

--

--

Not Used

D1-D4

--

--

Not Used

D5

PNK

839

Ignition 1 Voltage

D8

ORN

540

Battery Positive Voltage

D9

PPL

806

Crank Voltage

D10

WHT

1310

EVAP Canister Vent Solenoid Valve Control

D11-D12

--

--

Not Used

E1-E2

--

--

Not Used

E3

DK GRN/WHT

465

Fuel Pump Relay Control

E4-E7

--

--

Not Used

E8

PPL

1500

Ignition 0 Voltage

E9

PNK

1039

Ignition 1 Voltage

E10

ORN

2140

Battery Positive Voltage

E11-E12

--

--

Not Used

F1-F6

--

--

Not Used

F7

DK GRN

59

A/C Compressor Clutch Supply Voltage

F8

DK GRN/WHT

459

A/C Compressor Clutch Relay Control

F9

--

--

Not Used

F10

PPL

6

Starter Solenoid Crank Voltage

F11

--

--

Not Used

F12

WHT

504

Cooling Fan Motor Supply Voltage

Fuse Block - Underhood C2


Object Number: 707460  Size: CH

Connector Part Information

    • 15328719
    • 68-Way F Metri-Pack 280 Series Flex Lock (MD GRY)

Pin

Wire Color

Circuit No.

Function

A1

ORN

840

Battery Positive Voltage

A2-A3

--

--

Not Used

A4

PNK

1339

Ignition 1 Voltage

A5-A6

--

--

Not Used

A7

PPL

1500

Ignition 0 Voltage

A8-A10

--

--

Not Used

A11

WHT

1310

EVAP Canister Vent Solenoid Valve Output

A12

--

--

Not Used

B1

ORN/BLK

840

Battery Positive Voltage

B2-B3

--

--

Not Used

B4

GRY

120

Fuel Pump Supply Voltage

B5-B12

--

--

Not Used

C1

--

--

Not Used

C2

PNK

439

Ignition 1 Voltage

C3-C12

--

--

Not Used

D1

--

--

Not Used

D2

PNK

439

Ignition 1 Voltage

D3-D8

--

--

Not Used

D9

PPL

806

Crank Voltage

D10-D11

--

--

Not Used

D12

ORN

57

Left Cornering Lamp Supply Voltage

E1

ORN

1340

Battery Positive Voltage

ORN

1340

Battery Positive Voltage

E2

PNK

339

Ignition 1 Voltage

E3-E5

--

--

Not Used

E6

PNK

1200

Headlamp High Beam Signal

PNK

1200

Headlamp High Beam Signal

E7-E8

--

--

Not Used

E9

BLK

58

Right Cornering Lamp Supply Voltage

E10-E12

--

--

Not Used

F1

ORN

1340

Battery Positive Voltage

ORN

1340

Battery Positive Voltage

F2

PNK

339

Ignition 1 Voltage

F3-F6

--

--

Not Used

F7

BLK

28

Horn Relay Control

BLK

28

Horn Relay Control

F8

BRN

9

Park Lamp Supply Voltage

F9

--

--

Not Used

F10

DK BLU

1201

Headlamp Low Beam Signal

F11

LT BLU

14

Left Turn Signal Lamps Supply Voltage

F12

DK BLU

15

Right Turn Signal Lamps Supply Voltage

Fuse Block - Underhood C3


Object Number: 280787  Size: CH

Connector Part Information

    • 15303512
    • 68-Way F Metri-Pack 280 Series Flex Lock (LT GRY)

Pin

Wire Color

Circuit No.

Function

A1-A4

--

--

Not Used

A5

BRN

9

Park Lamp Supply Voltage

A6

--

--

Not Used

A7

PNK/BLK

1200

Headlamp High Beam Signal

A8-A9

--

--

Not Used

A10

DK BLU/WHT

1201

Headlamp Low Beam Signal

A11

LT BLU

14

Left Turn Signal Lamps Supply Voltage

A12

DK BLU

15

Right Turn Signal Lamps Supply Voltage

B1-B4

--

--

Not Used

B5

BRN

9

Park Lamp Supply Voltage

B6

--

--

Not Used

B7

PNK

1200

Headlamp High Beam Signal

B8-B12

--

--

Not Used

C1-C4

--

--

Not Used

C5

BRN/WHT

9

Park Lamp Supply Voltage

C8

DK GRN

29

Horn Control

C9-C12

--

--

Not Used

D1-D4

--

--

Not Used

D5

BRN

9

Park Lamp Supply Voltage

D8-D10

--

--

Not Used

D11

DK BLU

1201

Headlamp Low Beam Signal

D12

ORN

57

Left Cornering Lamp Supply Voltage

E1

ORN

1640

Battery Positive Voltage

E2

ORN/BLK

1740

Battery Positive Voltage

E3-E10

--

--

Not Used

E11

BLK

58

Right Cornering Lamp Supply Voltage

E12

--

--

Not Used

F1

ORN/BLK

1640

Battery Positive Voltage

F2

ORN

1740

Battery Positive Voltage

F3-F12

--

--

Not Used

Fuse Block - Underhood C4


Object Number: 280788  Size: CH

Connector Part Information

    • 12146038
    • 2-Way F 800 MaxiFuse (GRY)

Pin

Wire Color

Circuit No.

Function

A

RED

242

Battery Positive Voltage

B

RED

142

Battery Positive Voltage

RED

142

Battery Positive Voltage (w/RAP)

Fuse Block - Underhood C5


Object Number: 258677  Size: CH

Connector Part Information

    • 12146037
    • 2-Way F 800 MaxiFuse (BLK)

Pin

Wire Color

Circuit No.

Function

A

--

--

Not Used

B

RED

42

Battery Positive Voltage

Fuse Block - Underhood C6


Object Number: 280790  Size: CH

Connector Part Information

    • 12160605
    • 2-Way F 800 MaxiFuse (GRN)

Pin

Wire Color

Circuit No.

Function

A

RED

742

Battery Positive Voltage

B

RED

642

Battery Positive Voltage

Fuse Block - Underhood C7 (JL9/JM4)


Object Number: 365958  Size: CH

Connector Part Information

    • 12160606
    • 2-Way F 800 MaxiFuse (BRN)

Pin

Wire Color

Circuit No.

Function

A

--

--

Not Used

B

RED

1442

Battery Positive Voltage

RED

1442

Battery Positive Voltage

Fuse Block - I/P, Label


Object Number: 1230513  Size: MF

Fuse Application Table (Fuse Block - I/P)

Device

Rating

Description

ABS

10 AMP

Electronic Brake Control Module (EBCM) (JL9)

ACCY PWR BUS

15 AMP

Body Control Module (BCM) and Retained Accessory Power (RAP) Relay (KP2)

AIRBAG

10 AMP

Inflatable Restraint Sensing and Diagnostic Module (SDM)

BCM ACCY

10 AMP

Body Control Module (BCM)

BCM PWR

10 AMP

Body Control Module (BCM)

BTSI

10 AMP

Stop Lamp Switch and Brake To Shift Relay

CLSTR

10 AMP

Instrument Panel Cluster (IPC)

CRNK SIG, BCM, CLSTR

10 AMP

Instrument Panel Cluster (IPC), Body Control Module (BCM) and Powertrain Control Module (PCM)

CRUISE

10 AMP

Cruise Control Switch (K34), Cruise Control Module (K34), and Cruise Control Release Switch

DR/LCK

20 AMP

Rear Compartment Lid Release Relay and Body Control Module (BCM)

HAZRD

15 AMP

Turn Signal Switch

HI/BLWR

30 AMP

Blower Motor Resistor Assembly (CJ3) and Blower Motor Control Processor (CJ2)

HVAC

10 AMP

Rear Window Defogger Relay, LH and RH Air Temperature Actuators, HVAC Control Module, Inside Rearview Mirror (C79), and Vacuum Control Assembly (CJ2)

IGN 0: CLSTR, PCM & BCM

10 AMP

Powertrain Control Module (PCM), Body Control Module (BCM) and Instrument Cluster

INT/ILLUM

7.5 AMP

Radio, Headlamp Switch, Instrument Panel Cluster (IPC) and HVAC Control Module (CJ3)

LOW BLWER

20 AMP

HVAC Control Module (CJ3)

LTR

20 AMP

Cigar Lighter

ONSTAR

5 AMP

Vehicle Communications Interface Module (VCIM)

PCM, BCM, U/H

10 AMP

CRANK and IGN MAIN Relays, Body Control Module (BCM) and Powertrain Control Module (PCM)

PRK/LGHT

10 AMP

Headlamp Assembly - Left and Right

PWR/MIR

2 AMP

Outside Rearview Mirror Switch

PWR/SEAT Circuit Breaker

30 AMP

Seat Adjuster Switch - Driver (AG1)

PWR/WNDW PWR S/ROOF Circuit Breaker

30 AMP

Window Master Switch - Driver

RADIO, HVAC, RFA, CLSTR ALDL

15 AMP

HVAC Control Module, Radio, Data Link Connector (DLC), Remote Control Door Lock Receiver (RCDLR) and Instrument Panel Cluster (IPC)

R/DEFOG Circuit Breaker

30 AMP

Rear Window Defogger Relay

R/LAMPS

15 AMP

INT/ILLUM Fuse, Marker Lamp - LR and RR, Tail/Stop and Turn Signal Lamp - Left and Right, Tail Lamp - Left and Right, and License Lamp - Left and Right

STOP LAMPS

15 AMP

Stop Lamp Switch

STR/WHL/CNTRL

2 AMP

Inflatable Restraint Steering Wheel Module Coil, Steering Wheel Controls - Left and Right (UK3)

TRN/SIG

10 AMP

Turn Signal/Hazard Flasher Module

WPR

25 AMP

Windshield Wiper Motor and Turn Signal/Multifunction Switch

Fuse Block - I/P, Top View


Object Number: 1230528  Size: MF

Fuse Block - I/P, Bottom View


Object Number: 869108  Size: LF

Fuse Block - I/P, Wire Pinout

Pin

Wire Color

Circuit No.

Function

A1-A2

--

--

Not Used

A3

YEL

5

Crank Voltage

A4

PPL

806

Crank Voltage

A5-A7

--

--

Not Used

A8

PPL

1500

Ignition 0 Voltage

A9

DK GRN

500

Ignition 0 Voltage

A10

--

--

Not Used

B1

--

--

Not Used

B2

BRN

141

Ignition 3 Voltage (CJ3)

B3

ORN

300

Ignition 3 Voltage

B4

BRN

41

Ignition 3 Voltage

B5

--

--

Not Used

B6

BRN

341

Ignition 3 Voltage

B7-B10

--

--

Not Used

C1

--

--

Not Used

C2

PNK

1339

Ignition 1 Voltage

C3

PNK

3

Ignition 1 Voltage

C4

PNK

1439

Ignition 1 Voltage

PNK

1439

Ignition 1 Voltage

C5-C10

--

--

Not Used

D1

--

--

Not Used

D2

PNK

539

Ignition 1 Voltage

D3

--

--

Not Used

D4

YEL

1139

Ignition 1 Voltage

D5

PNK

3

Ignition 1 Voltage

D6

PNK

39

Ignition 1 Voltage

D7-D9

--

--

Not Used

D10

PNK

439

Ignition 1 Voltage

E1

--

--

Not Used

E2

ORN

640

Battery Positive Voltage

E3

--

--

Not Used

E4

ORN

2340

Battery Positive Voltage

E5

--

--

Not Used

E6

ORN

2540

Battery Positive Voltage

E7

RED

242

Battery Positive Voltage

E8

ORN

240

Battery Positive Voltage

ORN

240

Battery Positive Voltage (RAP)

E9

--

--

Not Used

E10

ORN

2940

Battery Positive Voltage (UQ3/UX7 w/UK3))

F1

--

--

Not Used

F2

ORN

40

Battery Positive Voltage

F3

--

--

Not Used

F4

ORN

1840

Battery Positive Voltage

F5

--

--

Not Used

F6

ORN

140

Battery Positive Voltage

F7

RED

642

Battery Positive Voltage

F8

ORN

1540

Battery Positive Voltage

F9

--

--

Not Used

F10

ORN

1140

Battery Positive Voltage

G1-G4

--

--

Not Used

G5

RED

742

Battery Positive Voltage

G6

ORN

1240

Battery Positive Voltage

G7-G10

--

--

Not Used

H1

GRY

8

Instrument Panel Lamps Dimmer Switch Signal (UK3)

H2

GRY/BLK

1458

Instrument Panel Lamp Supply Voltage 4 (UK3)

H3-H5

--

--

Not Used

H6

BRN

9

Park Lamp Supply Voltage

H7

LT BLU

74

Park Lamp Switch Signal

LT BLU

74

Park Lamp Switch Signal

H8

BRN/WHT

301

Rear Park Lamps Supply Voltage

H9

BRN/WHT

301

Rear Park Lamps Supply Voltage

H10

YEL

32

Park Lamps Supply Voltage

J1

--

--

Not Used

J2

YEL

243

Accessory Voltage

J3

BRN

4

Accessory Voltage

J4

YEL

443

Accessory Voltage

J5 - J10

--

--

Not Used

K1

BLK

1550

Ground

K2

LT GRN

1055

Low Tire Pressure Reset Switch Signal

L1

BRN

4

Accessory Voltage (w/o RAP)

DK BLU

75

RAP Relay Switch Supply Voltage (RAP)

L2

YEL

143

Accessory Voltage

M1

RED

742

Battery Positive Voltage

M2

ORN

1040

Battery Positive Voltage

N1

RED

742

Battery Positive Voltage

N2

ORN

340

Battery Positive Voltage

P1-P3

--

--

Not Used