GM Service Manual Online
For 1990-2009 cars only
Makes
🢒
Buick
🢒
2000
🢒
Century (China)
🢒
Transmission/Transaxle
🢒
Automatic Transaxle - 4T65-E
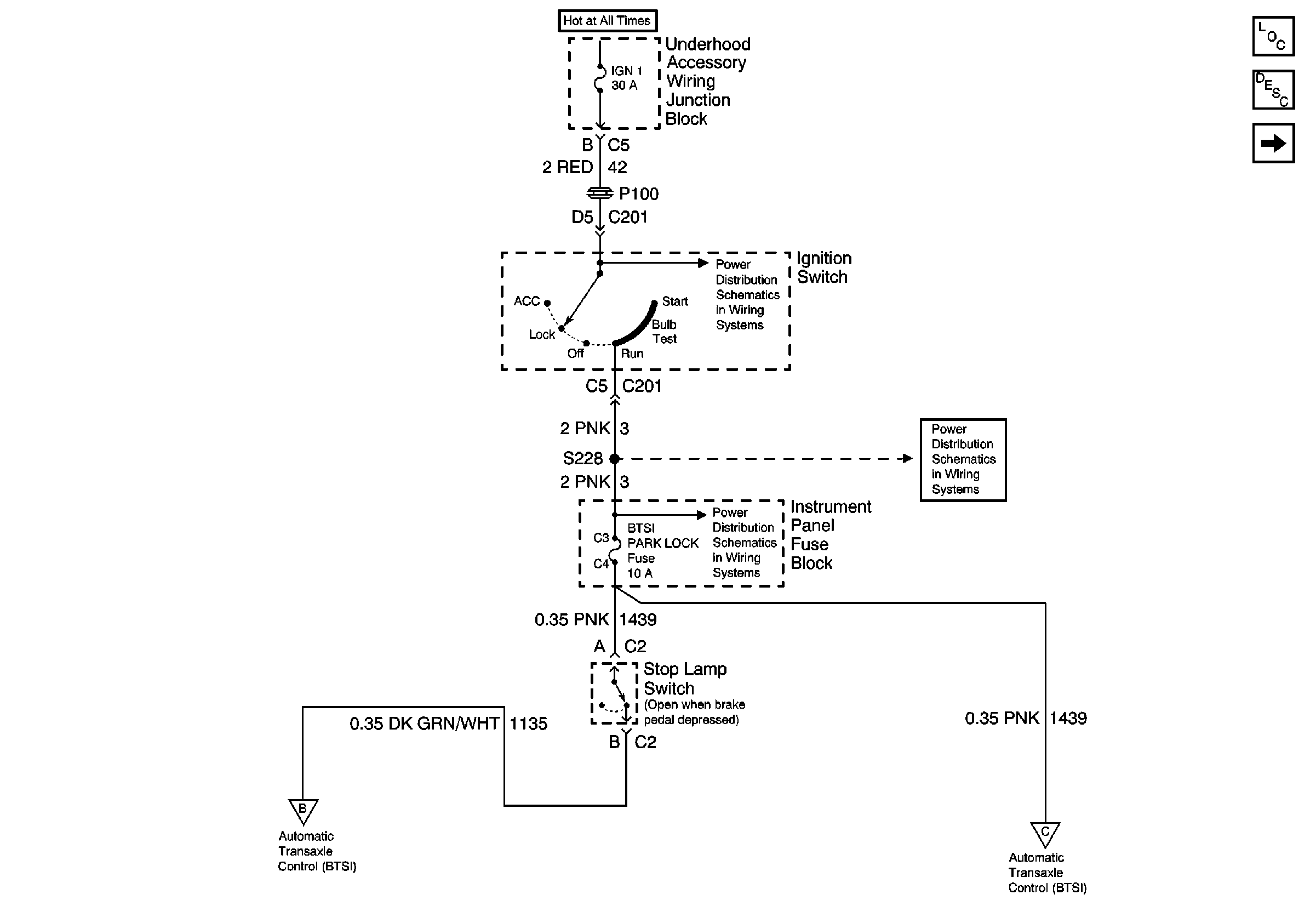
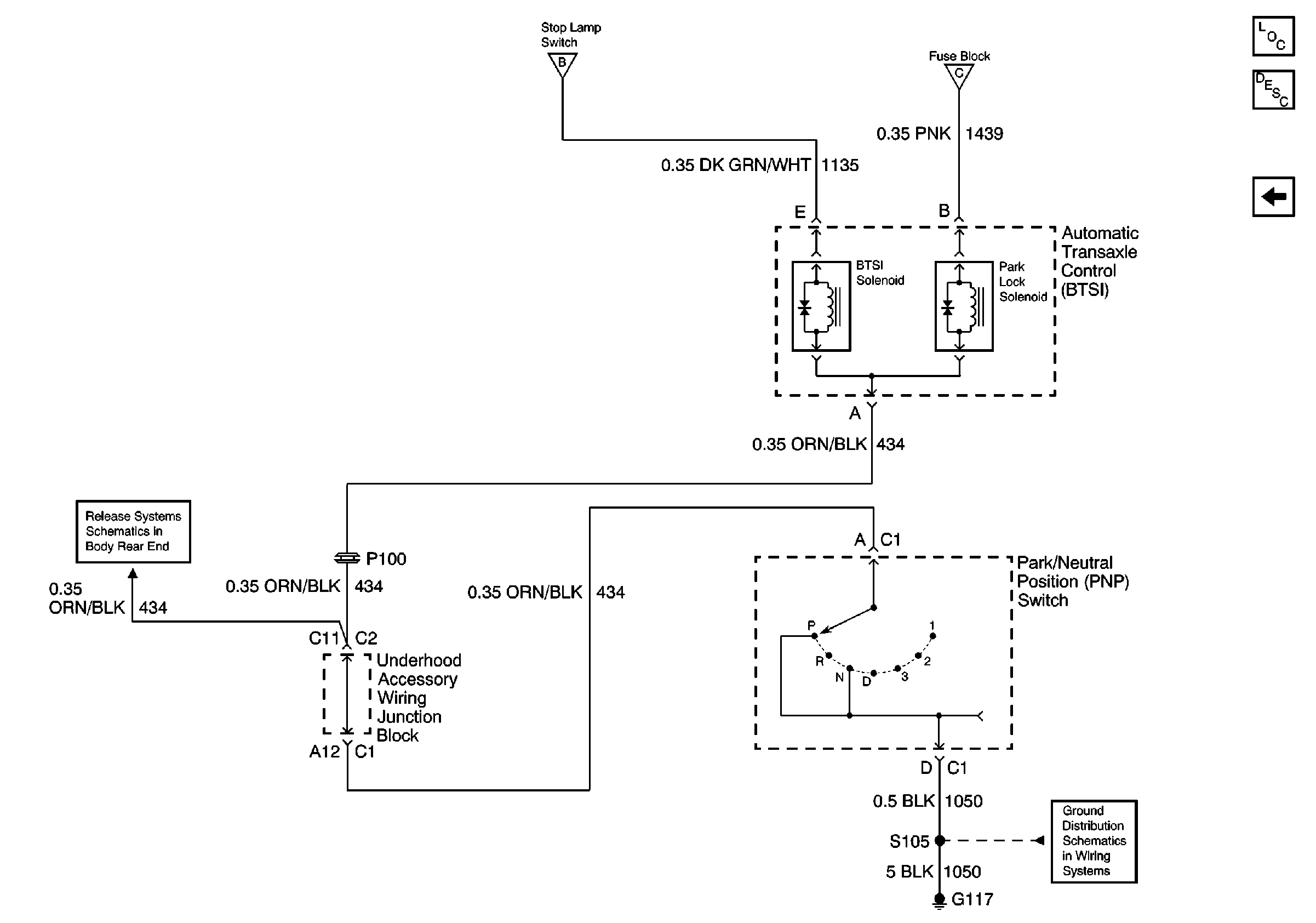
🢒 Shift Lock Control Schematics
Figure
1:
Automatic Transmission Shift Lock Control Feed
Figure
2:
Automatic Transmission Shift Lock Control