GM Service Manual Online
For 1990-2009 cars only
Makes
🢒
Buick
🢒
2000
🢒
Century (China)
🢒
Body and Accessories
🢒
Wipers/Washer Systems
🢒 Wiper/Washer System (Pulse) Schematics
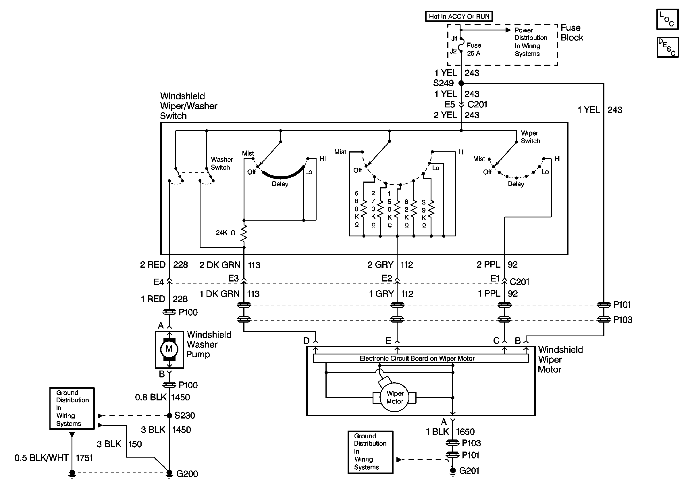
Wiper/Washer Schematic (Fuse Block, Wiper/Washer Switch, Pump and Motor, G201)
Wiper/Washer Component Views
Fuse Block and Rear Lights
G200 ( 1 of 2)
G201)