GM Service Manual Online
For 1990-2009 cars only
Makes
🢒
Buick
🢒
2000
🢒
Century (China)
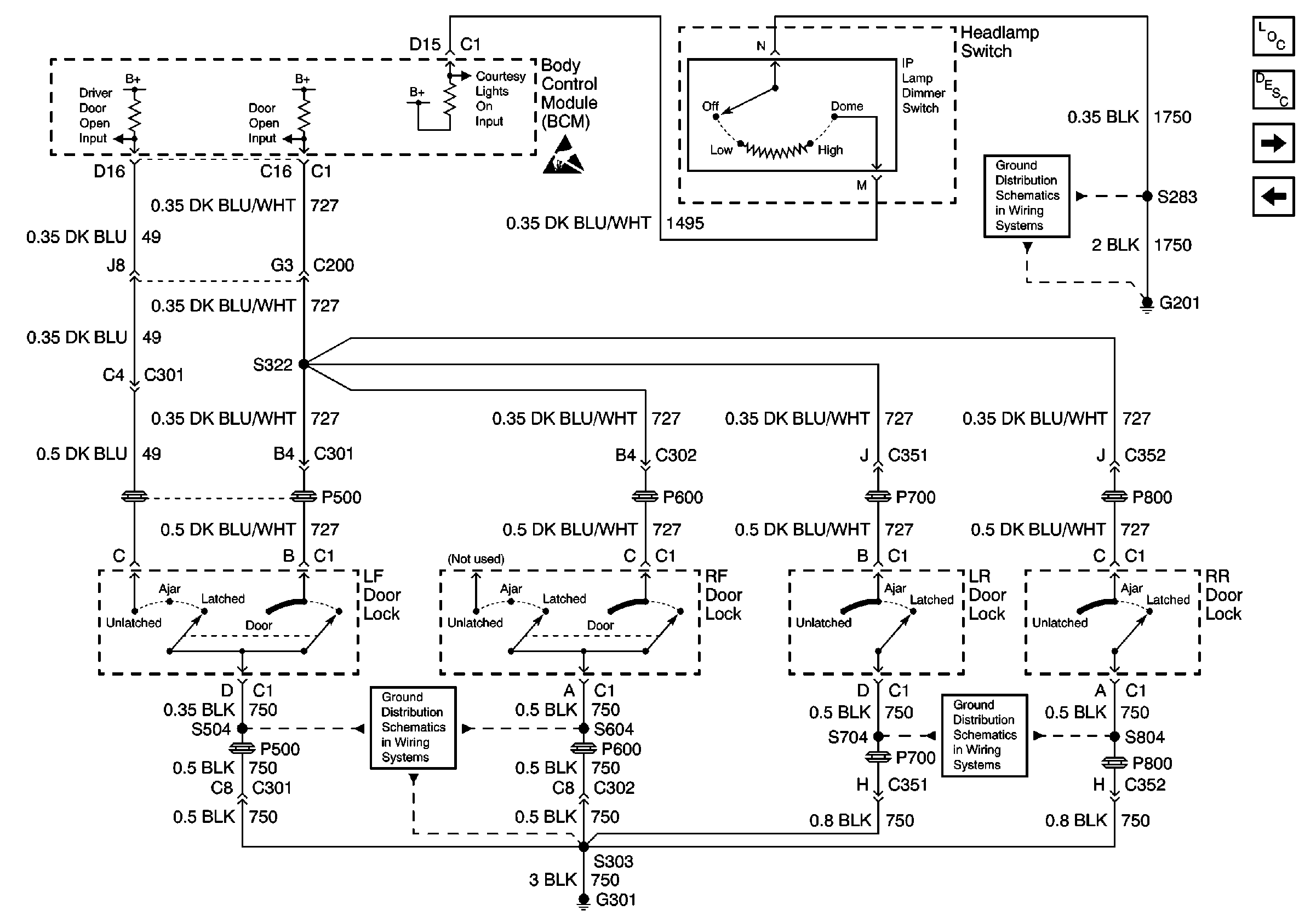
🢒 Interior Lights Door Inputs
Interior Lights Door Inputs
Interior Lights Door Inputs
Handling ESD Sensitive Parts Notice
G301 (1 of 3)
G201)
G301 (3 of 3)
Lighting Systems Components
Interior Lights Circuit Description
Interior Lights Output
Interior Lights Inputs