GM Service Manual Online
For 1990-2009 cars only

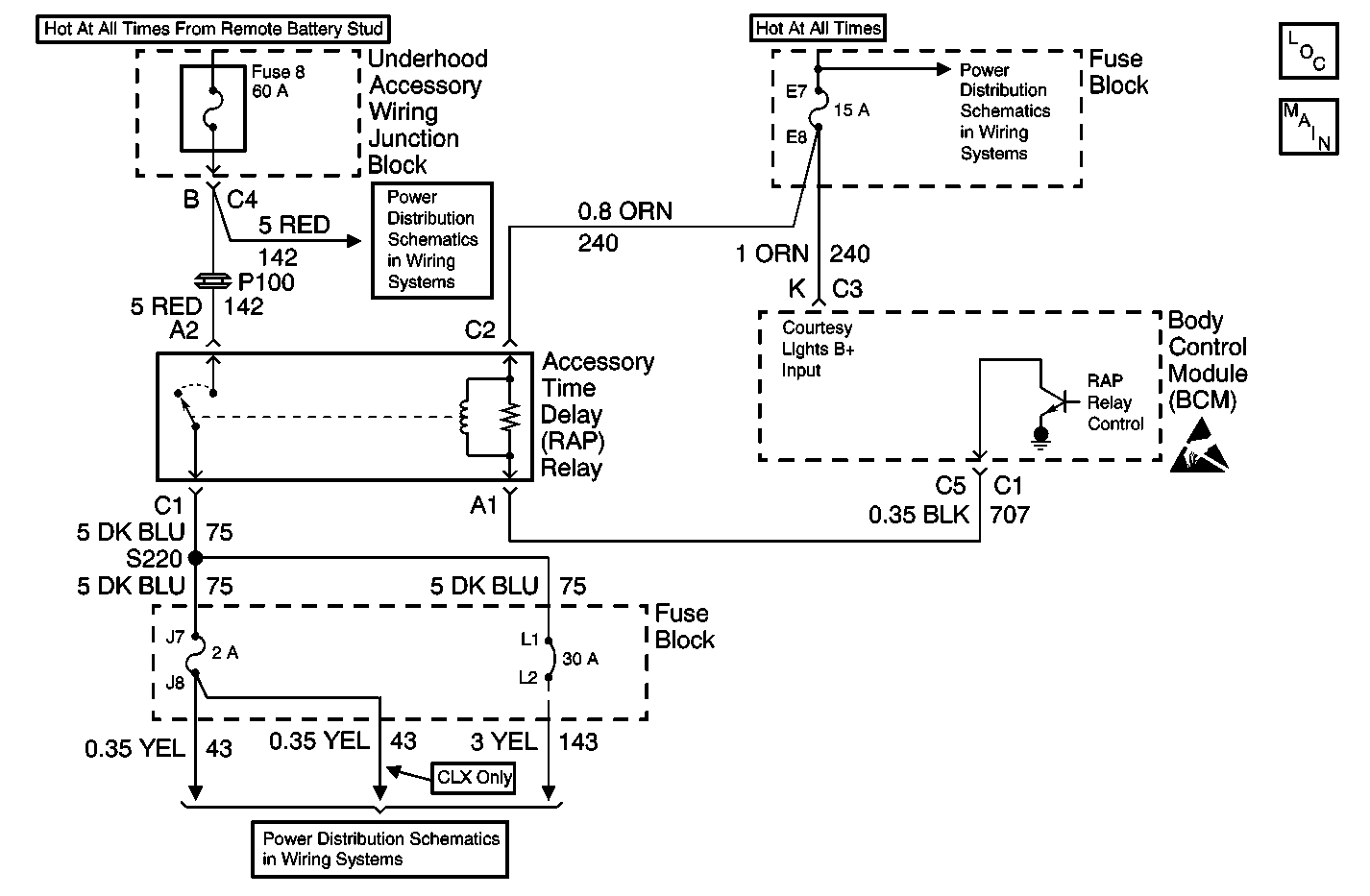
Object Number: 501887  Size: MF
Retained Accessory Power (RAP) Components
Retained Accessory Power (RAP) Schematics

Circuit Description

The body control module (BCM) controls the retained accessory power (RAP) feature. The RAP feature allows the following components to operate for 10 minutes (or until a vehicle door opens) after the ignition switch turns from RUN or ACC to LOCK:

    • The radio
    • The power windows

The BCM interfaces with the vehicle's power distribution system through the RAP relay. The RAP relay allows the BCM to control the application of power to the fuse that supplies power to the radio and the circuit breaker that supplies power to the power windows. When the ignition switch is in either the ACC or the RUN position, the BCM energizes the RAP relay by grounding the RAP relay control circuit.

The BCM turns off the RAP relay when the ignition switch is in the START position. The RAP feature therefore disables during engine cranking.

When the ignition switch turns from RUN to LOCK or OFF, with all of the vehicle doors closed, the BCM leaves the RAP relay energized for 10 minutes, or until any vehicle door opens (the BCM detects a ground signal in one of the door ajar circuits).

Conditions for Setting the DTC

    • The BCM detects a short to ground in the RAP relay control circuit when the BCM is not trying to energize the RAP relay.
    • The condition above must be present for more than 0.3 seconds.

Action Taken When the DTC Sets

The BCM stores DTC B1477 in memory.

Conditions for Clearing the DTC

    • A short to ground in the RAP relay control circuit is no longer detected by the BCM.
    • A history DTC B1477 will clear after 100 consecutive ignition cycles if the condition for the malfunction is no longer present.
    • A scan tool may be used in order to clear the DTC.

Diagnostic Aids

    • If the DTC B1477 is a history DTC, the fault may be intermittent. Refer to Testing for Intermittent Conditions and Poor Connections in Wiring Systems.
    • The following conditions may cause an intermittent malfunction to occur:
       - An intermittent short to ground in the RAP relay control circuit
       - The RAP relay coil is shorted to ground internally.
       - The BCM is shorted to ground internally.

Test Description

The number(s) below refer to the step number(s) on the diagnostic table.

  1. Listen for an audible click when the RAP relay operates. Command both the ON and OFF states. Repeat the commands as necessary.

  2. This step tests for voltage at the coil side of the RAP relay. The 10A fuse in cavities E7 and E8 of the fuse block, supply power to the coil side of the RAP relay.

  3. This step verifies that the body control module (BCM) is providing ground to the RAP relay.

  4. This step tests if ground is constantly being applied to the RAP relay.

Step

Action

Value(s)

Yes

No

1

Did you perform the Retained Accessory Power (RAP) Diagnostic System Check?

--

Go to Step 2

Go to Retained Accessory Power (RAP) System Check

2

  1. Install a scan tool.
  2. Turn ON the ignition, with the engine OFF.
  3. With a scan tool, command the RAP Relay ON and OFF.

Does the RAP Relay turn ON and OFF with each command?

--

Go to Diagnostic Aids

Go to Step 3

3

  1. Turn OFF the ignition.
  2. Disconnect the RAP relay.
  3. Turn ON the ignition, with the engine OFF.
  4. Using a test lamp that is connected to a good ground, probe the coil side feed circuit of the RAP relay.

Does the test lamp illuminate?

--

Go to Step 4

Go to Step 10

4

  1. Connect a test lamp between the control circuit of the RAP relay and the coil side feed circuit of the RAP relay.
  2. With a scan tool, command the RAP relay ON and OFF .

Does the test lamp turn ON and OFF with each command?

--

Go to Step 8

Go to Step 5

5

Does the test lamp remain illuminated with each command?

--

Go to Step 7

Go to Step 6

6

Test the control circuit of the RAP relay for a short to voltage or an open. Refer to Circuit Testing and Wiring Repairs in Wiring Systems.

Did you find and correct the condition?

--

Go to Step 13

Go to Step 9

7

Test the control circuit of the RAP relay for a short to ground. Refer to Circuit Testing and Wiring Repairs in Wiring Systems.

Did you find and correct the condition?

--

Go to Step 13

Go to Step 9

8

Inspect for poor connections at the RAP relay. Refer to Testing for Intermittent Conditions and Poor Connections and Connector Repairs in Wiring Systems.

Did you find and correct the condition?

--

Go to Step 13

Go to Step 11

9

Inspect for poor connections at the harness connector of the body control module (BCM). Refer to Testing for Intermittent Conditions and Poor Connections and Connector Repairs in Wiring Systems.

Did you find and correct the condition?

--

Go to Step 13

Go to Step 12

10

Repair the coil side feed circuit of the RAP relay. Refer to Wiring Repairs in Wiring Systems.

Did you complete the repair?

--

Go to Step 13

--

11

Replace the RAP relay.

Did you complete the repair?

--

Go to Step 13

--

12

  1. Replace the body control module (BCM). Refer to Body Control Module Replacement in Body Control Systems.
  2. Perform the set up procedure for the body control module. Refer to Body Control Module (BCM) Programming/RPO Configuration in Body Control Systems.

Did you complete the repair?

--

Go to Step 13

--

13

  1. Use the scan tool in order to clear the DTCs .
  2. Operate the vehicle within the Conditions for Running the DTC as specified in the supporting text.

Does the DTC reset?

--

Go to Step 2

System OK