GM Service Manual Online
For 1990-2009 cars only

DECK LID DOES NOT LATCH PROPER (ADD REINFORCEMENT PLATE)

SUBJECT: LID DOES NOT LATCH PROPERLY (ADD REINFORCEMENT PLATE)

VEHICLES AFFECTED: 1992 "B" MODEL WITH RPO A91

APPLICATION:

----------- 1992 Buick Roadmasters with pull down rear deck lid actuator (RPO A91).

CONDITION:

--------- Some owners of Buick Roadmasters with electronic deck lid closing option (RPO A91) may comment the lid does not latch properly.

CORRECTION:

---------- Add reinforcement plate at striker location and check for proper alignment of the striker to the pull down unit and adjust as required.

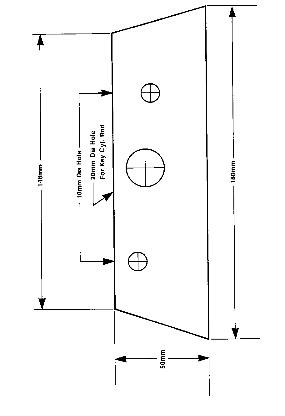
Fabricate from aluminum stock 1.5 mm thick a reinforcement plate as illustrated on the attached template.

Remove all sharp edges and burrs from finished plate. Paint fabricated plate to match interior of deck lid.

Remove striker and install plate on striker bolts and striker over plate. Torque nuts to 10 N.m (89 lb. in.).

NOTE: Owners should be instructed that it is not necessary to slam deck lid down when closing. Simply bring lid down to make contact with actuator and lid will close.

For vehicles repaired under warranty use:

Labour Time: 0.6 hr.


Object Number: 88273  Size: FS

General Motors bulletins are intended for use by professional technicians, not a "do-it-yourselfer". They are written to inform those technicians of conditions that may occur on some vehicles, or to provide information that could assist in the proper service of a vehicle. Properly trained technicians have the equipment, tools, safety instructions and know-how to do a job properly and safely. If a condition is described, do not assume that the bulletin applies to your vehicle, or that your vehicle will have that condition. See a General Motors dealer servicing your brand of General Motors vehicle for information on whether your vehicle may benefit from the information.