GM Service Manual Online
For 1990-2009 cars only
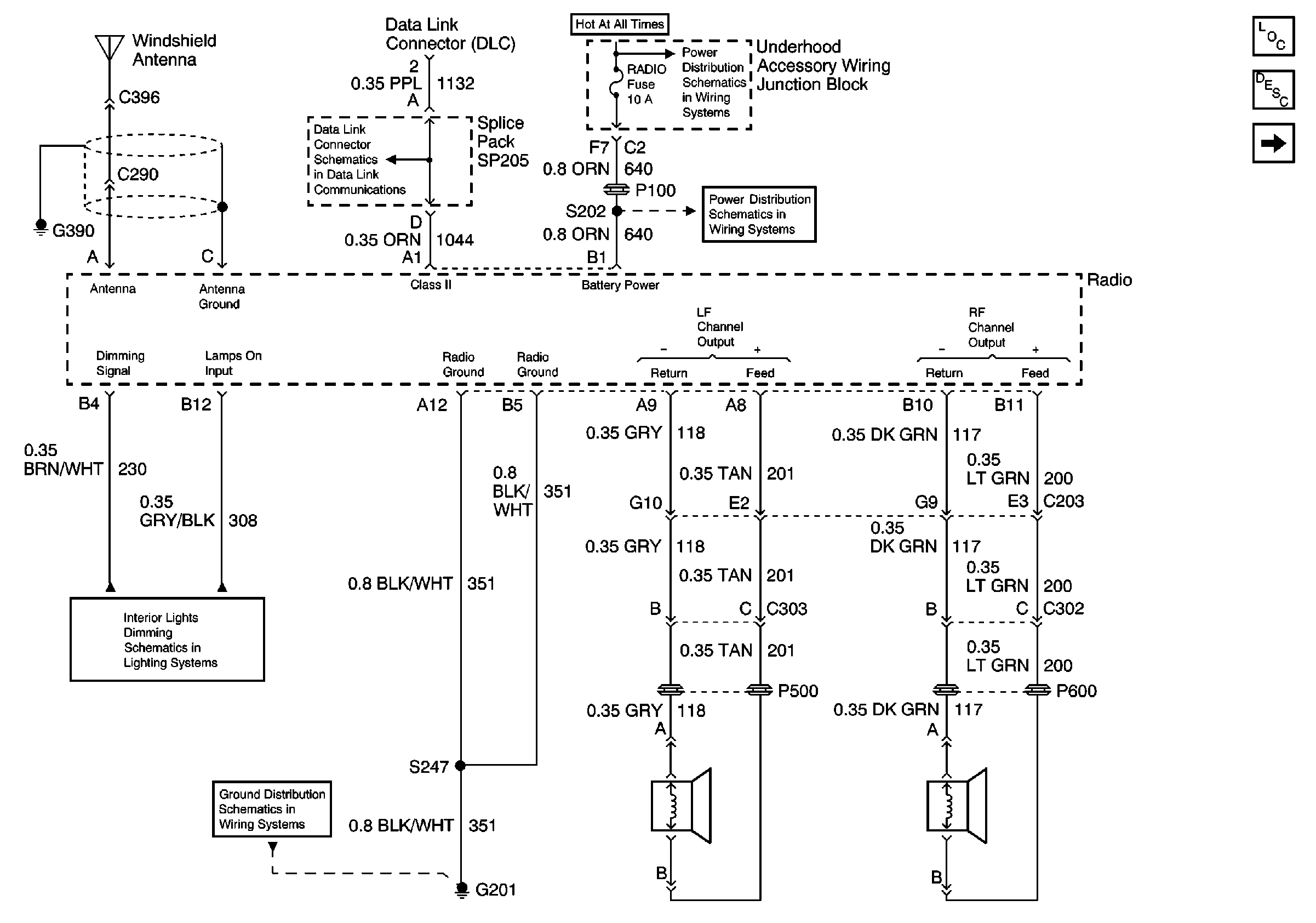
Figure 1:

Power, Ground, and Front Door Speakers


Object Number: 645379  Size: FS
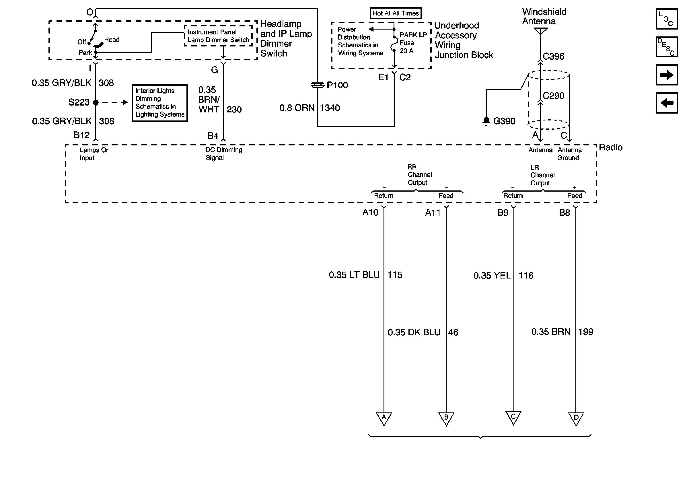
Figure 2:

Windshield Antenna, Headlamp and IP Lamp Dimmer Switch


Object Number: 645380  Size: FS
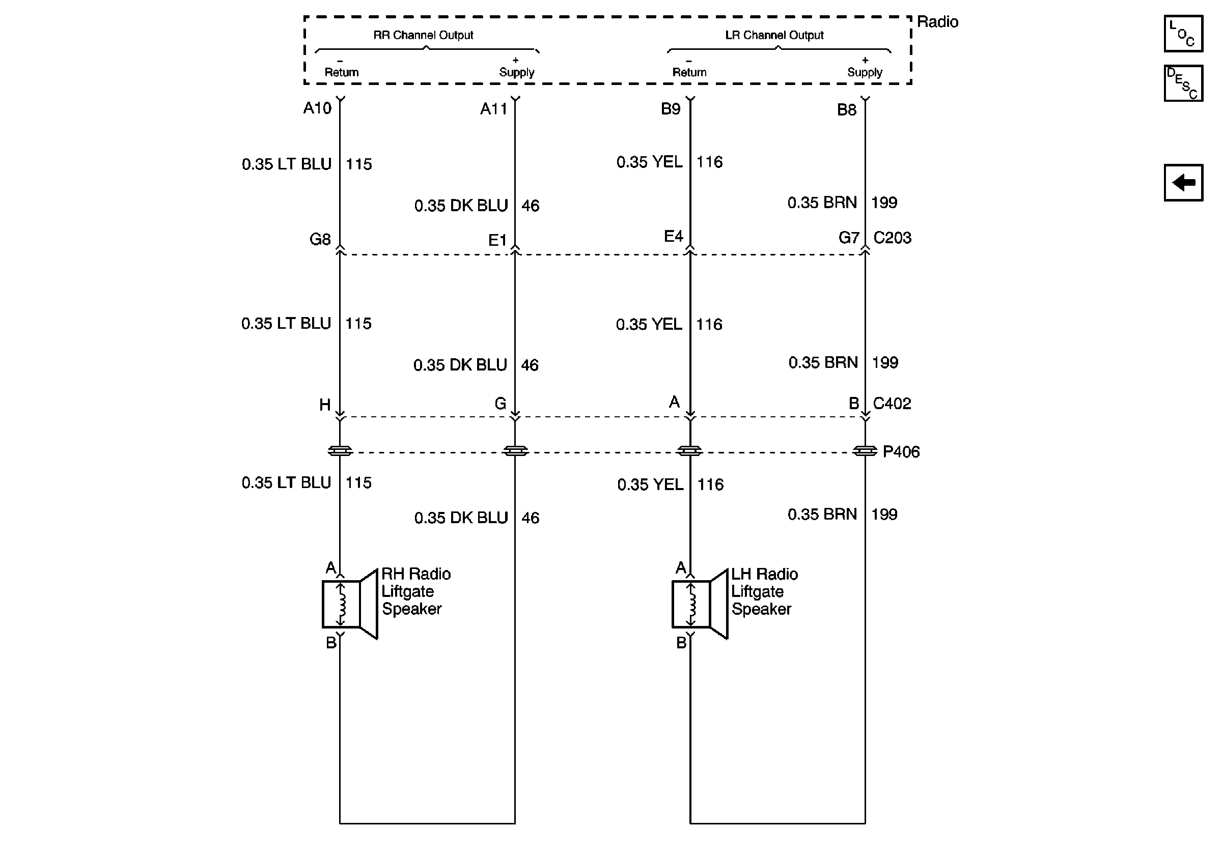
Figure 3:

Liftgate Speakers


Object Number: 645381  Size: FS