GM Service Manual Online
For 1990-2009 cars only
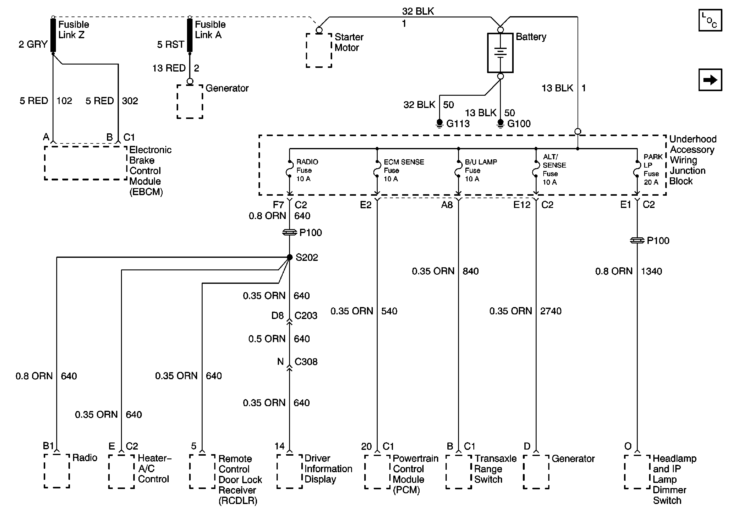
Figure 1:

Battery, ALT/SENSE, B/U LAMP, ECM SENSE, PARK LP, and RADIO Fuses


Object Number: 645945  Size: FS
Figure 2:

Underhood Accessory Wiring Junction Block


Object Number: 645976  Size: FS
Figure 3:

BATT MAIN 1, CLUSTER BATT, RR PWR SCKT, PWR LOCK, RAP RELAY, CTSY LAMP, FRT PWR SCKT, CIGAR/DLC, and PWR MIRROR Fuses


Object Number: 645980  Size: FS
Figure 4:

BATT MAIN 2, RR DEFOG/HTD MIRRORS, and RR FOG LP Fuses


Object Number: 645952  Size: FS
Figure 5:

Ignition Switch, IGN MAIN 1, PCM/ABS, and PCM/CRANK Fuses


Object Number: 645963  Size: FS
Figure 6:

IGN 1, SDM, T/SIG, PCM/PASSKEY/CLUSTER Fuses


Object Number: 646006  Size: FS
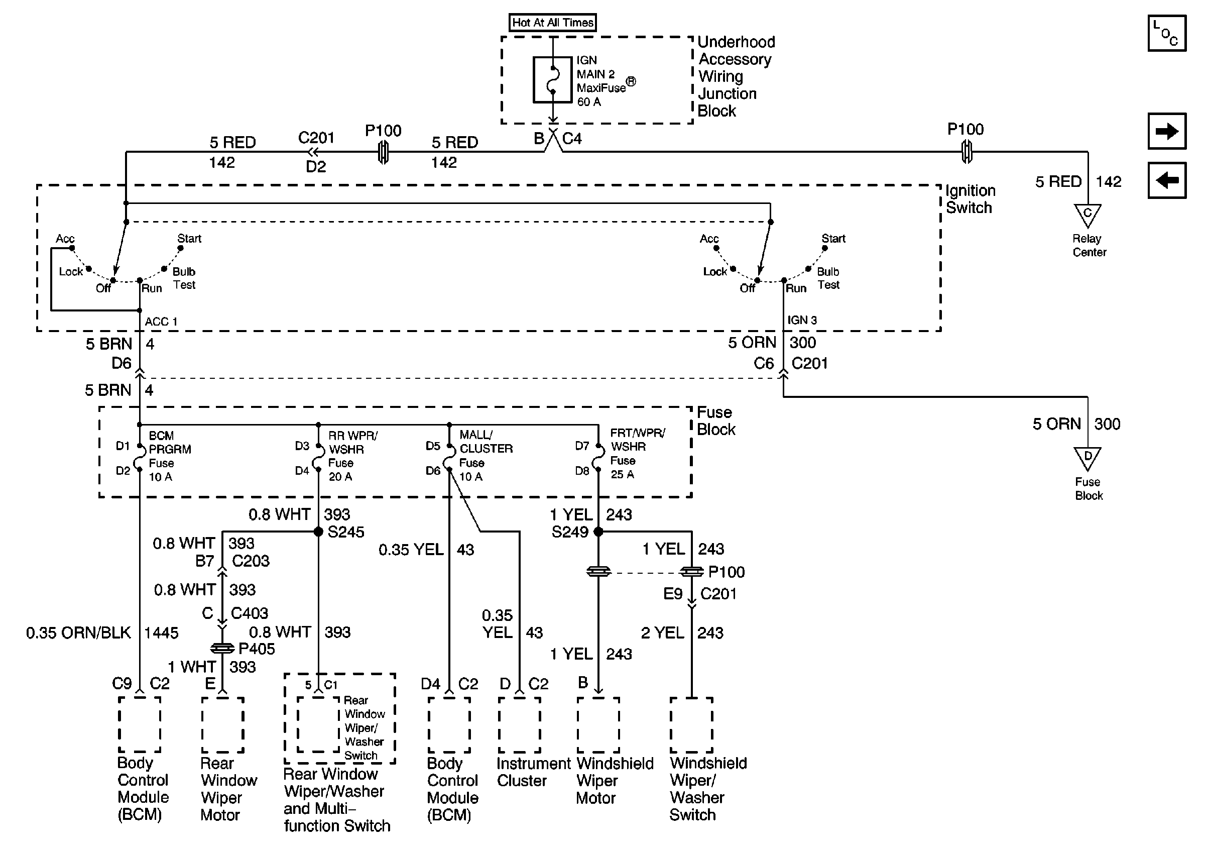
Figure 7:

Ignition Switch, IGN MAIN 2, BCM PRGRM, RR WPR/WSHR, MALL/CLUSTER, and FRT/WPR/WSHR Fuses


Object Number: 645959  Size: FS
Figure 8:

HVAC/DIC, HVAC BLOWER, and RR HVAC/TEMP CONT Fuses, PWR WDO Circuit Breaker


Object Number: 645999  Size: FS
Figure 9:

HEADLAMPS, STOP LAMP, HAZARD, and PASSKEY Fuses, FRT HVAC HI BLWR and HEADLAMP Circuit Breakers


Object Number: 645997  Size: FS
Figure 10:

IGN 1-U/H Fuse


Object Number: 646014  Size: FS
Figure 11:

INJ Fuse


Object Number: 646019  Size: FS
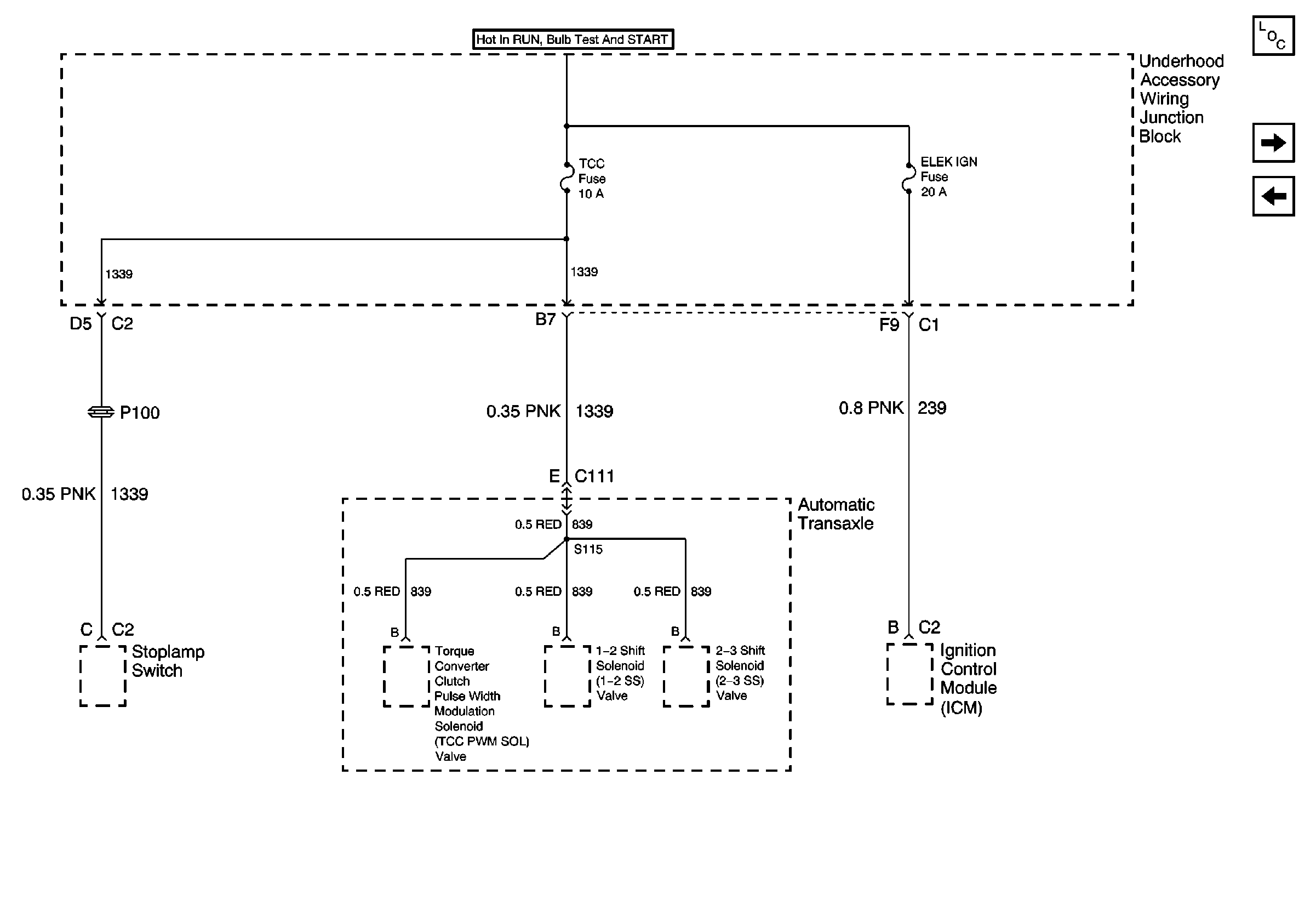
Figure 12:

TCC and ELEK IGN Fuses


Object Number: 646025  Size: FS
Figure 13:

HTD MIRROR Fuse


Object Number: 646027  Size: FS
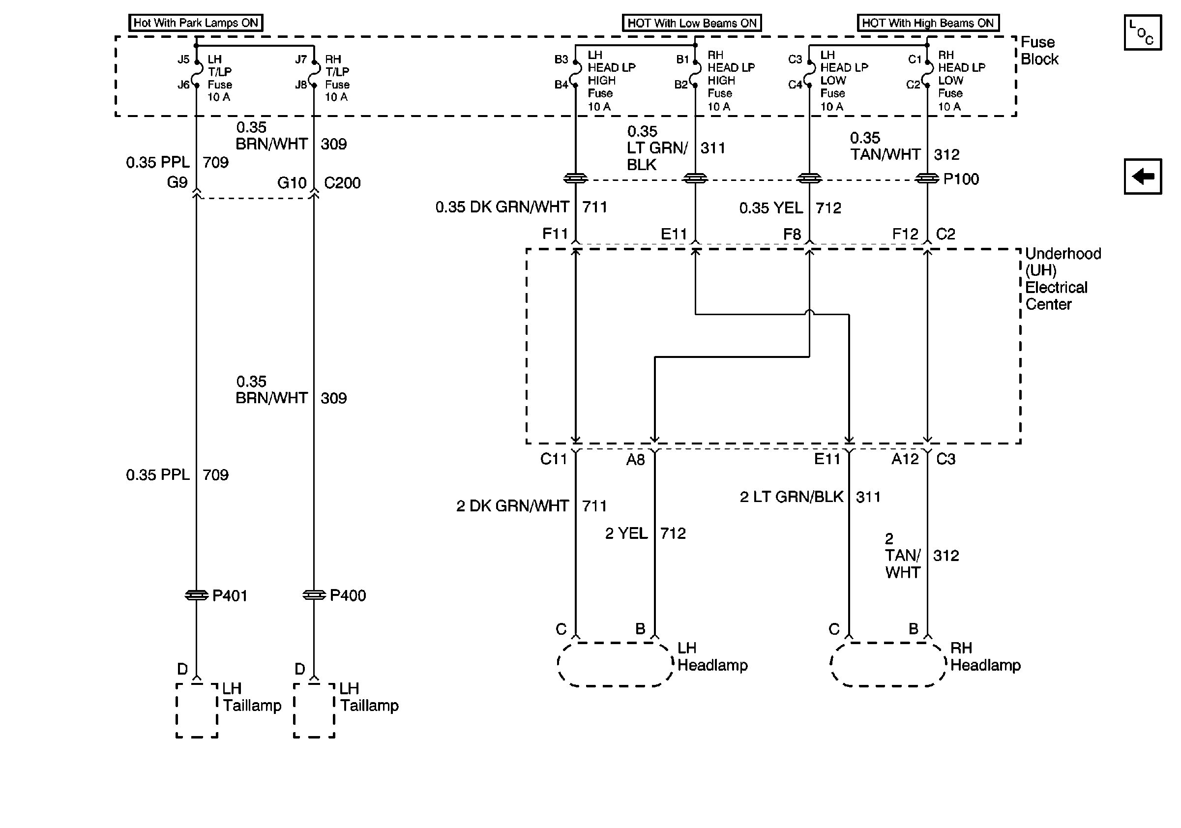
Figure 14:

LH T/LP, RH T/LP, LH HEAD LP HIGH, RH HEAD LP HIGH, LH HEAD LP LOW, and RH HEAD LP LOW Fuses


Object Number: 646035  Size: FS