GM Service Manual Online
For 1990-2009 cars only

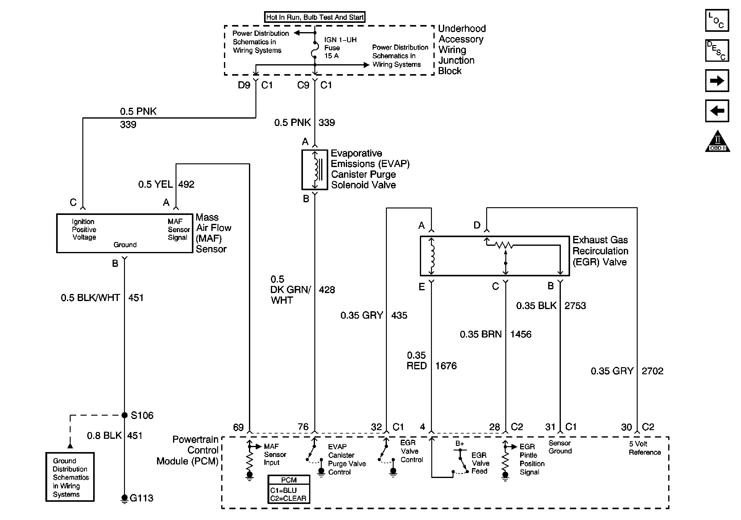
Refer to Engine Controls Schematics

Engine Data Sensors, MAF and EGR


Object Number: 646113  Size: FS
.

Circuit Description

The Powertrain Control Module (PCM) monitors the exhaust gas recirculation (EGR) valve pintle position input to ensure that the valve responds properly to commands from the PCM. The PCM compares actual EGR position with desired EGR position when the valve is commanded open. If actual EGR position is 15 percent less than desired EGR position when the PCM is commanding the EGR valve opened, DTC P0404 will set.

Conditions for Running the DTC

    • The engine is running..
    • The system voltage is between 10.0 volts and 18.0 volts.

Conditions for Setting the DTC

    •  Actual EGR position is 15 percent different than desired EGR position.
    •  The condition is present for more than 20 seconds.

Action Taken When the DTC Sets

    • The PCM will illuminate the malfunction indicator lamp (MIL) during the second consecutive trip in which the diagnostic test has been run and failed.
    • The PCM will store conditions which were present when the DTC set as Freeze Frame/Failure Records data.

Conditions for Clearing the MIL/DTC

    • The PCM will turn OFF the malfunction indicator lamp (MIL) during the third consecutive trip in which the diagnostic has run and passed.
    • The history DTC will clear after 40 consecutive warm-up cycles have occurred without a malfunction.
    • The DTC can be cleared by using a scan tool.

Diagnostic Aids

Inspect for the following conditions:

    •  Excessive deposits on the EGR Pintle or seat-- Remove the EGR valve and check for deposits that may interfere with the EGR valve pintle extending completely or cause the pintle to stick.
    •  Poor connection at the PCM or EGR valve--Inspect harness connectors for:
       - Backed out terminals
       - Improper mating
       - Broken locks
       - Improperly formed or damaged terminals
       - Poor terminal to wire connection
    • Refer to Testing for Intermittent Conditions and Poor Connections in Wiring Systems.
    •  Damaged harness-- Inspect the wiring harness for damage. If the harness appears to be OK, connect a DMM and check the circuit continuity while moving connectors and wiring harnesses related to the EGR valve. A change in the DMM display will indicate the location of the malfunction. Refer to Wiring Repairs in Wiring Systems .

Reviewing the Failure Records vehicle mileage since the diagnostic test last failed may help determine how often the condition that caused the DTC to be set.

Test Description

The numbers below refer to the step numbers on the diagnostic table.

  1. Verifies that the malfunction is present.

  2. If DTC P0404 will only set under certain conditions, the malfunction may be intermittent, refer to Diagnostic Aids. If an intermittent wiring problem is not present, check for a poor connection at the PCM or the EGR valve. If the connections are OK and DTC P0404 continues to set, replace the EGR valve.

  3. This vehicle is equipped with a PCM which utilizes an electrically erasable programmable read only memory (EEPROM). When the PCM is being replaced, the new PCM must be programmed.

DTC P0404 - EGR Valve Stuck Closed

Step

Action

Values

Yes

No

1

Did you perform the Powertrain On-Board Diagnostic (OBD) System Check?

--

Go to Step 2

Go to Powertrain On Board Diagnostic (OBD) System Check

2

Important: :  If any of the following DTCs are set, diagnose the other DTCs first.

  1. Turn ON the ignition switch.
  2. Select the scan tool EGR valve output control function.
  3. Increment the EGR valve through all positions while comparing the Desired EGR Position to Actual EGR Position.

Does the Desired EGR Position remain close to Actual EGR Position at all commanded positions?

--

Go to Step 3

Go to Step 4

3

  1. Review and record the scan tool Failure Records data.
  2. Operate the vehicle within the Failure Records conditions.
  3. Using a scan tool, monitor Specific DTC info for DTC P0404.

Does the scan tool indicate DTC P0404 failed this ignition?

--

Go to Step 4

Go to Diagnostic Aids

4

  1. Disconnect the EGR valve.
  2. Connect a DMM to measure voltage between the EGR pintle position sensor ground circuit and the 5 Volt Reference A circuit at the EGR valve connector.

Is the voltage at the specified value?

5.0 V

Go to Step 5

Go to Step 10

5

Probe the EGR pintle position signal circuit at the EGR valve harness connector with a test lamp connected to battery positive voltage.

Is the test lamp on?

--

Go to Step 8

Go to Step 6

6

  1. Connect a jumper between the 5 volt reference A circuit and the EGR pintle position signal circuit at the EGR valve connector.
  2. Observe the Actual EGR Position on the scan tool.

Is the Actual EGR Position at the specified value?

100%

Go to Step 9

Go to Step 7

7

  1. Turn OFF the ignition switch.
  2. Disconnect the PCM.
  3. Check the EGR pintle position signal circuit for an open.
  4. If a problem is found, repair as necessary. Refer to Wiring Repairs in Wiring Systems.

Did you find and correct the condition?

--

Go to Step 17

Go to Step 15

8

  1. Turn OFF the ignition switch.
  2. Disconnect the PCM.
  3. Probe the EGR pintle position signal circuit with a test lamp to battery positive voltage.

Is the test lamp on?

--

Go to Step 13

Go to Step 14

9

  1. Test for poor terminal connections at the EGR valve.
  2. If a problem is found, repair as necessary. Refer to Testing for Continuity and Testing for Intermittent Conditions and Poor Connections in Wiring Systems.

Did you find and correct the condition?

--

Go to Step 17

Go to Step 12

10

  1. Test for the following conditions:
  2. •  5 volt reference A circuit open between the PCM and the EGR valve
    •  5 volt reference A circuit shorted to ground
  3. If a problem is found, repair as necessary. Refer to Wiring Repairs in Wiring Systems.

Did you find and correct the condition?

--

Go to Step 17

Go to Step 11

11

  1. Test for the following conditions:
  2. •  EGR pintle position sensor ground circuit open
    •  EGR pintle position sensor ground circuit shorted to voltage
  3. If a problem is found, repair as necessary. Refer to Wiring Repairs in Wiring Systems.

Did you find and correct the condition?

--

Go to Step 17

Go to Step 15

12

Replace the EGR valve.

Is the action complete?

--

Go to Step 17

--

13

Locate and correct the short to ground in the EGR pintle position signal circuit. Refer to Wiring Repairs in Wiring Systems.

Did you find and correct the condition?

--

Go to Step 17

--

14

  1. Check the EGR pintle position signal circuit for a short to the EGR pintle position sensor ground circuit.
  2. If a problem is found, repair as necessary. Refer to Wiring Repairs in Wiring Systems.

Did you find and correct the condition?

--

Go to Step 17

Go to Step 16

15

  1. Test the circuits related to the EGR valve for poor terminal connections at the PCM.
  2. If a problem is found, repair as necessary. Refer to Connector Repairs and Testing for Intermittent Conditions and Poor Connections in Wiring Systems.

Did you find and correct the condition?

--

Go to Step 17

Go to Step 16

16

Important: :  The replacement PCM must be programmed.

Replace the PCM. Refer to Powertrain Control Module Replacement/Programming .

Did you find and correct the condition?

--

Go to Step 17

--

17

  1. Review and record the scan tool Failure Records data.
  2. Clear the DTCs.
  3. Operate the vehicle within the Failure Records conditions.
  4. Using a scan tool, monitor Specific DTC info for DTC P0404.

Does the scan tool indicate DTC P0404 failed this ignition?

--

Go to Step 2

System OK