GM Service Manual Online
For 1990-2009 cars only

SMU - SECTION 6A8 - REVISED CRANKSHAFT MAIN

SUBJECT: SERVICE MANUAL UPDATE - SECTION 6A8 - REVISED CRANKSHAFT MAIN BEARING CAP REMOVAL AND REVISED CRANKSHAFT REAR MAIN OIL SEAL HOUSING SERVICE PROCEDURE

MODELS: 1995 BUICK PARK AVENUE AND RIVIERA 1995 OLDSMOBILE NINETY EIGHT AND EIGHTY EIGHT 1995 PONTIAC BONNEVILLE WITH 3800 ENGINE (VIN K - RPO L36)

THE PROCEDURE FOR REMOVING THE MAIN BEARING CAPS AND FOR SERVICING THE REAR MAIN OIL SEAL HOUSING HAS BEEN REVISED. SPECIAL TOOLS HAVE BEEN DESIGNED FOR EACH FUNCTION, CAP REMOVAL AND HOUSING SERVICE.

FOR THE MAIN BEARING CAP REMOVAL, SPECIAL TOOL J41348 WORKS ALONG WITH J6125-B TO SERVICE THE **NEW SIDE BOLTED** MAIN BEARING CAPS. J41348 WILL BE AVAILABLE FROM KENT-MOORE ABOUT DECEMBER 1, 1994.

SPECIAL TOOL J41349 HAS BEEN DESIGNED TO PROPERLY SERVICE THE REAR MAIN OIL SEAL HOUSING. J41349 IS REQUIRED TO ASSURE ALIGNMENT TO CRANKSHAFT CENTERLINE IS HELD DURING INSTALLATION OF THE HOUSING. IF THIS SPECIFICATION IS NOT MET, AN OIL LEAK MAY OCCUR. J41349 WILL BE AVAILABLE FROM KENT-MOORE ABOUT DECEMBER 1, 1994.

REVISED CRANKSHAFT MAIN BEARING CAP REMOVAL

TOOLS REQUIRED: J6125-B SLIDE HAMMER J36660 TORQUE ANGLE METER J41348 MAIN BEARING CAP PULLER

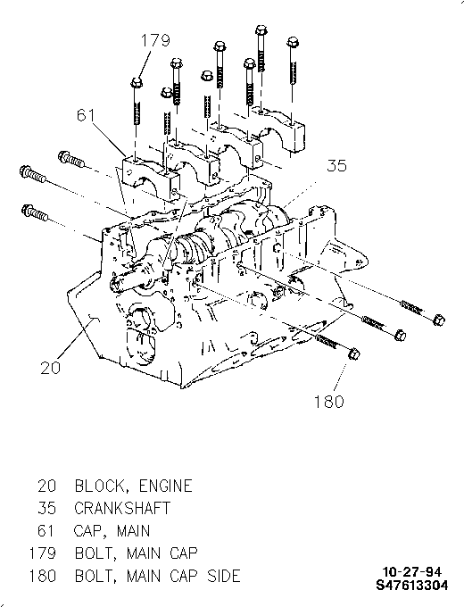
**REMOVE OR DISCONNECT** 1. OIL PAN. REFER TO APPLICABLE SERVICE MANUAL. 2. OIL PUMP SCREEN ASSEMBLY. NOTICE: THIS ENGINE USES SIDE BOLTS ON ALL MAIN BEARING CAPS, EXCEPT NUMBER 4 CAP. 3. MAIN BEARING CAP SIDE BOLTS, NUMBER 4 MAIN DOES NOT HAVE SIDE BOLTS (FIGURE 1).

FIGURE 1 - CRANKSHAFT AND BEARINGS (GS0036A8)

4. MAIN BEARING CAP BOLTS. 5. INSERT J41348 INTO MAIN CAP BOLT HOLES (FIGURE 2).

FIGURE 2 - REMOVING MAIN BEARING CAPS USING J41348 (FS028136)

6. INSTALL J6125-B TO J41348. 7. USING THE SLIDE HAMMER MOTION OF J6125-B, REMOVE THE MAIN BEARING CAP. REPEAT THIS PROCEDURE FOR THE REMAINING MAIN CAPS.

**INSTALL OR CONNECT** 1. MAIN BEARING CAPS. 2. MAIN BEARING CAP AND SIDE MAIN BOLTS. NOTICE: THIS BOLT IS DESIGNED TO PERMANENTLY STRETCH WHEN TIGHTENED. THE CORRECT PART NUMBER FASTENER MUST BE USED TO REPLACE THIS TYPE FASTENER. DO NOT USE A BOLT THAT IS STRONGER IN THIS APPLICATION. IF THE CORRECT BOLT IS NOT USED, THE PARTS WILL NOT BE TIGHTENED CORRECTLY. PART OR SYSTEM DAMAGE MAY OCCUR. **TIGHTEN** - START MAIN CAP BOLTS BY HAND. MAKE SURE BOTTOM OF CAP IS PARALLEL TO BOTTOM OF CHANNEL. TIGHTEN ALL CAPS IN EQUAL INCREMENTS. DO NOT TIGHTEN ONE CAP COMPLETELY AT A TIME. TIGHTEN BOLTS TO 70 N.M (52 LBS. FT.). LOOSEN BOLTS 360 DEGREES COUNTERCLOCKWISE, THEN TIGHTEN BOLTS TO 20 N.M (15 LBS. FT.) THEN 40 N.M (29 LBS. FT.). USING J36660, TIGHTEN BOLTS IN STEPS: 35 DEGREES + 35 DEGREES + 40 DEGREES FOR A TOTAL OF 110 DEGREES. - SIDE BOLTS TO 15 N.M (11 LBS. FT.) + 45 DEGREES USING J36660. 3. OIL PUMP SCREEN ASSEMBLY. 4. OIL PAN. REFER TO APPLICABLE SERVICE MANUAL.

REVISED CRANKSHAFT REAR MAIN OIL SEAL HOUSING SERVICE PROCEDURE

TOOLS REQUIRED: J36660 TORQUE ANGLE METER J38196 REAR MAIN OIL SEAL INSTALLER J41349 CRANKSHAFT REAR MAIN OIL SEAL HOUSING ALIGNING TOOL

**REMOVE OR DISCONNECT** 1. FLYWHEEL. REFER TO APPLICABLE SERVICE MANUAL. 2. OIL PAN. REFER TO APPLICABLE SERVICE MANUAL. 3. HOUSING BOLTS; BOLTS SHOULD STAY IN HOUSING ASSEMBLY (FIGURE 3). 4. HOUSING ASSEMBLY. 5. OIL SEAL FROM HOUSING.

FIGURE 3 - CRANKSHAFT REAR MAIN OIL SEAL HOUSING (FS030136)

**CLEAN** - GASKET MATERIAL FROM HOUSING AND BLOCK.

**INSTALL OR CONNECT** 1. MAKE SURE OIL SEAL IS REMOVED FROM HOUSING. 2. CLEAN OLD GASKET FROM HOUSING. 3. NEW GASKET OVER HOUSING BOLTS TO AID IN PROPER ALIGNMENT OF GASKET. NOTICE: CORRECT ALIGNMENT OF HOUSING IS CRUCIAL TO SEALABILITY OF REAR MAIN AND OIL PAN. TAKE CARE WHEN INSTALLING HOUSING TO ASSURE HOUSING IS PROPERLY ALIGNED. FAILURE TO FOLLOW THESE PROCEDURES MAY RESULT IN OIL LEAKS. 4. HOUSING AND FINGER TIGHTEN ALL BOLTS (BOLT SHOULD BE JUST LOOSE ENOUGH TO ADJUST HOUSING) TO HOLD HOUSING IN PLACE. MAKE SURE GASKET IS NOT HIGHER THAN THE HOUSING. - PLASTIC INSERTS IN HOUSING ASSEMBLY ARE USED AS AN ASSEMBLY AID ONLY AND ARE NOT REQUIRED FOR SERVICE. 5. WIPE A THIN FILM OF OIL ON BOTH SIDES OF J41349 TO AID IN INSTALLATION AND REMOVAL FROM CRANKSHAFT. INSTALL J41349 OVER CRANKSHAFT. TWISTING OR TURNING J41349 AIDS IN SLIDING IT COMPLETELY OVER THE CRANKSHAFT (FIGURE 4).

FIGURE 4 - CRANKSHAFT REAR MAIN OIL SEAL ALIGNING TOOL (J41349) (FS052136)

6. PLACE A STRAIGHT EDGE ON THE CYLINDER BLOCK OIL PAN FLANGE AND THE HOUSING FLANGE. USE A FEELER GAGE TO MAKE SURE THERE IS NO MORE THAN 0.004 INCH STEP (HIGH OR LOW) ON EACH SIDE. ROTATE THE HOUSING TO GET THE STEP EQUAL ON EACH SIDE, IF NECESSARY. IF THE HOUSING CANNOT BE ROTATED TO GET WITHIN THE SPECIFICATION, REPLACE WITH A NEW HOUSING. **TIGHTEN** - HOUSING BOLTS TO 15 N.M + 50 DEGREES (11 LBS. FT. + 50 DEGREES). 7. REMOVE J41349. 8. RECHECK STEP HEIGHT ON EACH SIDE TO MAKE SURE HOUSING DID NOT MOVE WHILE TIGHTENING BOLTS. IF STEP HEIGHT IS BEYOND SPECIFICATION, REPEAT STEPS 4 THROUGH 7 AND MEASURE AGAIN. IF EXCESSIVE CLEARANCE IS STILL PRESENT, REPLACE HOUSING. 9. REAR MAIN OIL SEAL USING J38196. 10. OIL PAN AND BOLTS. **TIGHTEN** - OIL PAN BOLTS TO 14 N.M (125 LBS. IN.). 11. FLYWHEEL. REFER TO APPLICABLE SERVICE MANUAL.

FIGURES: 4


Object Number: 93604  Size: MF


Object Number: 93603  Size: MF


Object Number: 93950  Size: MF


Object Number: 93602  Size: MF

GENERAL MOTORS BULLETINS ARE INTENDED FOR USE BY PROFESSIONAL TECHNICIANS, NOT A "DO-IT-YOURSELFER". THEY ARE WRITTEN TO INFORM THOSE TECHNICIANS OF CONDITIONS THAT MAY OCCUR ON SOME VEHICLES, OR TO PROVIDE INFORMATION THAT COULD ASSIST IN THE PROPER SERVICE OF A VEHICLE. PROPERLY TRAINED TECHNICIANS HAVE THE EQUIPMENT, TOOLS, SAFETY INSTRUCTIONS AND KNOW-HOW TO DO A JOB PROPERLY AND SAFELY. IF A CONDITION IS DESCRIBED, DO NOT ASSUME THAT THE BULLETIN APPLIES TO YOUR VEHICLE, OR THAT YOUR VEHICLE WILL HAVE THAT CONDITION. SEE A GENERAL MOTORS DEALER SERVICING YOUR BRAND OF GENERAL MOTORS VEHICLE FOR INFORMATION ON WHETHER YOUR VEHICLE MAY BENEFIT FROM THE INFORMATION.

COPYRIGHT 1994. GENERAL MOTORS CORPORATION. ALL RIGHTS RESERVED.