GM Service Manual Online
For 1990-2009 cars only
Makes
🢒
Buick
🢒
1996
🢒
LeSabre
🢒
Engine
🢒
Engine Controls - 3.8L
🢒 Emission Hose Routing Diagram
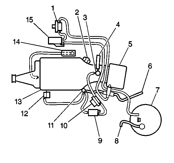
Figure
1:
Pontiac H-Car with VIN 1
(1)
EVAP Vacuum Switch
(2)
PCV Valve
(3)
To Accessory
(4)
To Vacuum Brake Booster
(5)
Throttle Body
(6)
To Transaxle
(7)
EVAP Canister
(8)
To Fuel Tank
(9)
Supercharger Bypass Solenoid (Boost Control Solenoid)
(10)
Supercharger Bypass Actuator (Bypass Valve Actuator)
(11)
Manifold Vacuum Source
(12)
Fuel Pressure Regulator
(13)
Supercharger Assembly
(14)
MAP Sensors (2)
(15)
EVAP Canister Purge Valve
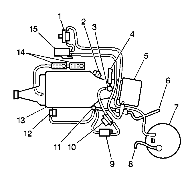
Figure
2:
C/H-Car with VIN 1
(1)
EVAP Vacuum Switch
(2)
PCV Valve
(3)
To Accessory
(4)
To Vacuum Brake Booster
(5)
Throttle Body
(6)
To Transaxle
(7)
EVAP Canister
(8)
To Fuel Tank
(9)
Supercharger Bypass Solenoid (Boost Control Solenoid)
(10)
Supercharger Bypass Actuator (Bypass Valve Actuator)
(11)
Manifold Vacuum Source
(12)
Fuel Pressure Regulator
(13)
Supercharger Assembly
(14)
MAP Sensor
(15)
EVAP Canister Purge Valve
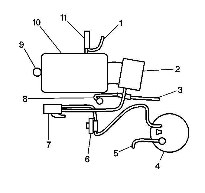
Figure
3:
C-Car with VIN K
(1)
To Accessory
(2)
Throttle Body
(3)
To Transaxle
(4)
EVAP Canister
(5)
To Fuel Tank
(6)
EVAP Vacuum Switch
(7)
EVAP Canister Purge Valve
(8)
Fuel Pressure Regulator
(9)
PCV Valve
(10)
Intake Manifold
(11)
To Vacuum Brake Booster
Figure
4:
H-Car with VIN K
(1)
Intake Manifold
(2)
To Vacuum Brake Booster
(3)
To Vacuum Storage Tank
(4)
Throttle Body
(5)
To Transaxle
(6)
EVAP Canister
(7)
To Fuel Tank
(8)
To Vent Solenoid
(9)
EVAP Service Port
(10)
EVAP Canister Purge Valve
(11)
Fuel Pressure Regulator
(12)
PCV Valve