GM Service Manual Online
For 1990-2009 cars only

Programmer Replacement Buick, Oldsmobile

Removal Procedure

  1. Remove the I/P compartment. Refer to Instrument Panel Storage Compartment Replacement in Instrument Panel, Gauges and Console.
  2. Remove the right sound insulator. Refer to Instrument Panel Insulator Panel Replacement - Right Side in Instrument Panel, Gauges and Console.

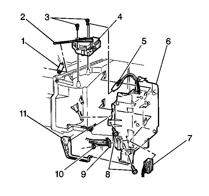
  3. Object Number: 327297  Size: SH
  4. Disconnect the electrical connectors (7).
  5. Disconnect the vacuum connectors (9).
  6. Remove the rod from the driver temperature valve link (11).
  7. Remove the screws (8) that mount the programmer (6) to the vehicle.
  8. Remove the programmer (6).

Installation Procedure


    Object Number: 327297  Size: SH
  1. Install the programmer (6) into position.
  2. Notice: Use the correct fastener in the correct location. Replacement fasteners must be the correct part number for that application. Fasteners requiring replacement or fasteners requiring the use of thread locking compound or sealant are identified in the service procedure. Do not use paints, lubricants, or corrosion inhibitors on fasteners or fastener joint surfaces unless specified. These coatings affect fastener torque and joint clamping force and may damage the fastener. Use the correct tightening sequence and specifications when installing fasteners in order to avoid damage to parts and systems.

  3. Install the screws (8) in order to secure the programmer (6).
  4. Tighten
    Tighten the screws to 1.4 N·m (12 lb in).

  5. Connect the electrical connectors (7).
  6. Connect the vacuum connectors (9).
  7. Install the rod to the driver temperature valve link (11).
  8. Adjust the rod to the temperature valve link. Refer to Temperature Valve Link Adjustment .
  9. Install the right sound insulator. Refer to Instrument Panel Insulator Panel Replacement - Right Side in Instrument Panel, Gauges and Console.
  10. Install the I/P compartment. Refer to Instrument Panel Storage Compartment Replacement in Instrument Panel, Gauges and Console.

Programmer Replacement Pontiac

Removal Procedure

  1. Remove the right sound insulator. Refer to Instrument Panel Insulator Panel Replacement - Right Side in Instrument Panel, Gauges and Console.

  2. Object Number: 327303  Size: SH
  3. Disconnect the vacuum connectors (9) from the programmer (1).
  4. Disconnect the side electrical connector.
  5. Remove the rod from the temperature valve link.
  6. Remove the screws that attach the programmer to the vehicle.
  7. Disconnect the actuator connector from the temperature valve.
  8. Remove the programmer (1).

Installation Procedure


    Object Number: 327303  Size: SH
  1. Install the programmer (1) into position.
  2. Connect the actuator connector to the temperature valve.
  3. Notice: Use the correct fastener in the correct location. Replacement fasteners must be the correct part number for that application. Fasteners requiring replacement or fasteners requiring the use of thread locking compound or sealant are identified in the service procedure. Do not use paints, lubricants, or corrosion inhibitors on fasteners or fastener joint surfaces unless specified. These coatings affect fastener torque and joint clamping force and may damage the fastener. Use the correct tightening sequence and specifications when installing fasteners in order to avoid damage to parts and systems.

  4. Install the screws in order to attach the programmer (1) to the vehicle.
  5. Tighten
    Tighten the screws to 1.4 N·m (12 lb in).

  6. Connect the vacuum connector (2) to the programmer (1).
  7. Connect the side electrical connector to the programmer (1).
  8. Install the temperature valve link rod to the air mix valve.
  9. Adjust the rod to the temperature valve link. Refer to Temperature Valve Link Adjustment .
  10. Install the right sound insulator. Refer to Instrument Panel Insulator Panel Replacement - Right Side in Instrument Panel, Gauges and Console.