GM Service Manual Online
For 1990-2009 cars only
Makes
🢒
Buick
🢒
1999
🢒
LeSabre
🢒 Cell 138
Cell 138
Cell 138
Power Distribution Schematics
Power Distribution Schematics
Headlights Schematics Buick
Headlights Schematics Oldsmobile
Headlights Schematics Pontiac
Keyless Entry Schematics
Memory Seats Schematics Oldsmobile w/ A43
Ground Distribution Schematics
Ground Distribution Schematics
Tilt Wheel/Column Components
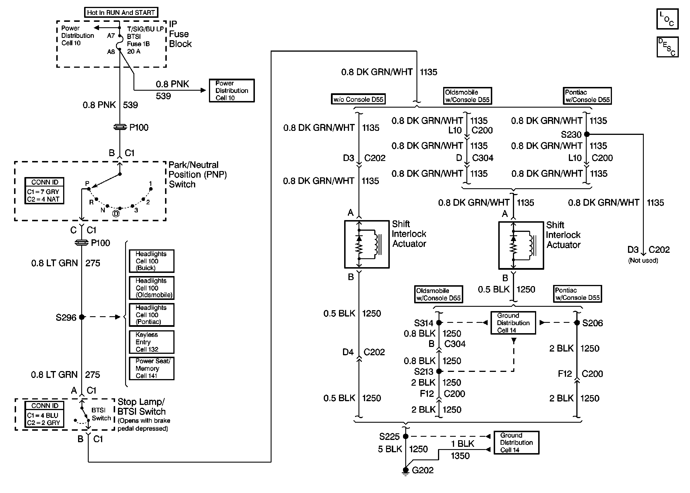
Automatic Transmission Shift Lock Control Circuit Description
Tilt Wheel/Column Connector End Views
Engine Controls Connector End Views