GM Service Manual Online
For 1990-2009 cars only

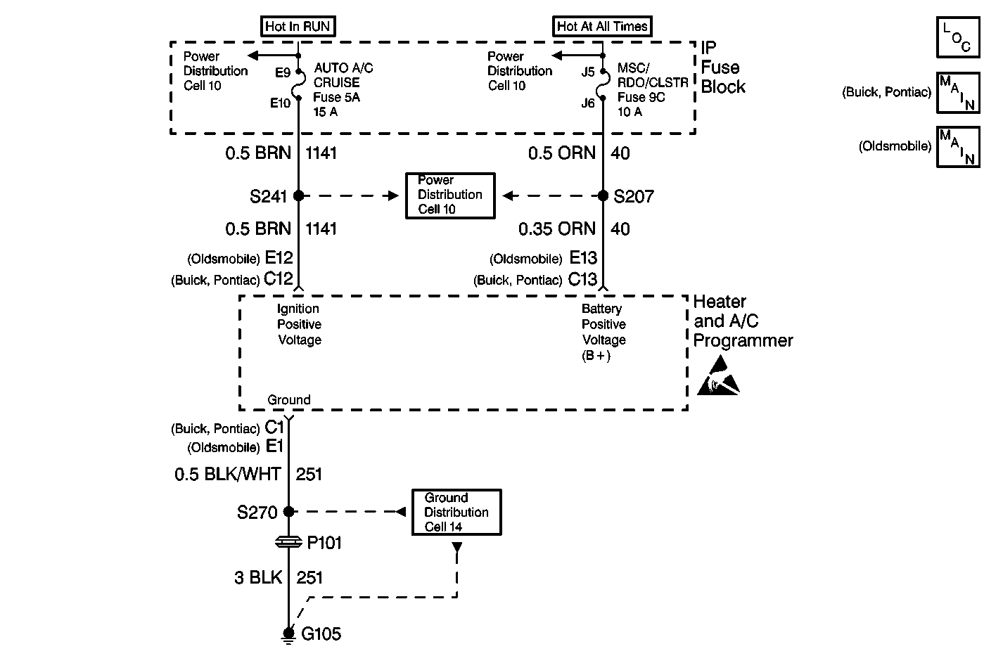
Object Number: 387874  Size: MF
HVAC Components
HVAC Air Delivery Schematics (Cell 68: IP Fuse Block, DLC - Pontiac)
HVAC Air Delivery Schematics (Cell 68: IP Fuse Block, DLC - Buick)
Handling ESD Sensitive Parts Notice

Circuit Description

The HVAC programmer receives battery voltage through circuit 40 from the I/P fuse block , fuse 9C.

Conditions for Running the DTC

    • The ignition is ON.
    • The circuit is open or shorted.

Action Taken When the DTC Sets

    • Code 052 is set.
    • The HVAC programmer will not operate.

Conditions for Clearing the DTC

    • Using a Scan Tool .
    • A history DTC will clear when 40 consecutive ignition cycles have occurred without a malfunction.

Step

Action

Value(s)

Yes

No

1

Was the battery disconnected or recently discharged?

--

Go to Step 2

Go to Step 3

2

Use Scan Tool to clear the DTC.

Is the DTC clear?

--

System OK

--

3

Use the Scan Tool in order to clear DTC 052.

Does the DTC reset when cleared?

--

Go to Step 4

System OK

4

Inspect the IP fuse block fuse 9C.

Is the fuse OK?

--

Go to Step 7

Go to Step 5

5

Check CKT 40 for a short to ground.

Refer to Testing for Short to Ground in Wiring Systems.

Did you find a short?

--

Go to Step 6

Go to Step 7

6

Repair the short to ground in CKT 40.

Refer to Wiring Repairs in Wiring Systems.

Is the repair complete?

--

System OK

--

7

  1. Turn the ignition switch to the OFF position.
  2. Disconnect the HVAC programmer.
  3. Measure the voltage between the following HVAC harness connector terminals:
  4. Refer to Measuring Voltage in Wiring Systems.

    • For Oldsmobile and Buick, measure between terminal E1 and terminal E13.
    • For Pontiac, measure between terminal C1 and terminal C13.

Refer to Measuring Voltage in Wiring Systems.

Is battery voltage present?

--

Go to Step 8

Go to Step 9

8

  1. Inspect the HVAC programmer connector for proper terminal contact. Refer to Intermittents and Poor Connections .
  2. If the contact is OK, replace the HVAC programmer. Refer to Programmer Replacement .

Is the repair complete?

--

System OK

--

9

Repair the open in CKT 40.

Refer to Wiring Repairs in Wiring Systems.

Is the repair complete?

--

System OK

--